对于HTTP服务来说,不同的URL地址经常对应到不同的后端服务,Ingress类型资源可以满足此类需求。
什么是Ingress
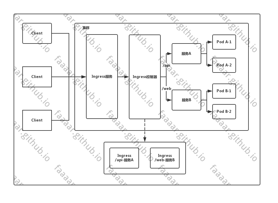
简单说,是一个代理,可以根据配置转发请求到指定的服务上。
为什么需要Ingress资源
由于K8S集群拥有强大的副本控制能力,Pod随时可能从一个节点上被驱逐到另一个节点上,或者直接销毁再来一个新的。
然而伴随着Pod的销毁和重生,Pod的IP等信息不断地在改变,此时使用K8S提供的Service机制可以解决这一问题,Service通过标签选定指定的Pod作为后端服务,并监听这些Pod的变化。
在对外暴露服务时,使用Service的NodePort是一个方法
问题1 - 如何管理端口
当需要对外暴露的服务量比较多的时候,端口管理的问题便会暴露出来。
此时的一个处理方案是使用一个代理服务(例如Nginx)根据请求信息将请求转发到不同的服务上去。
问题2 - 如何管理转发配置
每当有新服务加入,都需要对该服务的配置进行修改、升级,在服务数量逐渐变多后,该配置项目会变得越来越大,手工修改的风险也会逐渐增高。
那么需要一个工具来简化这一过程,希望可以通过简单的配置动态生成代理中复杂的配置,最好还可以顺手重新加载配置文件。
K8S刚好也提供了此类型资源。
Ingress的工作方式
在使用普通的Service时,集群中每个节点的kube-proxy在监听到Service和Endpoints的变化时,会动态的修改相关的iptables的转发规则。 客户端在访问时通过iptables设置的规则进行路由转发达到访问服务的目的。
而Ingress则跳过了kube-proxy这一层,通过Ingress Controller中的代理配置进行路由转发达到访问目标服务的目的。

实际上可以把IngressController看做一个拥有默认处理后端的代理,根据Ingress资源的配置动态修改代理的配置文件,以实现按照规则转发请求的功能。
Ingress配置项
type Ingress struct {
metav1.TypeMeta `json:",inline"`
metav1.ObjectMeta `json:"metadata,omitempty"`
// Ingess配置。
Spec IngressSpec `json:"spec,omitempty"`
// Ingress资源当前状态。
Status IngressStatus `json:"status,omitempty"`
}
type IngressSpec struct {
// 默认的后端服务,当不匹配所有的Ingress规则的时候使用。
// 一般情况默认后端都在Ingress控制器中配置,该字段不进行声明配置。
// 如果没有主机或路径与 Ingress 对象中的 HTTP 请求匹配,则流量将路由到您的默认后端。
Backend *IngressBackend `json:"backend,omitempty"`
// TLS配置。目前Ingress只支持443一种TLS端口。
// 如果列表中有多个不同的hosts,将会在ingress controller支持SNI的情况下,
// 通过使用SNI TLS扩展中声明的主机名,在同个端口下使用多路复用。
TLS []IngressTLS `json:"tls,omitempty"`
// Ingress的规则。未匹配到规则列表中规则的请求将会被转发到默认后端上。
Rules []IngressRule `json:"rules,omitempty"`
}
type IngressBackend struct {
// 服务名。
ServiceName string `json:"serviceName"`
// 服务的端口。
ServicePort intstr.IntOrString `json:"servicePort"`
}
type IngressRule struct {
// 域名。
// 不能使用IP地址,不能使用端口。对HTTP服务使用80端口,HTTPS服务使用443端口。
Host string `json:"host,omitempty"`
// 域名下的具体转发规则。
// 未定义的情况下会将请求转发至默认后端。
IngressRuleValue `json:",inline,omitempty"`
}
type IngressRuleValue struct {
HTTP *HTTPIngressRuleValue `json:"http,omitempty"`
}
type HTTPIngressRuleValue struct {
Paths []HTTPIngressPath `json:"paths"`
}
type HTTPIngressPath struct {
// 匹配的路径,必须以/为开头。
// 未定义的情况下会将请求转发至默认后端。
Path string `json:"path,omitempty"`
// 处理请求的后端服务。
Backend IngressBackend `json:"backend"`
}
部署使用Ingress
具体的创建步骤为
- 创建RBAC,为IngressController提供指定权限
- 创建IngressController,处理、分发请求到不同的服务
- 创建Ingess资源
创建RBAC资源
创建ServiceAccount、集群角色、角色,并进行绑定操作。
最开始尝试了未配置ServiceAccount的情况,发现nginx-ingress-controller启动时会报没有权限。
# work @ ali in ~/k8s/ingress_newest [16:40:39] C:1
$ kubectl get pods -n ingress-nginx
NAME READY STATUS RESTARTS AGE
nginx-ingress-controller-5bd975597-7wcvh 0/1 CrashLoopBackOff 2 41s
# work @ ali in ~/k8s/ingress_newest [16:40:42]
$ kubectl logs nginx-ingress-controller-5bd975597-7wcvh -n ingress-nginx
-------------------------------------------------------------------------------
NGINX Ingress controller
Release: 0.28.0
Build: git-1f93cb8f3
Repository: https://github.com/kubernetes/ingress-nginx
nginx version: nginx/1.17.7
-------------------------------------------------------------------------------
W0215 08:40:45.986921 6 flags.go:250] SSL certificate chain completion is disabled (--enable-ssl-chain-completion=false)
W0215 08:40:45.987053 6 client_config.go:543] Neither --kubeconfig nor --master was specified. Using the inClusterConfig. This might not work.
I0215 08:40:45.987390 6 main.go:193] Creating API client for https://10.96.0.1:443
I0215 08:40:46.009124 6 main.go:237] Running in Kubernetes cluster version v1.17 (v1.17.0) - git (clean) commit 70132b0f130acc0bed193d9ba59dd186f0e634cf - platform linux/amd64
F0215 08:40:46.014744 6 main.go:87] ✖ The cluster seems to be running with a restrictive Authorization mode and the Ingress controller does not have the required permissions to operate normally.
创建服务账号、集群角色、角色等内容,并进行相关绑定。 实际上对此部分内容目前也只是看的明白他在写啥...具体为什么需要这些权限、为什么这样绑定,留坑后面学习了解了权限相关的内容后再说。
# 后续的资源都在ingress-nginx空间内,此处需要提前创建好命名空间
apiVersion: v1
kind: Namespace
metadata:
name: ingress-nginx
labels:
app.kubernetes.io/name: ingress-nginx
app.kubernetes.io/part-of: ingress-nginx
---
apiVersion: v1
kind: ServiceAccount
metadata:
name: nginx-ingress-serviceaccount
namespace: ingress-nginx
labels:
app.kubernetes.io/name: ingress-nginx
app.kubernetes.io/part-of: ingress-nginx
---
apiVersion: rbac.authorization.k8s.io/v1beta1
kind: ClusterRole
metadata:
name: nginx-ingress-clusterrole
labels:
app.kubernetes.io/name: ingress-nginx
app.kubernetes.io/part-of: ingress-nginx
rules:
- apiGroups:
- ""
resources:
- configmaps
- endpoints
- nodes
- pods
- secrets
verbs:
- list
- watch
- apiGroups:
- ""
resources:
- nodes
verbs:
- get
- apiGroups:
- ""
resources:
- services
verbs:
- get
- list
- watch
- apiGroups:
- ""
resources:
- events
verbs:
- create
- patch
- apiGroups:
- "extensions"
- "networking.k8s.io"
resources:
- ingresses
verbs:
- get
- list
- watch
- apiGroups:
- "extensions"
- "networking.k8s.io"
resources:
- ingresses/status
verbs:
- update
---
apiVersion: rbac.authorization.k8s.io/v1beta1
kind: Role
metadata:
name: nginx-ingress-role
namespace: ingress-nginx
labels:
app.kubernetes.io/name: ingress-nginx
app.kubernetes.io/part-of: ingress-nginx
rules:
- apiGroups:
- ""
resources:
- configmaps
- pods
- secrets
- namespaces
verbs:
- get
- apiGroups:
- ""
resources:
- configmaps
resourceNames:
# Defaults to "<election-id>-<ingress-class>"
# Here: "<ingress-controller-leader>-<nginx>"
# This has to be adapted if you change either parameter
# when launching the nginx-ingress-controller.
- "ingress-controller-leader-nginx"
verbs:
- get
- update
- apiGroups:
- ""
resources:
- configmaps
verbs:
- create
- apiGroups:
- ""
resources:
- endpoints
verbs:
- get
---
apiVersion: rbac.authorization.k8s.io/v1beta1
kind: RoleBinding
metadata:
name: nginx-ingress-role-nisa-binding
namespace: ingress-nginx
labels:
app.kubernetes.io/name: ingress-nginx
app.kubernetes.io/part-of: ingress-nginx
roleRef:
apiGroup: rbac.authorization.k8s.io
kind: Role
name: nginx-ingress-role
subjects:
- kind: ServiceAccount
name: nginx-ingress-serviceaccount
namespace: ingress-nginx
---
apiVersion: rbac.authorization.k8s.io/v1beta1
kind: ClusterRoleBinding
metadata:
name: nginx-ingress-clusterrole-nisa-binding
labels:
app.kubernetes.io/name: ingress-nginx
app.kubernetes.io/part-of: ingress-nginx
roleRef:
apiGroup: rbac.authorization.k8s.io
kind: ClusterRole
name: nginx-ingress-clusterrole
subjects:
- kind: ServiceAccount
name: nginx-ingress-serviceaccount
namespace: ingress-nginx
---
创建Ingress Controller
该控制器将不同的请求根据URI转发至不同的服务进行处理。
个人理解实际上在此位置的服务,只要包含一个代理程序,和一个监听ingress资源变更动态修改该代理程序配置文件的程序即可。 例如此处使用的nginx代理,当集群中Ingress资源发生变动时,动态修改nginx.conf配置,并重新加载配置文件,以实现转发请求的目的。
for {
// 监听集群中Ingress资源的变动
// 修改代理配置文件
// 重新加载配置文件
}
apiVersion: apps/v1
kind: Deployment
metadata:
name: nginx-ingress-controller
namespace: ingress-nginx
labels:
app.kubernetes.io/name: ingress-nginx
app.kubernetes.io/part-of: ingress-nginx
spec:
replicas: 1
selector:
matchLabels:
app.kubernetes.io/name: ingress-nginx
app.kubernetes.io/part-of: ingress-nginx
template:
metadata:
labels:
app.kubernetes.io/name: ingress-nginx
app.kubernetes.io/part-of: ingress-nginx
annotations:
prometheus.io/port: "10254"
prometheus.io/scrape: "true"
spec:
# wait up to five minutes for the drain of connections
terminationGracePeriodSeconds: 300
serviceAccountName: nginx-ingress-serviceaccount
nodeSelector:
kubernetes.io/os: linux
containers:
- name: nginx-ingress-controller
image: quay.io/kubernetes-ingress-controller/nginx-ingress-controller:0.28.0
args:
- /nginx-ingress-controller
- --configmap=$(POD_NAMESPACE)/nginx-configuration
- --tcp-services-configmap=$(POD_NAMESPACE)/tcp-services
- --udp-services-configmap=$(POD_NAMESPACE)/udp-services
- --publish-service=$(POD_NAMESPACE)/ingress-nginx
- --annotations-prefix=nginx.ingress.kubernetes.io
securityContext:
allowPrivilegeEscalation: true
capabilities:
drop:
- ALL
add:
- NET_BIND_SERVICE
# www-data -> 101
runAsUser: 101
env:
- name: POD_NAME
valueFrom:
fieldRef:
fieldPath: metadata.name
- name: POD_NAMESPACE
valueFrom:
fieldRef:
fieldPath: metadata.namespace
ports:
- name: http
containerPort: 80
- name: https
containerPort: 443
livenessProbe:
failureThreshold: 3
httpGet:
path: /healthz
port: 10254
scheme: HTTP
initialDelaySeconds: 10
periodSeconds: 10
successThreshold: 1
timeoutSeconds: 10
readinessProbe:
failureThreshold: 3
httpGet:
path: /healthz
port: 10254
scheme: HTTP
periodSeconds: 10
successThreshold: 1
timeoutSeconds: 10
lifecycle:
preStop:
exec:
command:
- /wait-shutdown
---
apiVersion: v1
kind: Service
metadata:
name: ingress-nginx-svc
namespace: ingress-nginx
labels:
app.kubernetes.io/name: ingress-nginx
app.kubernetes.io/part-of: ingress-nginx
spec:
type: NodePort
ports:
- name: http
port: 80
targetPort: 80
protocol: TCP
- name: https
port: 443
targetPort: 443
protocol: TCP
selector:
app.kubernetes.io/name: ingress-nginx
app.kubernetes.io/part-of: ingress-nginx
---
此时该Pod中的nginx有一份默认的配置文件。
其中定义了默认后端、健康检查等请求内容。 实际上也可以通过ingress-nginx-controller的`default-backend-service`参数来指定默认后端。
http {
upstream upstream_balancer {
# ...
}
server {
server_name _ ;
listen 80 default_server reuseport backlog=511 ;
listen 443 default_server reuseport backlog=511 ssl http2 ;
location / {
# ...
}
# health checks in cloud providers require the use of port 80
location /healthz {
access_log off;
return 200;
}
location /nginx_status {
allow 127.0.0.1;
deny all;
access_log off;
stub_status on;
}
}
## end server _
# backend for when default-backend-service is not configured or it does not have endpoints
server {
listen 8181 default_server reuseport backlog=511;
set $proxy_upstream_name "internal";
access_log off;
location / {
return 404;
}
}
# default server, used for NGINX healthcheck and access to nginx stats
server {
listen 127.0.0.1:10246;
set $proxy_upstream_name "internal";
keepalive_timeout 0;
gzip off;
access_log off;
location /healthz {
return 200;
}
# ...
}
}
创建Ingress资源
搞一个简单的服务来测试一下IngressController是否正常工作。
由于默认的nginx配置中只有`/`一个location,所以此配置中的path直接使用了`/`。 但是可以通过ingress-controller的nginx配置文件的变化来验证ingress资源对其的影响。
apiVersion: apps/v1
kind: Deployment
metadata:
name: nginx
spec:
replicas: 1
selector:
matchLabels:
app: nginx
template:
metadata:
labels:
app: nginx
spec:
containers:
- name: nginx
image: nginx
ports:
- name: http
containerPort: 80
---
apiVersion: v1
kind: Service
metadata:
name: nginx
labels:
app: nginx
spec:
ports:
- port: 8080
targetPort: 80
selector:
app: nginx
---
apiVersion: extensions/v1beta1
kind: Ingress
metadata:
name: nginx-ingress
spec:
rules:
- host: ngx.myingress.com #此service的访问域名
http:
paths:
- path: /
backend:
serviceName: nginx
servicePort: 8080
nginx配置文件发生了变化,多了一部分关于`ngx.myingress.com`的配置。
http {
## start server ngx.myingress.com
server {
server_name ngx.myingress.com ;
listen 80 ;
listen 443 ssl http2 ;
set $proxy_upstream_name "-";
location / {
# ...
}
}
## end server ngx.myingress.com
}
绑定ngx.myingress.com到节点IP,然后进行访问,便可以看到对应的页面了。