通过Node.js的Cluster模块源码,深入PM2原理

887 阅读8分钟

Node.js无疑是走向大前端、全栈工程师技术栈最快的捷径(但是一定要会一门其他后台语言,推荐Golang),虽然Node.js做很多事情都做不好,但是在某些方面还是有它的优势。

众所周知,Node.js中的JavaScript代码执行在单线程中,非常脆弱,一旦出现了未捕获的异常,那么整个应用就会崩溃。

这在许多场景下,尤其是web应用中,是无法忍受的。通常的解决方案,便是使用Node.js中自带的cluster模块,以master-worker模式启动多个应用实例。然而大家在享受cluster模块带来的福祉的同时,不少人也开始好奇

1.为什么我的应用代码中明明有app.listen(port);,但cluter模块在多次fork这份代码时,却没有报端口已被占用?

2.Master是如何将接收的请求传递至worker中进行处理然后响应的?

带着这些疑问我们开始往下看

TIPS:

本文编写于2019年12月8日,是最新版本的Node.js源码

Cluster源码解析:

  • 入口 :
const childOrMaster = 'NODE_UNIQUE_ID' in process.env ? 'child' : 'master';

module.exports = require(`internal/cluster/${childOrMaster}`);

  • 分析

会根据一个当前的Node_UNIQUE_ID(后面会讲)是否在环境变量中判断是子进程还是主进程,然后引用不同的js代码

NODE_UNIQUE_ID是一个唯一标示,Node.js的Cluster多进程模式,采用默认的调度算法是round-robin,其实就是轮询.官方解释是实践效率非常高,稳定

之前的问题一: 为什么我的应用代码中明明有app.listen(port);,但cluter模块在多次fork这份代码时,却没有报端口已被占用?

我在Node.js的官网找到了答案:

原来所有的net.Socket都被设置了SO_REUSEADDR

这个SO_REUSEADDR到底是什么呢?

为什么需要 SO_REUSEADDR参数?

服务端主动断开连接以后,需要等 2 个 MSL 以后才最终释放这个连接,重启以后要绑定同一个端口,默认情况下,操作系统的实现都会阻止新的监听套接字绑定到这个端口上。

我们都知道 TCP 连接由四元组唯一确定。形式如下

{local-ip-address:local-port , foreign-ip-address:foreign-port}

一个典型的例子如下图

TCP 要求这样的四元组必须是唯一的,但大多数操作系统的实现要求更加严格,只要还有连接在使用这个本地端口,则本地端口不能被重用(bind 调用失败)

启用 SO_REUSEADDR 套接字选项可以解除这个限制,默认情况下这个值都为 0,表示关闭。在 Java 中,reuseAddress 不同的 JVM 有不同的实现,在我本机上,这个值默认为 1 允许端口重用。但是为了保险起见,写 TCP、HTTP 服务一定要主动设置这个参数为 1。

目前常见的网络编程模型就是多进程或多线程,根据accpet的位置,分为如下场景

2种场景

(1) 单进程或线程创建socket,并进行listenaccept,接收到连接后创建进程和线程处理连接

(2) 单进程或线程创建socket,并进行listen,预先创建好多个工作进程或线程accept()在同一个服务器套接字

这两种模型解充分发挥了多核CPU的优势,虽然可以做到线程和CPU核绑定,但都会存在:

1.单一listener工作进程或线程在高速的连接接入处理时会成为瓶颈

2.多个线程之间竞争获取服务套接字

3.缓存行跳跃

4.很难做到CPU之间的负载均衡

5.随着核数的扩展,性能并没有随着提升

6.SO_REUSEPORT解决了什么问题

7.SO_REUSEPORT支持多个进程或者线程绑定到同一端口,提高服务器程序的性能

解决的问题:

1.允许多个套接字 bind()/listen()同一个TCP/UDP端口

2.每一个线程拥有自己的服务器套接字

3.在服务器套接字上没有了锁的竞争

4.内核层面实现负载均衡

5.安全层面,监听同一个端口的套接字只能位于同一个用户下面

其核心的实现主要有三点:

1.扩展 socket option,增加 SO_REUSEPORT选项,用来设置 reuseport

2.修改 bind 系统调用实现,以便支持可以绑定到相同的 IP 和端口

3.修改处理新建连接的实现,查找 listener的时候,能够支持在监听相同 IP 4.和端口的多个 sock之间均衡选择。

5.有了SO_RESUEPORT后,每个进程可以自己创建socket、bind、listen、accept相同的地址和端口,各自是独立平等的

让多进程监听同一个端口,各个进程中accept socket fd不一样,有新连接建立时,内核只会唤醒一个进程来accept,并且保证唤醒的均衡性。

总结:原来端口被复用是因为设置了SO_REUSEADDR,当然不止这一点,下面会继续描述

回到源码第一行

NODE_UNIQUE_ID是什么?

下面给出介绍:


function createWorkerProcess(id, env) {
  // ...
  workerEnv.NODE_UNIQUE_ID = '' + id;
​
​
  // ...
  return fork(cluster.settings.exec, cluster.settings.args, {
    env: workerEnv,
    silent: cluster.settings.silent,
    execArgv: execArgv,
    gid: cluster.settings.gid,
    uid: cluster.settings.uid
  });
}
​

原来,创建子进程的时候,给了每个进程一个唯一的自增标示ID

随后Node.js在初始化时,会根据该环境变量,来判断该进程是否为cluster模块fork出的工作进程,若是,则执行workerInit()函数来初始化环境,否则执行masterInit()函数

就是这行入口的代码~


module.exports = require(`internal/cluster/${childOrMaster}`);

接下来我们需要看一下net模块的listen函数源码:


// lib/net.js
// ...
​
function listen(self, address, port, addressType, backlog, fd, exclusive) {
  exclusive = !!exclusive;
​
  if (!cluster) cluster = require('cluster');
​
  if (cluster.isMaster || exclusive) {
    self._listen2(address, port, addressType, backlog, fd);
    return;
  }
​
  cluster._getServer(self, {
    address: address,
    port: port,
    addressType: addressType,
    fd: fd,
    flags: 0
  }, cb);
​
  function cb(err, handle) {
    // ...
​
    self._handle = handle;
    self._listen2(address, port, addressType, backlog, fd);
  }
}

仔细一看,原来listen函数会根据是不是主进程做不同的操作!

上面有提到SO_REUSEADDR选项,在主进程调用的_listen2中就有设置。

子进程初始化的每个workerinit函数中,也有cluster._getServer这个方法,

你可能已经猜到,问题一的答案,就在这个cluster._getServer函数的代码中。它主要干了两件事:

  • master进程注册该worker,若master进程是第一次接收到监听此端口/描述符下的worker,则起一个内部TCP服务器,来承担监听该端口/描述符的职责,随后在master中记录下该worker。

  • Hack掉worker进程中的net.Server实例的listen方法里监听端口/描述符的部分,使其不再承担该职责。

对于第一件事,由于master在接收,传递请求给worker时,会符合一定的负载均衡规则(在非Windows平台下默认为轮询),这些逻辑被封装在RoundRobinHandle类中。故,初始化内部TCP服务器等操作也在此处:

// lib/cluster.js
// ...
​
function RoundRobinHandle(key, address, port, addressType, backlog, fd) {
  // ...
  this.handles = [];
  this.handle = null;
  this.server = net.createServer(assert.fail);
​
  if (fd >= 0)
    this.server.listen({ fd: fd });
  else if (port >= 0)
    this.server.listen(port, address);
  else
    this.server.listen(address);  // UNIX socket path.
  /// ...
}

在子进程中:



function listen(backlog) {
    return 0;
  }
​
  function close() {
    // ...
  }
  function ref() {}
  function unref() {}
​
  var handle = {
    close: close,
    listen: listen,
    ref: ref,
    unref: unref,
  }

由于net.Server实例的listen方法,最终会调用自身_handle属性下listen方法来完成监听动作,故在代码中修改之:此时的listen方法已经被hack ,每次调用只能发挥return 0 ,并不会监听端口

// lib/net.js
// ...
function listen(self, address, port, addressType, backlog, fd, exclusive) {
  // ...
​
  if (cluster.isMaster || exclusive) {
    self._listen2(address, port, addressType, backlog, fd);
    return; // 仅在worker环境下改变
  }
​
  cluster._getServer(self, {
    address: address,
    port: port,
    addressType: addressType,
    fd: fd,
    flags: 0
  }, cb);
​
  function cb(err, handle) {
    // ...
    self._handle = handle;
    // ...
  }
}

这里可以看到,传入的回调函数中的handle,已经把listen方法重新定义,返回0,那么等子进程调用listen方法时候,也是返回0,并不会去监听端口,至此,焕然大悟,原来是这样,真正监听端口的始终只有主进程!

上面通过将近3000字讲解,把端口复用这个问题讲清楚了,下面把负载均衡这块也讲清楚。然后再讲PM2的原理实现,其实不过是对cluster模式进行了封装,多了很多功能而已~


首先画了一个流程图

核心实现源码:

function RoundRobinHandle(key, address, port, addressType, backlog, fd) {
  // ...
  this.server = net.createServer(assert.fail);
  // ...
​
  var self = this;
  this.server.once('listening', function() {
    // ...
    self.handle.onconnection = self.distribute.bind(self);
  });
}
​
RoundRobinHandle.prototype.distribute = function(err, handle) {
  this.handles.push(handle);
  var worker = this.free.shift();
  if (worker) this.handoff(worker);
};
​
RoundRobinHandle.prototype.handoff = function(worker) {
  // ...
  var message = { act: 'newconn', key: this.key };
  var self = this;
  sendHelper(worker.process, message, handle, function(reply) {
    // ...
  });

解析

定义好handle对象中的onconnection方法

触发事件时,取出一个子进程通知,传入句柄

子进程接受到消息和句柄后,做相应的业务处理:


// lib/cluster.js
// ...
​
// 该方法会在Node.js初始化时由 src/node.js 调用
cluster._setupWorker = function() {
  // ...
  process.on('internalMessage', internal(worker, onmessage));
​
  // ...
  function onmessage(message, handle) {
    if (message.act === 'newconn')
      onconnection(message, handle);
    // ...
  }
};
​
function onconnection(message, handle) {
  // ...
  var accepted = server !== undefined;
  // ...
  if (accepted) server.onconnection(0, handle);
}

总结下来,负载均衡大概流程:

1.所有请求先同一经过内部TCP服务器,真正监听端口的只有主进程。

2.在内部TCP服务器的请求处理逻辑中,有负载均衡地挑选出一个worker进程,将其发送一个newconn内部消息,随消息发送客户端句柄。

3.Worker进程接收到此内部消息,根据客户端句柄创建net.Socket实例,执行具体业务逻辑,返回。

至此,Cluster多进程模式,负载均衡讲解完毕,下面讲PM2的实现原理,它是基于Cluster模式的封装


PM2的使用:

npm i pm2 -g 
pm2 start app.js 
pm2 ls

这样就可以启动你的Node.js服务,并且根据你的电脑CPU个数去启动相应的进程数,监听到错误事件,自带重启子进程,即使更新了代码,需要热更新,也会逐个替换,号称永动机。

它的功能:

1.内建负载均衡(使用Node cluster 集群模块)

2.后台运行

3.0秒停机重载,我理解大概意思是维护升级的时候不需要停机.

4.具有Ubuntu和CentOS 的启动脚本

5.停止不稳定的进程(避免无限循环)

6.控制台检测

7.提供 HTTP API

8.远程控制和实时的接口API ( Nodejs 模块,允许和PM2进程管理器交互 )


先来一张PM2的架构图:

pm2包括 Satan进程、God Deamon守护进程、进程间的远程调用rpc、cluster等几个概念

如果不知道点西方文化,还真搞不清他的文件名为啥是 SatanGod

撒旦(Satan),主要指《圣经》中的堕天使(也称堕天使撒旦),被看作与上帝的力量相对的邪恶、黑暗之源,是God的对立面。

1.Satan.js提供了程序的退出、杀死等方法,因此它是魔鬼;God.js 负责维护进程的正常运行,当有异常退出时能保证重启,所以它是上帝。作者这么命名,我只能说一句:oh my god。 God进程启动后一直运行,它相当于cluster中的Master进程,守护者worker进程的正常运行。

2.rpc(Remote Procedure Call Protocol)是指远程过程调用,也就是说两台服务器A,B,一个应用部署在A服务器上,想要调用B服务器上应用提供的函数/方法,由于不在一个内存空间,不能直接调用,需要通过网络来表达调用的语义和传达调用的数据。同一机器不同进程间的方法调用也属于rpc的作用范畴。

3.代码中采用了axon-rpc 和 axon 两个库,基本原理是提供服务的server绑定到一个域名和端口下,调用服务的client连接端口实现rpc连接。后续新版本采用了pm2-axon-rpc 和 pm2-axon两个库,绑定的方法也由端口变成.sock文件,因为采用port可能会和现有进程的端口产生冲突。

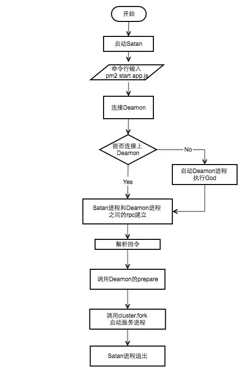
执行流程

程序的执行流程图如下:

每次命令行的输入都会执行一次satan程序。如果God进程不在运行,首先需要启动God进程。然后根据指令,satan通过rpc调用God中对应的方法执行相应的逻辑。

pm2 start app.js -i 4为例,God在初次执行时会配置cluster,同时监听cluster中的事件:


// 配置cluster
cluster.setupMaster({
  exec : path.resolve(path.dirname(module.filename), 'ProcessContainer.js')
});
​
// 监听cluster事件
(function initEngine() {
  cluster.on('online', function(clu) {
    // worker进程在执行
    God.clusters_db[clu.pm_id].status = 'online';
  });
​
  // 命令行中 kill pid 会触发exit事件,process.kill不会触发exit
  cluster.on('exit', function(clu, code, signal) {
    // 重启进程 如果重启次数过于频繁直接标注为stopped
    God.clusters_db[clu.pm_id].status = 'starting';
​
    // 逻辑
    ...
  });
})();

在God启动后, 会建立Satan和God的rpc链接,然后调用prepare方法。prepare方法会调用cluster.fork,完成集群的启动

God.prepare = function(opts, cb) {
  ...
  return execute(opts, cb);
};
function execute(env, cb) {
  ...
  var clu = cluster.fork(env);
  ...
  God.clusters_db[id] = clu;
​
  clu.once('online', function() {
    God.clusters_db[id].status = 'online';
    if (cb) return cb(null, clu);
    return true;
  });
​
  return clu;
}

PM2的功能目前已经特别多了,源码阅读非常耗时,但是可以猜测到一些功能的实现:

例如

如何检测子进程是否处于正常活跃状态?

采用心跳检测

每隔数秒向子进程发送心跳包,子进程如果不回复,那么调用kill杀死这个进程
然后再重新cluster.fork()一个新的进程

子进程发出异常报错,如何保证一直有一定数量子进程?


子进程可以监听到错误事件,这时候可以发送消息给主进程,请求杀死自己
并且主进程此时重新调用cluster.fork一个新的子进程

目前不少Node.js的服务,依赖Nginx+pm2+docker来实现自动化+监控部署,

pm2本身也是有监听系统的,分免费版和收费版~

具体可以看官网,以及搜索一些操作手册等进行监控操作,配置起来比较简单,

这里就不做概述了。

https://pm2.keymetrics.io/

如果感觉写得不错,麻烦帮忙点个赞然后分享给你身边多人,原创不易,需要支持~!

欢迎关注微信公众号:前端巅峰

尽量都是原创内容,回复加群就可以加入小姐姐众多的前端交流群~