随着各地人事机构招考需求不断增强,规模不断扩大,考务管理工作难度不断加大。尤其是网上报名阶段,考生们犹如蓄势待发、抢滩登陆的士兵,扛着枪、冲锋号一响,同一时间往上冲,按照惯例配置的服务器自然难以承受这种猛烈的攻势。瞬时间崩塌,是显然的。
所谓的惯例配置,就是通常情况下,我们会根据网站的日常访问流量,测算出所需要的服务器资源,然后按此配置去组建服务器。影响较大的是:带宽、CPU和内存。这三样相互依存,难分先后,任一样达不到要求,崩了即是可以遇见的。
再有,就是软件的系统开发,有没有做代码优化、数据库优化、并发压力测试等。这些也都将直接影响到系统运行的稳定性。
既然,都已经了解到问题所处的原因。为何一到省考、大考,系统就经常性会崩呢?
这里,我认为不外乎有以下几种情况:
1)软件层面:报名系统开发较早,没有预想到如今所要面对的峰值流量,系统更新迟缓或无更新; 2)硬件层面:服务器为单位机房部署,可能配置较低,或存在多应用共存,难以确保其稳定性; 3)维护层面:技术人员响应不及时,无法第一时间处理宕机故障。
既然如此,更新升级不就完了。但对于大量的单位用户来说,系统升级谈何容易?需求要层层上报,预算要一步步审批,很多时候自然也就搁置了。
实际上,在此之前我对于考试报名系统也未曾了解多少,可能还不及你。
只是年前才开始接触报名系统的开发。而在开发期间,最主要的精力,都放在了上面我所描述的几个问题中。目前,我们的报名系统的开发已经过内测、公测,已进入正式部署阶段。而且也有了一定的用户案例。
借此机会,给大家分享一下我们开发的报名系统(虽然现在互联网发达,传播速度超乎想象。但是,传播是快了,声音却越来越小...)
这里,我只介绍我们的报名系统是如何解决这些问题的。
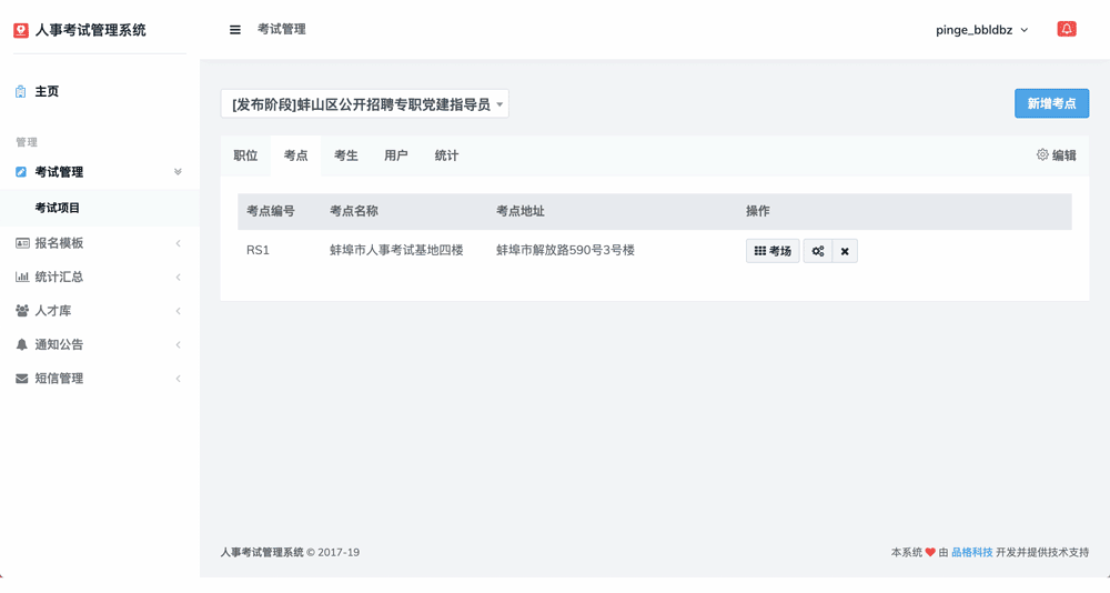
首先,我们的系统包含了招聘公告发布、网上报名、资格审查、在线缴费、考场设置、座位自动编排、准考证生成及打印、成绩查询、面试通知单、短信群发、数据导出Excel、自动生成人才库信息等覆盖人事考试(报名)与考务管理全套业务流程的功能。
划重点:超级计算集群。 官方用语:使用高速RDMA网络互联的CPU以及GPU等异构加速设备,面向高性能计算、数据分析,提供极致计算性能和并行效率的计算集群服务。分钟级交付的弹性裸金属实例,根据需求快速增减集群节点。 实际解决的问题就是:报名系统不再崩!!!
下面是我们系统特有的一些亮点功能,在此以动图的形式,简单展示下。
1 一键批量生成考场: 根据各岗位报考的人数,系统可自动以批量形式生成各个考场,可自定义考场座位数,亦支持手动模式。

2 自动生成留验单/桌贴/门贴: 自动编排考场以后,系统已为您生成各个考场的留验单、桌贴、门贴。完全不需要人工干预,即可实现。并且,支持在线一键打印,可自定义A3/A4或其他尺寸的纸张。

3 考务通知,短信群发: 系统目前已支持多种考务通知类型,只需将考生加入短信群发列表,即可快速将考务通知以短信形式发送至考生手机。短信系统会根据考生所属运营商,自动选择短信发送通道,优化短信通知效率,以确保100%送达。

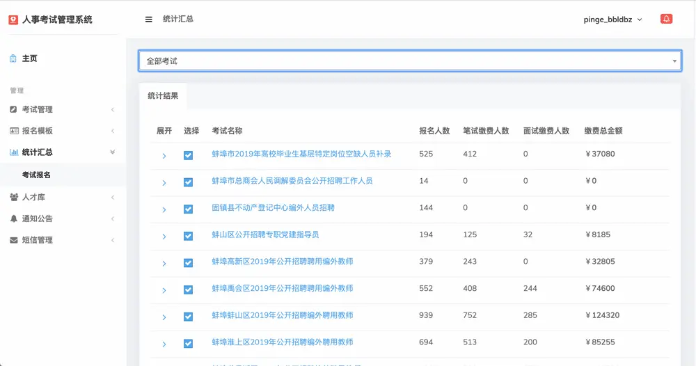
4 考务统计与汇总: 考务统计支持单个考试统计,亦可将各个考试合并统计,满足不同的统计需求。在汇总统计状态下,还可以手动进行选择,可精确到岗位统计。

系统的报名流程:考生注册-设置密码-登录系统-选择考试-填报职位-报考信息-上传照片-资格审查-交费-打印准考证。
系统链接(有兴趣的童鞋可以去参观下): 人事考试网上报名考务管理系统