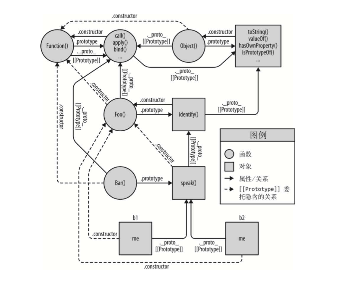
1、所有普通的 [[Prototype]] 链最终都会指向内置的 Object.prototype
2、prototype机制就是指对象中的一个内部链接引用另一个对象。
如果在第一个对象上没有找到需要的属性或者方法引用,引擎就会继续在[prototype]关联的对象上进行查找,同理,如果在或者中也没有找到需要的引用就会继续查找他的[prototype],以此类推,这一系列 对象的链接被称为“原型链” 换句话说:JS中这个机制的本质就是对象之间的关联关系。
3、比较思维模型 “类”和“委托”这种设计模式的理论区别
面向对象:

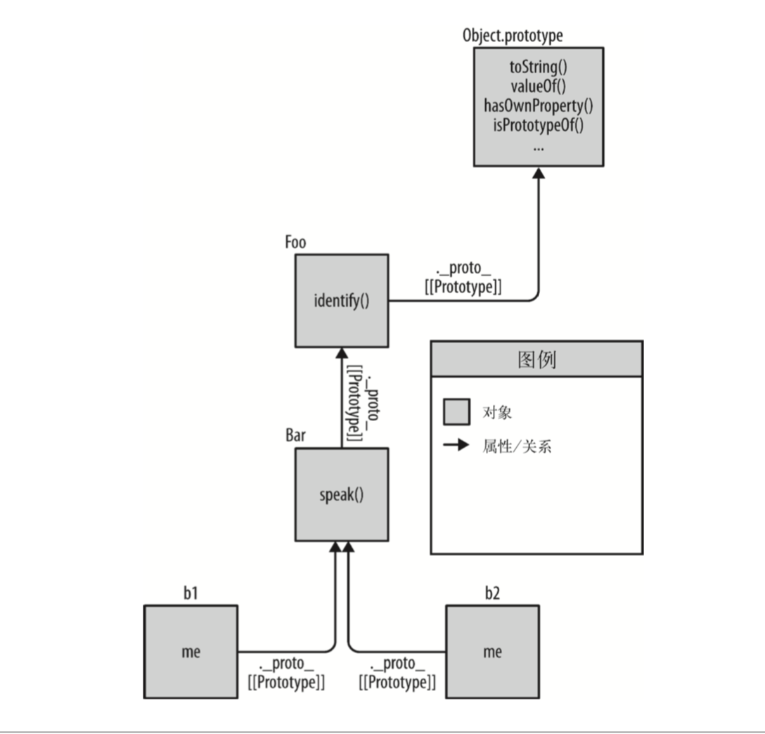
对象关联:

// 面向对象function Foo(who){this.me = who}Foo.prototype.identify = function(){return "I am" + this.me}function Bar(who){Foo.call(this,who)}Bar.prototype = Object.create(Foo.prototype)Bar.prototype.speak = function(){console.log("hello "+ this.identify()+'.')}var b1 = new Bar('b1')var b2 = new Bar('b2')b1.speak()b2.speak()// 对象关联var Foo = {init:function(who){this.me = who},identify:function(){return "I am" + this.me;}}var Bar = Object.create(Foo);Bar.speak = function(){console.log("Hello," + this.identify() + ".")}var b1 = Object.create(Bar);b1.init("b1")var b2 = Object.create(Bar)b2.init("b2")b1.speak()b2.speak()