阿里Linux Shell脚本面试25个经典问答

480 阅读2分钟

Q:1 Shell脚本是什么、它是必需的吗?

答:一个Shell脚本是一个文本文件,包含一个或多个命令。作为系统管理员,我们经常需要使用多个命令来完成一项任务,我们可以添加这些所有命令在一个文本文件(Shell脚本)来完成这些日常工作任务。

Q:2 什么是默认登录shell,如何改变指定用户的登录shell

答:在Linux操作系统,“/bin/bash”是默认登录shell,是在创建用户时分配的。使用chsh命令可以改变默认的shell。示例如下所示:


Q:3 可以在shell脚本中使用哪些类型的变量?

答:在shell脚本,我们可以使用两种类型的变量:

系统定义变量

用户定义变量

系统变量是由系统系统自己创建的。这些变量通常由大写字母组成,可以通过“set”命令查看。

用户变量由系统用户来生成和定义,变量的值可以通过命令“echo $<变量名>”查看。

Q:4 如何将标准输出和错误输出同时重定向到同一位置?

答:这里有两个方法来实现:

方法一:

2>&1 (# ls /usr/share/doc > out.txt 2>&1 )

方法二:

&> (# ls /usr/share/doc &> out.txt )

Q:5 shell脚本中“if”语法如何嵌套?

答:基础语法如下:


Q:6 shell脚本中“?”标记的用途是什么?答:在写一个shell脚本时,如果你想要检查前一命令是否执行成功,在if条件中使用“?”标记的用途是什么?答:在写一个shell脚本时,如果你想要检查前一命令是否执行成功,在if条件中使用“?”可以来检查前一命令的结束状态。简单的例子如下:


如果结束状态是0,说明前一个命令执行成功。


如果结束状态不是0,说明命令执行失败。

Q:7 在shell脚本中如何比较两个数字 ?

答:在if-then中使用测试命令( -gt 等)来比较两个数字,例子如下:


Q:8 shell脚本中break命令的作用 ?

答:break命令一个简单的用途是退出执行中的循环。我们可以在while和until循环中使用break命令跳出循环。

Q:9 shell脚本中continue命令的作用 ?

答:continue命令不同于break命令,它只跳出当前循环的迭代,而不是整个循环。continue命令很多时候是很有用的,例如错误发生,但我们依然希望继续执行大循环的时候。

Q:10 告诉我shell脚本中Case语句的语法 ?

答:基础语法如下:


Q:11 shell脚本中while循环语法 ?

答:如同for循环,while循环只要条件成立就重复它的命令块。不同于for循环,while循环会不断迭代,直到它的条件不为真。基础语法:


Q:12 如何使脚本可执行 ?

答:使用chmod命令来使脚本可执行。例子如下:

# chmod a+x myscript.sh

Q:13 “#!/bin/bash”的作用 ?

答:#!/bin/bash是shell脚本的第一行,称为释伴(shebang)行。这里#符号叫做hash,而! 叫做 bang。它的意思是命令通过 /bin/bash 来执行。

Q:14 shell脚本中for循环语法 ?

答:for循环的基础语法:


Q:15 如何调试shell脚本 ?

答:使用’-x’参数(sh -x myscript.sh)可以调试shell脚本。另一个种方法是使用‘-nv’参数( sh -nv myscript.sh)。

Q:16 shell脚本如何比较字符串?

答:test命令可以用来比较字符串。测试命令会通过比较字符串中的每一个字符来比较。

Q:17 Bourne shell(bash) 中有哪些特殊的变量 ?

答:下面的表列出了Bourne shell为命令行设置的特殊变量。


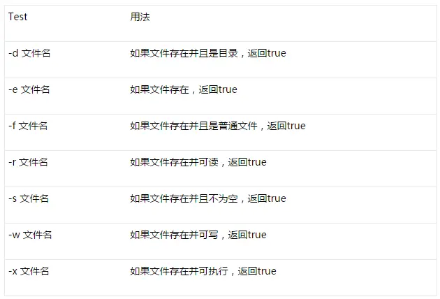
Q:18 在shell脚本中,如何测试文件 ?

答:test命令可以用来测试文件。基础用法如下表格:


Q:19 在shell脚本中,如何写入注释 ?

答:注释可以用来描述一个脚本可以做什么和它是如何工作的。每一行注释以#开头。例子如下:


Q:20 如何让 shell 就脚本得到来自终端的输入?

答:read命令可以读取来自终端(使用键盘)的数据。read命令得到用户的输入并置于你给出的变量中。例子如下:


Q:21 如何取消变量或取消变量赋值 ?

答:“unset”命令用于取消变量或取消变量赋值。语法如下所示:

#unset

Q:22 如何执行算术运算 ?

答:有两种方法来执行算术运算:

使用expr命令(# expr 5 + 2) 2.用一个美元符号和方括号([表达式])例如:test=[表达式])例如:test=[16 + 4] ; test=$[16 + 4]

Q:23 do-while语句的基本格式 ?

答:do-while语句类似于while语句,但检查条件语句之前先执行命令(LCTT 译注:意即至少执行一次。)。下面是用do-while语句的语法

do{statements}while(condition)

Q:24 在shell脚本如何定义函数呢 ?

答:函数是拥有名字的代码块。当我们定义代码块,我们就可以在我们的脚本调用函数名字,该块就会被执行。示例如下所示:

$diskusage() { df -h ; }

Q:25 如何在shell脚本中使用BC(bash计算器) ?

答:使用下列格式,在shell脚本中使用bc:

variable=`echo “options; expression” | bc`

文末也分享给大家也是Linuxc++开发的学习资料

主要有C/C++,Linux,Nginx,ZeroMQ,MySQL,Redis,fastdfs,MongoDB,ZK,流媒体,CDN,P2P,K8S,Docker,TCP/IP,协程,DPDK技术,面试技巧方面的资料技术讨论。

感兴趣的朋友戳这里:正在跳转