对于使用linux服务器的站长来说,管理linux服务器安全是头等大事,这一点有目共睹了.我说一个事,我的经历,大家都购买过阿里云服务器,都知道阿里有收费的安防工具就是安骑士,这个工具我们今天就来说下对比和观点.

阿里云安骑士已经有好几年了,今年我的一个服务器遭遇一件事,让我对安全防护有点了解,一个网站服务器突然出现数据库被爆破,等我收到安骑士短信提醒的时候,其实数据库已经被篡改,我等候后台才发现,我一直认为阿里云还是比较安全的,起码攻击没那么多.后来知道一个同行雇佣黑客干的事,这件事后我一直在互联网寻找合适的安全工具管理服务器.

首先安骑士基础班就是个摆设,现在看来,基本没啥用,企业版的收费够你买几台服务器了.

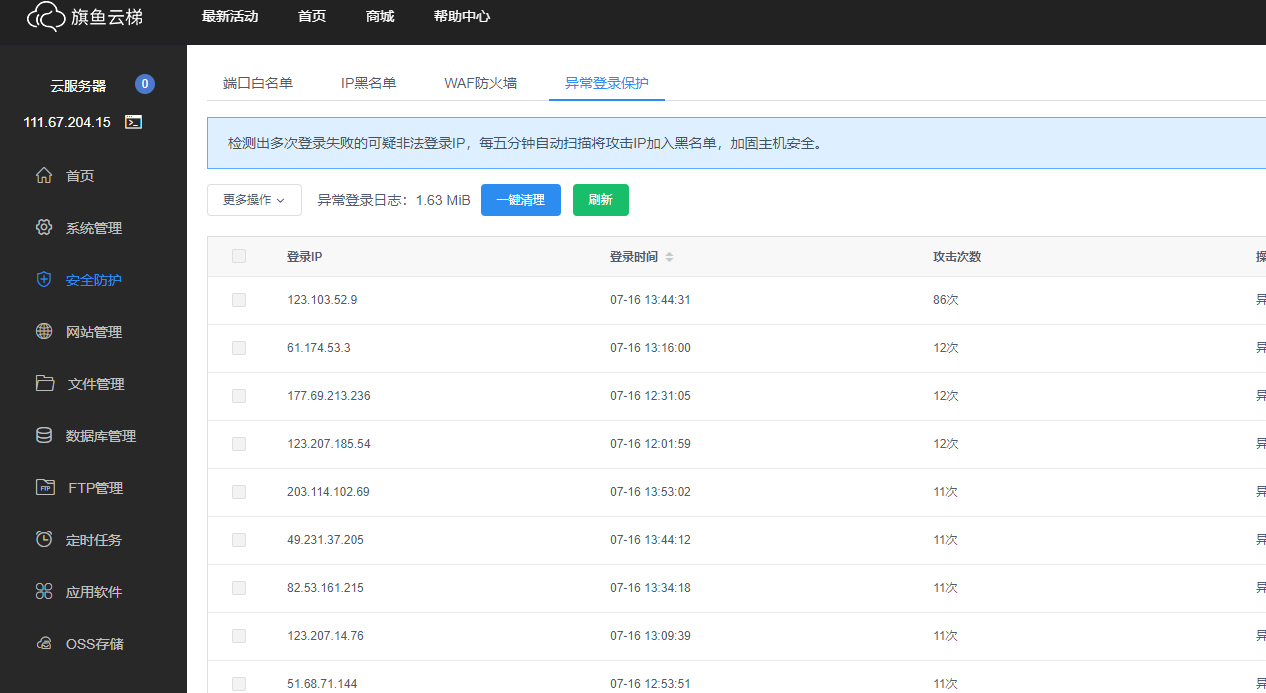
今年2019年发现了旗鱼云梯平台,安装测试后,对于安全防护领域我觉得比安骑士要好,旗鱼云梯自带的WAF防火墙,能够拦截针对我服务器的所有攻击,这一点我自己测试后也是很惊讶,所有拦截全部被加入黑名单.

旗鱼云梯自带的黑名单和防爆破登陆功能,我觉得是业内最好的,首先安全工具免费,然后是工具强大,这点大家测试一把就知道,开启waf防火墙,所有针对服务器的恶意攻击,都会被拦截,大家可以测试一下,linux服务器安装centos 7.6安装使用旗鱼云梯平台,这你的服务器就固若金汤了.