
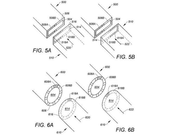
据苹果提交的专利申请显示,这项新技术可能为将来的 iPhone 取消 Lightning 端口而铺路,即无需实体端口也能进行数据传输。在专利申请文件中,苹果公开了一种波导结构,允许设备确定其方向。波导可以由介质芯和包层形成,电介质芯可以由固体介电材料形成,所述固体介质材料以毫米波频率及以上的频率传导无线电波。透过引导毫米波,就能以比通常使用导电导线的传输速率更高的速度传输数据。

为了使波导能够正常工作,必须将波导放置在与其传输方向相匹配的位置上,并对其进行排列以正确地发送到接收设备。为了解决这一问题,苹果建议,这种波导可以由一种能够传导无线电波的固体介电材料的核心制造,周围有一个包层,其中包括可以传输电讯号的导电部分。导电部分和讯号只是用来确定波导到接收或发送设备的方向,而不是用户大规模的数据传输。透过使用导电部分来确定波导的一端是如何连接的,而另一端可以改变它透过波导传输的方式。虽然这对于方形波导电缆来说可能很简单,但这也意味着该系统可以有效地工作在圆形电缆上。为了便于校准,还可以使用磁铁将电缆固定到位,并确保用户首先正确放置电缆。相关信息来源:
www.ai.org.tw/map.asp