概述
Swoole 启动一个服务,开启了哪些进程和线程?
为了解决这个问题,咱们启动一个最简单的服务,一起看看究竟启动了哪些进程和线程?
然后结合官网运行流程图,对每个进程和线程进行归类。
服务启动后打印出当前 Swoole 版本 和 当前 CPU 核数。
打印 Swoole 版本,是让大家可以下载这个版本 去运行代码。
打印 CPU 核数,是因为这个参数下面会用到。
废话不多说,直接看代码吧。
代码
serv.php
<?php
class Server
{
private $serv;
public function __construct() {
$this->serv = new swoole_server("0.0.0.0", 9502);
$this->serv->set([
'worker_num' => 3,
'task_worker_num' => 3,
]);
$this->serv->on('Start', function ($serv) {
echo "SWOOLE:".SWOOLE_VERSION . " 服务已启动".PHP_EOL;
echo "SWOOLE_CPU_NUM:".swoole_cpu_num().PHP_EOL;
});
$this->serv->on('Receive', function ($serv, $fd, $from_id, $data) { });
$this->serv->on('Task', function ($serv, $task) { });
$this->serv->on('Finish', function ($serv, $task_id, $data) {});
$this->serv->start();
}
}
$server = new Server();
上面的代码简单说下,创建了一个 TCP 服务器,启动了 3 个 worker 进程, 3 个 task 进程,因为启用了 task 功能,所以必须注册 onTask、onFinish 2 个事件的回调函数。
咱们运行一下:

使用 ps 查看下:

16390 的父进程是 16389。
16393、16394、16395、16396、16397、16398 的父进程是 16390。
有没有发现,16391、16392 去哪啦?是不是很奇怪。
再用 pstree 查看下:

出来了吧,16391、16392 是线程 与 16390 进程一个层级。
现在我们了解了,启动的这个服务使用了 8 个进程、2 个线程。
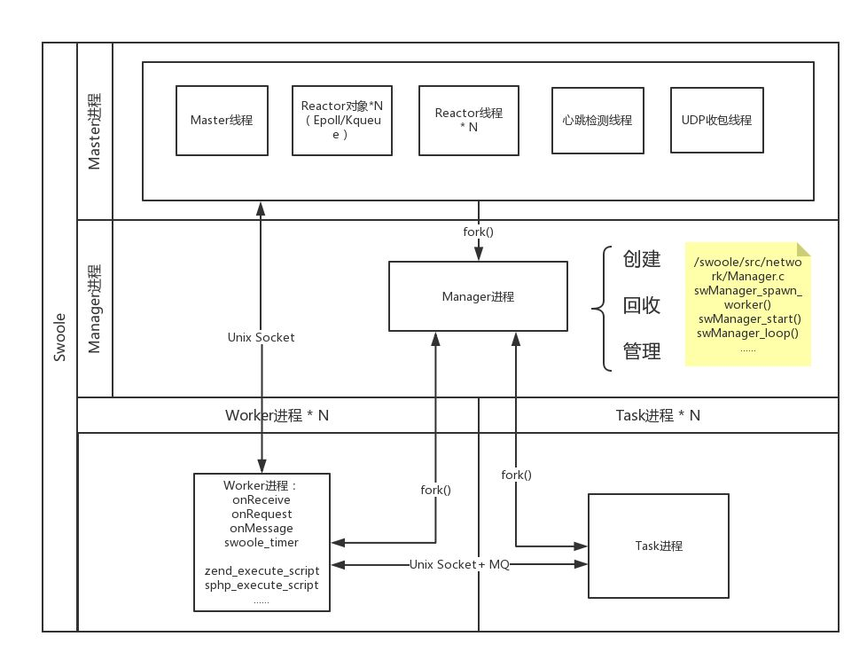
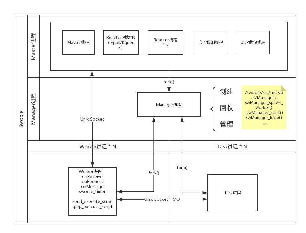
我们一起看下官方 Swoole Server 的文档:
https://wiki.swoole.com/wiki/page/p-server.html
看下这张图:

通过上面的图,我们可以得到结论:
16389 是 Master 进程。
16390 是 Manager 进程。
16391、16392 是 Reactor 线程。
16393、16394、16395、16396、16397、16398 包括 3 个 Worker 进程,3 个 Task 进程。
小结
一、为什么是 3 个 Worker 进程、3 个 Task 进程?
因为,在创建服务的时候我们进行了设置 worker_num = 3, task_worker_num = 3。
workernum 如果不进行设置,默认为 SWOOLE_CPU_NUM,在上面咱们打印出来了,默认为 2,最大不超过,SWOOLE_CPU_NUM * 1000,具体详情,看官方文档。
worker_num 文档:
https://wiki.swoole.com/wiki/page/275.html
taskworkernum 文档:
https://wiki.swoole.com/wiki/page/276.html
二、为什么是 2 个 Reactor 线程?它是干什么的?
因为,Reactor 线程数,默认为 SWOOLE_CPU_NUM。
也可以通过 reactor_num 参数进行设置,reactor_num 文档:
https://wiki.swoole.com/wiki/page/281.html
它是真正处理 TCP 连接,收发数据的线程。
Reactor线程 文档:
https://wiki.swoole.com/wiki/page/347.html
三、Reactor、Worker、TaskWorker 的关系是什么样的?
一个通俗的比喻,假设Server就是一个工厂,那Reactor就是销售,接受客户订单。而Worker就是工人,当销售接到订单后,Worker去工作生产出客户要的东西。而TaskWorker可以理解为行政人员,可以帮助Worker干些杂事,让Worker专心工作。
官方已经解释的很详细了,看官方文档吧:
https://wiki.swoole.com/wiki/page/163.html
如果你想学习 Swoole 可以看下这篇文章:
本文欢迎转发,转发请注明作者和出处,谢谢!
