源码 | 彻底理解ThreadLocal---Java并发编程系列(一)

1,194 阅读21分钟

先备知识

Java中不同的引用类型

在Java中根据垃圾回收的方式不同,引用按照对象生命周期的长短分为四种,由高到低分别为强引用、软引用、弱引用和虚引用。

强引用

Java中默认的引用类型,一个对象如果具有强引用那么就没有资格被垃圾回收。

VfCm5t.png

软引用

一个对象如果只具有软引用,当JVM内存充足的时候和强引用并无区别,那么当JVM内存不足的时候,这个对象就会被垃圾回收。软引用可以和一个引用队列(ReferenceQueue)联合使用。如果软引用所引用对象被垃圾回收,JAVA虚拟机就会把这个软引用加入到与之关联的引用队列中。

VfC1Kg.png

弱引用

如果一个对象只具有弱引用(即不具有强引用,软引用,虚引用),那么这个对象会被垃圾回收器标记回收。弱引用可以和一个引用队列(ReferenceQueue)联合使用,如果弱引用所引用的对象被垃圾回收,Java虚拟机就会把这个弱引用加入到与之关联的引用队列中。弱引用指向的对象可以通过弱引用的get方法获得,因为弱引用不能阻挡垃圾回收器对其回收,所以当弱引用指向的对象被GC的时候get方法会返回null。

VfCaGV.png

虚引用

虚引用不会影响对象的生命周期,唯一用处就是能在对象被GC时收到系统通知,JAVA中用PhantomReference来实现虚引用。虚引用指向的对象十分脆弱,我们不可以通过get方法来得到其指向的对象。

ThreadLocal简介

ThreadLocal是什么?

首先ThreadLocal是一个用于线程创建自己线程本地变量的类。这个变量相对于本线程是全局的,相对于其他线程是隔离的,也就是说在不同的线程之间独立存在,一个线程无法访问和修改其他线程的线程本地变量。即便两个线程执行同一段代码,在代码中都使用了ThreadLocal来创建线程本地变量,那它们也只能看到并访问自己线程的本地变量,并不能相互看到对方的线程本地变量。

如何使用?

Talk is cheap,show me the code。

我们先通过一个实际的例子看一下ThreadLocal的使用。

假设有一个商城,客户下发一个订单,商城会分成多个步骤来处理这个订单(查库存,配货等),商城为每个订单分配一个唯一标识OrderID,并且在订单的各个处理步骤中都应该被随时读取。我们对于每个客户的订单处理new一个线程来表示,实际处理的步骤省略掉只是打印OrderID。

public class OrderIdHolder {
    public static final ThreadLocal<String> CURRENT_ORDERID = new ThreadLocal();

    static String getCurrentOrderId() {
        return CURRENT_ORDERID.get();
    }

    static void setCurrentOrderId(String Id) {
        CURRENT_ORDERID.set(Id);
    }

    static void remove() {
        CURRENT_ORDERID.remove();
    }
}

public class OrderProcessingThread extends Thread {
    Random random = new Random();

    OrderProcessingThread(String name) {
       super(name);
    }

    @Override
    public void run() {
        OrderIdHolder.setCurrentOrderId(getName() +" " + random.nextInt(100));
        /*注意这里我们并没有显式的传递OrderId*/
        BusinessService businessService = new BusinessService();
        businessService.checkInventory();
        businessService.ship();
        OrderIdHolder.remove();
    }

    public static void main(String args[]) {
        Thread threadOne = new OrderProcessingThread("ThreadA");
        threadOne.start();

        Thread threadTwo = new OrderProcessingThread("ThreadB");
        threadTwo.start();
    }
}

public class BusinessService {
    public void checkInventory() {
        System.out.println("checkInventory " + OrderIdHolder.getCurrentOrderId());
    }

    public void ship() {
        System.out.println("ship " + OrderIdHolder.getCurrentOrderId());
    }
}

结果:

checkInventory ThreadB 18
checkInventory ThreadA 42
ship ThreadA 42
ship ThreadB 18

如上所示,虽然我们并没有显式的将OrderId传递到checkInventory和ship方法内,但是同一个订单处理(同一个线程)的两个方法获得的OrderId均相同,但是不同的订单处理(不同线程)的OrderId是不同的。可以看到ThreadLocal变量是每个线程“独自持有一份儿的”,两个线程其实是有两份儿不一样的ThreadLocal变量。

可以解决什么问题?

从上面的例子可以体会到,当一个实例,不被允许在多个线程间共享,但是对于每个线程来说不同的类与方法都需要共享并经常访问这个实例的时候,应该使用ThreadLocal

ThreadLocal核心源代码解析

从对开发者暴露的set方法入手

你可能会有疑问,我们存储变量时明明是只有一个CURRENT_ORDERID(ThreadLocal),为什么每个线程会自己有一份儿线程本地变量呢?下面我们一起揭开ThreadLocal的神秘面纱。

我们直接从ThreadLocal使用时的核心方法set入手。

public class ThreadLocal<T> {
    public void set(T value) {
        Thread t = Thread.currentThread();
        ThreadLocalMap map = getMap(t);
        if (map != null)
            map.set(this, value);
        else
            createMap(t, value);
    }

    ThreadLocalMap getMap(Thread t) {
      return t.threadLocals;
    }
}

public class Thread implements Runnable {
    ThreadLocal.ThreadLocalMap threadLocals = null;
}

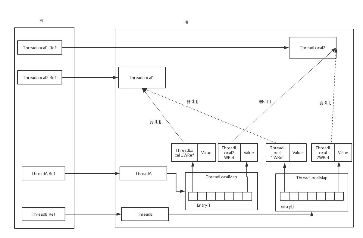
调用set方法时,先是取得了当前的线程,然后调用getMap方法,取得了一个Map,从这里可以看出ThreadLocal本身并不存储变量的值,数据实际存放在Thread内的一个Map里面,也就是说数据实际都是存放在各个线程本身的,使用者调用ThreadLocal的set()方法其实最终都是对这个Map进行操作的。ThreadLocal只是为我们操作这个Map提供了一个便捷入口。可以看到ThreadLocalMap的初始值是null,当第一次通过ThreadLocal的set方法或get方法试图访问操作这个Map时会调用createMap(t, value)进行初始化工作。

public class ThreadLocal<T> {
    ……
    private final int threadLocalHashCode = nextHashCode();
    private static final int HASH_INCREMENT = 0x61c88647;
    private static AtomicInteger nextHashCode = new AtomicInteger();
    private Entry[] table;
    private int size = 0;
    private int threshold;

    private static int nextHashCode() {
       return nextHashCode.getAndAdd(HASH_INCREMENT);
    }

    void createMap(Thread t, T firstValue) {
        t.threadLocals = new ThreadLocalMap(this, firstValue);
    }
    ……
    static class ThreadLocalMap {
      private Entry[] table;
      private int size = 0;
      private int threshold;
      private static final int INITIAL_CAPACITY = 16;

      ThreadLocalMap(ThreadLocal<?> firstKey, Object firstValue) {
          table = new Entry[INITIAL_CAPACITY];
          int i = firstKey.threadLocalHashCode & (INITIAL_CAPACITY - 1);
          table[i] = new Entry(firstKey, firstValue);
          size = 1;
          setThreshold(INITIAL_CAPACITY);
      }

      private void setThreshold(int len) {
           threshold = len * 2 / 3;
       }
    }
}

上面的代码中可以看出ThreadLocalMap其实就是一个依赖数组实现,定制化的HashTable。ThreadLocal对象实例作为Key用于定位数据实际在Entry数组中的下标,下标的值为ThreadLocal对象的threadLocalHashCode经过位运算取模得到(不太清楚原理的同学请参考https://blog.csdn.net/actionzh/article/details/78976082)。在下标处放入相应数据后,把当前Entry数组已存放数据的个数(size)设置为1,并把Threshold设置为当前容量的2/3,这个值在进行扩容时会作为判断条件使用。 除了第一次访问操作Map调用ThreadLocalMap的createMap(t, value)初始化ThreadLocalMap(实际上是ThreadLocalMap底层的Entry数组),以后都会调用ThreadLocalMap的set方法存放数据。

static class ThreadLocalMap {
      private void set(ThreadLocal<?> key, Object value) {
            Entry[] tab = table;
            int len = tab.length;
            int i = key.threadLocalHashCode & (len-1);

            for (Entry e = tab[i];
                 e != null;
                 e = tab[i = nextIndex(i, len)]) {
                // 注释1:Entry的get方法
                ThreadLocal<?> k = e.get();

                if (k == key) {
                    e.value = value;
                    return;
                }

                if (k == null) {
                    replaceStaleEntry(key, value, i);
                    return;
                }
            }

            tab[i] = new Entry(key, value);
            int sz = ++size;
            if (!cleanSomeSlots(i, sz) && sz >= threshold)
                rehash();
      }

      static class Entry extends WeakReference<ThreadLocal<?>> {
            Object value;

            Entry(ThreadLocal<?> k, Object v) {
                super(k);
                value = v;
            }
     }
}

上面代码中的注释1处我们看到调用了Entry对象的get方法,返回的类型是ThreadLocal,那么这里是什么意思呢?我们先来看一下Entry这个类。可以看到继承了WeakReference这个类,那么可以看到Entry的key是一个指向了ThreadLocal对象的弱引用。如果指向的对象被GC掉了(前面说过,弱引用是不会影响其指向对象的GC的),那么Entry对象的get方法就会返回null,可以由此来判断其指向的ThreadLocal对象是否已经无用被用户“弃用”。

上面这段代码总体逻辑比较简单,先根据ThreadLocal对象计算出以此为key的Entry应该放置在Entry数组中的Index,如果这个Index处没有Entry,直接放置,如果已经放置了Entry也即slot不为空,那么就说明两个Entry的key映射到了一个地方,也就是散列表产生了冲突,此时采用线性探测法解决冲突来探测空的slot。探测的过程中,如果查找到了目标key的Entry,直接替换value为我们的目标value即可。比较重点的地方是线性探测的过程中如果遇到了位置i此slot处的Entry的key指向的ThreadLocal已经被GC掉了,那么就将i与待插入的Entry作为参数传递给replaceStaleEntry方法,并执行然后直接return。

replaceStaleEntry(ThreadLocal<?> key, Object value, int staleSlot)

replaceStaleEntry方法具体都做了什么呢?replaceStaleEntry会将作为其参数传递来的Entry存放在Entry数组的staleSlot处,并会清除夹在staleSlot前后两个null之间的一连串Entry中所有key为null(即指向的ThreadLocal已经被GC)的Entry。听起来有些绕,为了降低描述的复杂度,引入两个名词。

  • run --- 在Entry数组中夹在两个null之间的一连串Entry。
  • Stale Entry --- Entry的key指向的ThreadLocal已经被GC,这个时候ThreadLocal已经不存在了,那么这个ThreadLocal对应存放的数据Entry已经没有意义自然要被GC,所以形象地来说就是Stale Entry。

现在重新表述一下replaceStaleEntry的作用:将参数传递来的Entry存放在Entry数组的staleSlot(函数第三个参数)处,并清除Entry数组中staleSlot所在run中所有的Stale Entry。 代码读到这里我们可以大致画出ThreadLocal的整体原理图了:

VfCIqH.png

丢掉冗余,才能高效---清道夫replaceStaleEntry

下面我们就来看一下这个replaceStaleEntry的具体实现。

private void replaceStaleEntry(ThreadLocal<?> key, Object value,
                                       int staleSlot) {
            Entry[] tab = table;
            int len = tab.length;
            Entry e;
            int slotToExpunge = staleSlot;

            // 第一阶段
            for (int i = prevIndex(staleSlot, len);
                 (e = tab[i]) != null;
                 i = prevIndex(i, len))
                if (e.get() == null)
                    slotToExpunge = i;

            // 第二阶段
            for (int i = nextIndex(staleSlot, len);
                 (e = tab[i]) != null;
                 i = nextIndex(i, len)) {
                ThreadLocal<?> k = e.get();
                if (k == key) {
                    e.value = value;
                    tab[i] = tab[staleSlot];
                    tab[staleSlot] = e;
                    if (slotToExpunge == staleSlot)
                        slotToExpunge = i;
                    // 第三阶段
                    cleanSomeSlots(expungeStaleEntry(slotToExpunge), len);
                    return;
                }

                if (k == null && slotToExpunge == staleSlot)
                    slotToExpunge = i;
            }

            tab[staleSlot].value = null;
            tab[staleSlot] = new Entry(key, value);

            if (slotToExpunge != staleSlot)
                // 第三阶段
                cleanSomeSlots(expungeStaleEntry(slotToExpunge), len);
        }

根据ThreadLocalMap的set方法中replaceStaleEntry调用的情况,这三个参数分别代表要插入Entry的key,value以及线性探测法解决哈希冲突扫描的过程中遇到的第一个StaleEntry的Index。 进入方法内部查看具体的实现,可以发现replaceStaleEntry本身只负责了将Entry放到staleSlot处,实际上当前run的staleEntry清理操作交给了expungeStaleEntry方法,replaceStaleEntry内只是为expungeStaleEntry方法的调用做了准备工作。 简单来说此方法主要做了两件事:

  • 将待插入的Entry放到StaleEntry处 从staleSlot处开始向后扫描staleSlot当前所在run,如果发现具有目标key的Entry将value设置成将要插入的Entry的value并将此Entry与staleSlot处的staleEntry交换,如果没有发现,那么直接new一个Entry放到staleSlot处。
  • 确定进行StaleEntry清扫工作的起始Index->slotToExpunge,并将其作为参数传递给expungeStaleEntry方法进行StaleEntry清扫 全面扫描staleSlot所在run除了staleSlot之外(因为不管怎样,调用expungeStaleEntry前,staleSlot处都会填充Entry不再是staleEntry了)的第一个staleEntry的Index->slotToExpunge,并传递给expungeStaleEntry方法进行当前run的从slotToExpunge开始对staleEntry的大清扫。如果没有找到除了staleSlot处的Entry之外的staleEntry那么就不进行清扫工作。 下面我们通过几个例子,直观地看一下大致的处理流程(下面的例子并非要穷举所有情况,旨在帮助读者通过关键例子体会代码的执行逻辑)。 为了后续图片表述的无歧义性,这里再约定几个画图规则。
    VfCORf.png
  • 上图表示Entry数组
  • 每个格子(Slot)里面: NULL:表示空Slot。 空心圆:StaleEntry。 黑色实心圆:表示不为NULL也不是StaleEntry的正常Entry。 黑色实心圆有Key标志:表示不为NULL也不是StaleEntry的正常Entry,并且Key与所要插入的Entry的Key相同。 replaceStaleEntry的过程大致可以表示为如下三个阶段(下面的内容请结合上面的代码里面的注释一起看):

replaceStaleEntry方法执行前初始状态

情况1:

VfPJyD.png
情况2:
VfP2wj.png
情况3:
VfP4f0.png
情况4:
VfPT6U.png
第一阶段 情况1: 在run中从staleSlot处出发向前扫描,如果发现staleEntry那么将扫描过程中排在最前面的staleEntry的Index赋值给slotToExpunge。
Vfi9XD.png
情况2,3,4: 在run中从staleSlot处出发向前扫描,没有发现staleEntry,不做任何事情。

第二阶段

接下来在run中从staleSlot处出发向后扫描,扫描过程中对于每一个slot内的数据:

1.先判断是否是具有目标key的Entry,如果是,将其value设置成将要插入的Entry的value并与staleSlot处的staleEntry交换(注意交换后当前slot处的Entry就是staleEntry了)。交换后判断slotToExpunge == staleSlot成立则说明此run内当前Slot位置前并无staleEntry。当前slot的Index就是当前run中的第一个staleEntry的Index,也即后续清扫工作的起始Index,将其赋值给slotToExpunge。如果slotToExpunge!=staleSlot说明此时slotToExpunge的值已经是当前run中第一个staleEntry的Index了,那就不对slotToExpunge值做更改。slotToExpunge被确定后,停止继续向后扫描,进入到第三阶段将slotToExpunge传递给清理函数进行staleEntry的清扫工作,然后return。

2.如果当前slot内的数据不是具有目标key的Entry,判断当前slot内的Entry如果满足是staleEntry并且slotToExpunge == staleSlot,那么就代表当前Entry的Index是当前run除了staleSlot外的第一个staleEntry的Index,也即后续清扫工作的起始Index,将其赋值给slotToExpunge。 在第二阶段的末尾,如果扫描过程中没有扫描到具有目标key的Entry,那么直接将要插入的Entry放到staleSlot处,如果此时slotToExpunge!=staleSlot, 说明当前run中有staleEntry并且slotToExpunge是第一个staleEntry,也即后续清扫工作的起始Index,那么进入第三阶段将slotToExpunge参数传递给清理函数进行staleEntry的清扫工作。如果slotToExpunge == staleSlot则证明当前run没有需要清理的staleEntry就不进入第三阶段。

总结一下:第二阶段的任务就是a.在第一阶段从staleSlot处向前扫描的基础上,向后扫描最终确定进行StaleEntry清扫工作的起始Index->slotToExpunge。 b.将待插入的Entry放到StaleEntry处。c.根据slotToExpung的值与staleSlot的值的相等关系来判断是否进入第三阶段。 :slotToExpunge值的更改,都是判断slotToExpunge==staleSlot成立后才进行的,因为初始值slotToExpunge就是等于staleSlot的,这样可以保证slotToExpunge的值只有在遇见当前run内除了staleSlot处外第一个staleEntry的时候才会更改,保证了slotToExpunge的值是当前run中的第一个staleEntry的Index,也即后续清扫工作的起始Index。

情况1: 按照上述步骤,情况1的第二阶段如图所示:(注意一点,扫描到具有目标key的Entry后,这个阶段的三个任务都已经完成,将不继续向后扫描,直接进入第三阶段)。

VfiAAA.png
情况2: slotToExpunge会变成交换前的目标key所在位置,此时slotToExpunge为当前run的第一个StaleEntry的Index,如下图所示:(同样扫描到具有目标key的Entry后,不继续向后扫描,直接进入第三阶段。)
Vfim1f.png
情况3: 在当前run从satleSlot向后扫描,slotToExpunge置为当前run除了staleSlot处外第一个StaleEntry的Index,并将待插入的Entry放到staleSlot位置。经判断staleSlot不等于slotToExpunge,表示当前run有staleEntry需要被清理,将其传递给expungeStaleEntry清扫方法,进行第三阶段staleEntry大清扫工作。如图所示:
Vfi3As.png
情况4: 没有扫描到具有目标key的Entry以及staleEntry,将待插入的Entry放到staleSlot位置。判断一下staleSlot等于slotToExpunge,意味着当前的run并没有staleEntry需要清理(staleSlot处已经放置Entry),说明当前run很干净不用清扫,不做任何操作,不进入第三阶段。如图所示:
VfiGhq.png
第三阶段

情况1,情况2,情况3: 执行expungeStaleEntry清扫方法,进行staleEntry大清扫工作。 情况4: 未进入第三阶段。

清扫工作的具体执行者---清道夫expungeStaleEntry

前面说过,replaceStaleEntry把需要插入的数据放到了staleSlot处后,只是做了调用expungeStaleEntry前的准备工作,即扫描到了需要清理部分的最开始的位置,并当作参数staleSlot传递给了expungeStaleEntry方法,真正进行清扫工作的是expungeStaleEntry。

private int expungeStaleEntry(int staleSlot) {
            Entry[] tab = table;
            int len = tab.length;

            tab[staleSlot].value = null;
            tab[staleSlot] = null;
            size--;

            Entry e;
            int i;
            for (i = nextIndex(staleSlot, len);
                 (e = tab[i]) != null;
                 i = nextIndex(i, len)) {
                ThreadLocal<?> k = e.get();
                if (k == null) {
                    e.value = null;
                    tab[i] = null;
                    size--;
                } else {
                    int h = k.threadLocalHashCode & (len - 1);
                    if (h != i) {
                        tab[i] = null;
                        while (tab[h] != null)
                            h = nextIndex(h, len);
                        tab[h] = e;
                    }
                }
            }
            return i;
        }

此方法清理了从staleSlot开始当前run内所有的staleEntry,让指向其的引用指向null,使其变成不可达对象,以便JVM垃圾回收。从staleSlot处开始清理,当前Entry如果是staleEntry就清理掉,如果是正常的Entry,但不在根据它的key计算的原本应在的Index处,说明这个Entry当时插入的时候产生了哈希冲突,目前所在位置的Index是线性探测后找到的位置。目前所在位置前经过清扫工作后可能会整理出很多空Slot(可用位置),将当前Entry前移整理到[Index(Cal),Index(Cur) ]这个闭区间内的第一个空Slot处,这样可以提高下次调用get方法查找此Entry的效率。此方法的返回值是整理后的run的末尾Slot的Index。

注:Index(Cal)代表根据它的key计算的原本应在的Index,Index(Cur)代表其目前所在的根据线性探测后找到的位置Index。

未雨绸缪,再尝试清除一些冗余---启发式清理cleanSomeSlots

在replaceStaleEntry方法中,expungeStaleEntry和cleanSomeSlots都是成对出现的,expungeStaleEntry会将返回的当前run末尾的slot传递给cleanSomeSlots,cleanSomeSlots会尝试向后扫描logn次,如果发现了stale Entry那么将n置为table的长度len,做一次连续段的清理(expungeStaleEntry)(这里n是用来进行scan control的,初始值就为table的长度len,重置为table的长度len,意味着循环不会退出,会继续扫描下去,直到连续扫描(logn)+1次都没有遇见staleEntry)。如果至少有一个stale Entry被成功清理了,那么cleanSomeSlots就返回true否则就返回false。

private boolean cleanSomeSlots(int i, int n) {
      boolean removed = false;
      Entry[] tab = table;
      int len = tab.length;
      do {
          i = nextIndex(i, len);
          Entry e = tab[i];
          if (e != null && e.get() == null) {
              n = len;
              removed = true;
              i = expungeStaleEntry(i);
          }
      } while ( (n >>>= 1) != 0);
      return removed;
}

这个方法除了会在replaceStaleEntry中expungeStaleEntry清理完成后调用,也会在set方法中当一个新元素添加后调用。

static class ThreadLocalMap {
 private int size = 0;
 private int threshold;
 private void setThreshold(int len) {
    threshold = len * 2 / 3;
 }

 ThreadLocalMap(ThreadLocal<?> firstKey, Object firstValue) {
             table = new Entry[INITIAL_CAPACITY];
             int i = firstKey.threadLocalHashCode & (INITIAL_CAPACITY - 1);
             table[i] = new Entry(firstKey, firstValue);
             size = 1;
             setThreshold(INITIAL_CAPACITY);
 }

 private void set(ThreadLocal<?> key, Object value) {
   ......
   tab[i] = new Entry(key, value);
   int sz = ++size;
   if (!cleanSomeSlots(i, sz) && sz >= threshold)
                 rehash();
 }
}

添加新元素后,会再做一次启发式清理cleanSomeSlots,此时如果没有stale Entry被清理掉,并且size达到了threshold临界值,那么就有容量不够的风险,rehash会再次进行清理扩容。为什么cleanSomeSlots清理成功就不需要进行sz >= threshold的判断了呢? 首先我们来证明一件事情, 我们把ThreadLocalMap的set方法里面的

int sz = ++size;

代码块记为increment_{size},

if (!cleanSomeSlots(i, sz) && sz >= threshold)
              rehash();

代码块记为rehash_{conditional}

现在我们要证明,程序第n次运行完increment_{size}时,size<=threshold总成立(n为全体正整数)。证明过程如下所示:

1.n=1时,size=0+1=1,threshold=16*2/3=10,size<=threshold成立。

2.若n=k时,程序第k次运行完increment_{size}时,size<=threshold成立。 则n=k+1时,根据set代码的逻辑可知,第k次increment_{size}执行完成到k+1次increment_{size}执行完成之间,一定会执行一次rehash_{conditional}

Vfi0HJ.png
综上所述,k+1时也成立

3.所以结论可证 有了这个结论后,很明显就能得知,cleanSomeSlots执行前size<=threshold,如果cleanSomeSlots返回true那么size一定是小于threshold的,所以就不用判断sz >= threshold这个条件了,直接就可以认定不需要rehash。

最后再来看看对开发者暴露的get方法

get方法比较简单,我们来简单的分析一下:

public T get() {
    Thread t = Thread.currentThread();
    ThreadLocalMap map = getMap(t);
    if (map != null) {
        ThreadLocalMap.Entry e = map.getEntry(this);
        if (e != null) {
            @SuppressWarnings("unchecked")
            T result = (T)e.value;
            return result;
        }
    }

    return setInitialValue();
}

private T setInitialValue() {
        T value = initialValue();
        Thread t = Thread.currentThread();
        ThreadLocalMap map = getMap(t);
        if (map != null)
            map.set(this, value);
        else
            createMap(t, value);
        return value;
}

protected T initialValue() {
    return null;
}

private Entry getEntry(ThreadLocal<?> key) {
            int i = key.threadLocalHashCode & (table.length - 1);
            Entry e = table[i];
            if (e != null && e.get() == key)
                return e;
            else
                return getEntryAfterMiss(key, i, e);
}

private Entry getEntryAfterMiss(ThreadLocal<?> key, int i, Entry e) {
            Entry[] tab = table;
            int len = tab.length;

            while (e != null) {
                ThreadLocal<?> k = e.get();
                if (k == key)
                    return e;
                if (k == null)
                    expungeStaleEntry(i);
                else
                    i = nextIndex(i, len);
                e = tab[i];
            }

            return null;
}

可以看到get方法也是取得了当前线程内的map,然后使用ThreadLocal对象作为key查找相应的Entry,并返回Entry的value值。 整体逻辑比较简单,有两点需要注意一下:

  1. getEntry计算index后没有直接找到Entry的话会进行线性探测来找具有相应key的Entry,在线性探测的过程中如果碰见staleEntry那么就顺便调用expungeStaleEntry进行清理,然后继续向后在当前run中查找,如果查找到了就返回Entry,否则就返回null。
  2. 如果没有找到相应的Entry(由于map没初始化或者map初始化了但就是没找到),并且是第一次调用get方法的话,即如果线程先于set(T) 方法第一次调用get方法,那么就会调用setInitialValue方法new一个Entry并确定一个initialValue(默认是null)放到map里。这个方法最多会被调用一次。可以通过为ThreadLocal创建子类的方式重写initialValue方法的方式改变initialValue,一般来说使用匿名内部类。如下所示:
ThreadLocal<Integer> threadLocal = new ThreadLocal<Integer> (){
    @Override
    protected Integer initialValue() {
      return new Integer(1);
    }
};

再思考的深入一些

为什么线性探测过程中,有可能具有目标key的Entry一定在当前的run里面呢?

从ThreadLocalMap的set方法代码中我们可以看出来, 其搜索可能具有目标key的Entry,范围只是局限在根据它的ThreadLocal对象实例计算出的Index值(即其原本应该放置的Index处)处所在的run当中。 首先我们来思考一下,Entry数组的多个run是如何形成的? 只有两种情况

  1. 插入形成
    VfiggK.png
  2. 由一个run通过清除staleEntry大扫除后形成
    VfiWuD.png
    或是
    Vfi5Ed.png
    接下来我们来分析一下,具有目标key的Entry在这两种情况下与根据它的ThreadLocal对象实例计算出的原本应在的Index值是否依旧保持在一个run内。 对于情况1这种run形成过程来说,一定是具有目标key的Entry插入原本计算出的Index处的时候,发现位置已经被其他Entry占用了,进行线性探测找到null slot插入,这种情况下一定是保持在一个run内的。 对于情况2这种run形成过程来说,在大扫除之前具有目标key的Entry与原本应在的Index处一定是在一个run中的,在大扫除过程中它们两个之间可能会产生多个null slot,这个时候具有目标key的Entry一定会前移到离原本应在的Index处最近的null slot处(极端情况可能就是原本应在的Index处)。这样来看,大扫除完成后具有目标key的Entry与原本应在的Index处一定是一连串连续的不为NULL也不是staleEntry的正常Entry,所以一定是保持在一个run内的。 综上所述,线性探测过程中,有可能具有目标key的Entry一定在当前的run里面。

为什么ThreadLocal处理哈希冲突要使用线性探测法?

  1. 线性探测法采用数组实现,可以有效地利用CPU缓存行来加速查询速度。
  2. 线性探测法有一个很明显的问题就是在数组的空间越来越满的时候,性能会急速下降最坏甚至会到O(n),所以我们需要随时保持,数组有大量空闲的空间,这样的话在大数据量下就比较浪费内存,否则性能就会很差。但是对于ThreadLocal的使用场景来说, 我们在一个程序中并不会使用很多个ThreadLocal,数据量并不大,所以这个问题就被避免了。 综上所述对于ThreadLocal的使用场景来说,采用线性探测法来处理哈希冲突比较适合。

声明: 本文由CodePlus_小小的我原创,采用 CC BY 3.0 CN协议进行许可。 可自由转载、引用,但需署名作者且注明文章出处。如转载至微信公众号,请在文末添加作者公众号二维码。

Vfmpef.jpg