zookeeper-数据同步源码分析

3,395 阅读13分钟

在上一篇对 zookeeper 选举实现分析之后,我们知道 zookeeper 集群在选举结束之后,leader 节点将进入 LEADING 状态,follower 节点将进入 FOLLOWING 状态;此时集群中节点将进行数据同步操作,以保证数据一致。 只有数据同步完成之后 zookeeper 集群才具备对外提供服务的能力。

LEADING

当节点在选举后角色确认为 leader 后将会进入 LEADING 状态,源码如下:

public void run() {
    try {
        /*
         * Main loop
         */
        while (running) {
            switch (getPeerState()) {
            case LEADING:
                LOG.info("LEADING");
                try {
                    setLeader(makeLeader(logFactory));
                    leader.lead();
                    setLeader(null);
                } catch (Exception e) {
                    LOG.warn("Unexpected exception",e);
                } finally {
                    if (leader != null) {
                        leader.shutdown("Forcing shutdown");
                        setLeader(null);
                    }
                    setPeerState(ServerState.LOOKING);
                }
                break;
            }
        }
    } finally {
        
    }
}

QuorumPeer 在节点状态变更为 LEADING 之后会创建 leader 实例,并触发 lead 过程。

void lead() throws IOException, InterruptedException {
    try {
		// 省略

        /**
         * 开启线程用于接收 follower 的连接请求
         */
        cnxAcceptor = new LearnerCnxAcceptor();
        cnxAcceptor.start();
        
        readyToStart = true;

        /**
         * 阻塞等待计算新的 epoch 值,并设置 zxid
         */
        long epoch = getEpochToPropose(self.getId(), self.getAcceptedEpoch());          
        zk.setZxid(ZxidUtils.makeZxid(epoch, 0));
        
        
        /**
         * 阻塞等待接收过半的 follower 节点发送的 ACKEPOCH 信息; 此时说明已经确定了本轮选举后 epoch 值
         */
        waitForEpochAck(self.getId(), leaderStateSummary);
        self.setCurrentEpoch(epoch);

        try {
            /**
             * 阻塞等待 超过半数的节点 follower 发送了 NEWLEADER ACK 信息;此时说明过半的 follower 节点已经完成数据同步
             */
            waitForNewLeaderAck(self.getId(), zk.getZxid(), LearnerType.PARTICIPANT);
        } catch (InterruptedException e) {
            // 省略
        }

        /**
         * 启动 zk server,此时集群可以对外正式提供服务
         */
        startZkServer();

        // 省略
}

lead 方法的实现可得知,leaderfollower 在数据同步过程中会执行如下过程:

  • 接收 follower 连接
  • 计算新的 epoch 值
  • 通知统一 epoch 值
  • 数据同步
  • 启动 zk server 对外提供服务

FOLLOWING

下面在看下 follower 节点进入 FOLLOWING 状态后的操作:

public void run() {
    try {
        /*
         * Main loop
         */
        while (running) {
            switch (getPeerState()) {
            case LOOKING:
                // 省略
            case OBSERVING:
                // 省略
            case FOLLOWING:
                try {
                    LOG.info("FOLLOWING");
                    setFollower(makeFollower(logFactory));
                    follower.followLeader();
                } catch (Exception e) {
                    LOG.warn("Unexpected exception",e);
                } finally {
                    follower.shutdown();
                    setFollower(null);
                    setPeerState(ServerState.LOOKING);
                }
                break;
            }
        }
    } finally {
        
    }
}

QuorumPeer 在节点状态变更为 FOLLOWING 之后会创建 follower 实例,并触发 followLeader 过程。

void followLeader() throws InterruptedException {
    // 省略
    try {
        QuorumServer leaderServer = findLeader();            
        try {
            /**
             * follower 与 leader 建立连接
             */
            connectToLeader(leaderServer.addr, leaderServer.hostname);

            /**
             * follower 向 leader 提交节点信息用于计算新的 epoch 值
             */
            long newEpochZxid = registerWithLeader(Leader.FOLLOWERINFO);

            
            /**
             * follower 与 leader 数据同步
             */
            syncWithLeader(newEpochZxid);                
            
             // 省略

        } catch (Exception e) {
             // 省略
        }
    } finally {
        // 省略
    }
}

followLeader 方法的实现可得知,followerleader 在数据同步过程中会执行如下过程:

  • 请求连接 leader
  • 提交节点信息计算新的 epoch 值
  • 数据同步

下面我们看下在各个环节的实现细节;

Leader Follower 建立通信

follower 请求连接
protected QuorumServer findLeader() {
    QuorumServer leaderServer = null;
    // Find the leader by id
    Vote current = self.getCurrentVote();
    for (QuorumServer s : self.getView().values()) {
        if (s.id == current.getId()) {
            // Ensure we have the leader's correct IP address before
            // attempting to connect.
            s.recreateSocketAddresses();
            leaderServer = s;
            break;
        }
    }
    if (leaderServer == null) {
        LOG.warn("Couldn't find the leader with id = "
                + current.getId());
    }
    return leaderServer;
}           
protected void connectToLeader(InetSocketAddress addr, String hostname)
            throws IOException, ConnectException, InterruptedException {
    sock = new Socket();        
    sock.setSoTimeout(self.tickTime * self.initLimit);
    for (int tries = 0; tries < 5; tries++) {
        try {
            sock.connect(addr, self.tickTime * self.syncLimit);
            sock.setTcpNoDelay(nodelay);
            break;
        } catch (IOException e) {
            if (tries == 4) {
                LOG.error("Unexpected exception",e);
                throw e;
            } else {
                LOG.warn("Unexpected exception, tries="+tries+
                        ", connecting to " + addr,e);
                sock = new Socket();
                sock.setSoTimeout(self.tickTime * self.initLimit);
            }
        }
        Thread.sleep(1000);
    }

    self.authLearner.authenticate(sock, hostname);

    leaderIs = BinaryInputArchive.getArchive(new BufferedInputStream(
            sock.getInputStream()));
    bufferedOutput = new BufferedOutputStream(sock.getOutputStream());
    leaderOs = BinaryOutputArchive.getArchive(bufferedOutput);
}

follower 会通过选举后的投票信息确认 leader 节点地址,并发起连接(总共有 5 次尝试连接的机会,若连接不通则重新进入选举过程)

leader 接收连接
class LearnerCnxAcceptor extends ZooKeeperThread{
    private volatile boolean stop = false;

    public LearnerCnxAcceptor() {
        super("LearnerCnxAcceptor-" + ss.getLocalSocketAddress());
    }

    @Override
    public void run() {
        try {
            while (!stop) {
                try{
                	/**
                	 * 接收 follower 的连接,并开启 LearnerHandler 线程用于处理二者之间的通信
                	 */
                    Socket s = ss.accept();
                    s.setSoTimeout(self.tickTime * self.initLimit);
                    s.setTcpNoDelay(nodelay);

                    BufferedInputStream is = new BufferedInputStream(
                            s.getInputStream());
                    LearnerHandler fh = new LearnerHandler(s, is, Leader.this);
                    fh.start();
                } catch (SocketException e) {
                    // 省略
                } catch (SaslException e){
                    LOG.error("Exception while connecting to quorum learner", e);
                }
            }
        } catch (Exception e) {
            LOG.warn("Exception while accepting follower", e);
        }
    }
}

LearnerCnxAcceptor 实现可以看出 leader 节点在为每个 follower 节点连接建立之后都会为之分配一个 LearnerHandler 线程用于处理二者之间的通信。

计算新的 epoch 值

follower 在与 leader 建立连接之后,会发出 FOLLOWERINFO 信息


long newEpochZxid = registerWithLeader(Leader.FOLLOWERINFO);

protected long registerWithLeader(int pktType) throws IOException{
    /**
     * 发送 follower info 信息,包括 last zxid 和 sid
     */
	long lastLoggedZxid = self.getLastLoggedZxid();
    QuorumPacket qp = new QuorumPacket();                
    qp.setType(pktType);
    qp.setZxid(ZxidUtils.makeZxid(self.getAcceptedEpoch(), 0));
    
    /*
     * Add sid to payload
     */
    LearnerInfo li = new LearnerInfo(self.getId(), 0x10000);
    ByteArrayOutputStream bsid = new ByteArrayOutputStream();
    BinaryOutputArchive boa = BinaryOutputArchive.getArchive(bsid);
    boa.writeRecord(li, "LearnerInfo");
    qp.setData(bsid.toByteArray());
    
    /**
	 * follower 向 leader 发送 FOLLOWERINFO 信息,包括 zxid,sid,protocol version
	 */
    writePacket(qp, true);
    
    // 省略
} 

接下来我们看下 leader 在接收到 FOLLOWERINFO 信息之后做什么(参考 LearnerHandler)

public void run() {
	try {
	    // 省略
	    /**
	     * leader 接收 follower 发送的 FOLLOWERINFO 信息,包括 follower 节点的 zxid,sid,protocol version
	     * @see Learner.registerWithleader()
	     */
	    QuorumPacket qp = new QuorumPacket();
	    ia.readRecord(qp, "packet");

	    byte learnerInfoData[] = qp.getData();
	    if (learnerInfoData != null) {
	    	if (learnerInfoData.length == 8) {
	    		// 省略
	    	} else {
	            /**
	             * 高版本的 learnerInfoData 包括 long 类型的 sid, int 类型的 protocol version 占用 12 字节
	             */
	    		LearnerInfo li = new LearnerInfo();
	    		ByteBufferInputStream.byteBuffer2Record(ByteBuffer.wrap(learnerInfoData), li);
	    		this.sid = li.getServerid();
	    		this.version = li.getProtocolVersion();
	    	}
	    }

	    /**
	     * 通过 follower 发送的 zxid,解析出 foloower 节点的 epoch 值
	     */
	    long lastAcceptedEpoch = ZxidUtils.getEpochFromZxid(qp.getZxid());
	    
	    long peerLastZxid;
	    StateSummary ss = null;
	    long zxid = qp.getZxid();

	    /**
	     * 阻塞等待计算新的 epoch 值
	     */
	    long newEpoch = leader.getEpochToPropose(this.getSid(), lastAcceptedEpoch);
	  
	    // 省略
	}

从上述代码可知,leader 在接收到 follower 发送的 FOLLOWERINFO 信息之后,会解析出 follower 节点的 acceptedEpoch 值并参与到新的 epoch 值计算中。 (具体计算逻辑参考方法 getEpochToPropose

public long getEpochToPropose(long sid, long lastAcceptedEpoch) throws InterruptedException, IOException {
    synchronized(connectingFollowers) {
        if (!waitingForNewEpoch) {
            return epoch;
        }
        // epoch 用来记录计算后的选举周期值
        // follower 或 leader 的 acceptedEpoch 值与 epoch 比较;若前者大则将其加一
        if (lastAcceptedEpoch >= epoch) {
            epoch = lastAcceptedEpoch+1;
        }
        // connectingFollowers 用来记录与 leader 已连接的 follower
        connectingFollowers.add(sid);
        QuorumVerifier verifier = self.getQuorumVerifier();
        // 判断是否已计算出新的 epoch 值的条件是 leader 已经参与了 epoch 值计算,以及超过一半的节点参与了计算
        if (connectingFollowers.contains(self.getId()) && 
                                        verifier.containsQuorum(connectingFollowers)) {
            // 将 waitingForNewEpoch 设置为 false 说明不需要等待计算新的 epoch 值了
            waitingForNewEpoch = false;
            // 设置 leader 的 acceptedEpoch 值
            self.setAcceptedEpoch(epoch);
            // 唤醒 connectingFollowers wait 的线程
            connectingFollowers.notifyAll();
        } else {
            long start = Time.currentElapsedTime();
            long cur = start;
            long end = start + self.getInitLimit()*self.getTickTime();
            while(waitingForNewEpoch && cur < end) {
                // 若未完成新的 epoch 值计算则阻塞等待
                connectingFollowers.wait(end - cur);
                cur = Time.currentElapsedTime();
            }
            if (waitingForNewEpoch) {
                throw new InterruptedException("Timeout while waiting for epoch from quorum");        
            }
        }
        return epoch;
    }
}

从方法 getEpochToPropose 可知 leader 会收集集群中过半的 follower acceptedEpoch 信息后,选出一个最大值然后加 1 就是 newEpoch 值; 在此过程中 leader 会进入阻塞状态直到过半的 follower 参与到计算才会进入下一阶段。

通知新的 epoch 值

leader 在计算出新的 newEpoch 值后,会进入下一阶段发送 LEADERINFO 信息 (同样参考 LearnerHandler

public void run() {
	try {
	    // 省略

	    /**
	     * 阻塞等待计算新的 epoch 值
	     */
	    long newEpoch = leader.getEpochToPropose(this.getSid(), lastAcceptedEpoch);
            
        if (this.getVersion() < 0x10000) {
            // we are going to have to extrapolate the epoch information
            long epoch = ZxidUtils.getEpochFromZxid(zxid);
            ss = new StateSummary(epoch, zxid);
            // fake the message
            leader.waitForEpochAck(this.getSid(), ss);
        } else {
            byte ver[] = new byte[4];
            ByteBuffer.wrap(ver).putInt(0x10000);
            /**
             * 计算出新的 epoch 值后,leader 向 follower 发送 LEADERINFO 信息;包括新的 newEpoch
             */
            QuorumPacket newEpochPacket = new QuorumPacket(Leader.LEADERINFO, ZxidUtils.makeZxid(newEpoch, 0), ver, null);
            oa.writeRecord(newEpochPacket, "packet");
            bufferedOutput.flush();

           	// 省略
        }
	}
	// 省略
}
protected long registerWithLeader(int pktType) throws IOException{
	// 省略

    /**
     * follower 向 leader 发送 FOLLOWERINFO 信息,包括 zxid,sid,protocol version
     */
    writePacket(qp, true);

    /**
     * follower 接收 leader 发送的 LEADERINFO 信息
     */
    readPacket(qp);

    /**
     * 解析 leader 发送的 new epoch 值
     */        
    final long newEpoch = ZxidUtils.getEpochFromZxid(qp.getZxid());
	if (qp.getType() == Leader.LEADERINFO) {
    	// we are connected to a 1.0 server so accept the new epoch and read the next packet
    	leaderProtocolVersion = ByteBuffer.wrap(qp.getData()).getInt();
    	byte epochBytes[] = new byte[4];
    	final ByteBuffer wrappedEpochBytes = ByteBuffer.wrap(epochBytes);

    	/**
    	 * new epoch > current accepted epoch 则更新 acceptedEpoch 值
    	 */
    	if (newEpoch > self.getAcceptedEpoch()) {
    		wrappedEpochBytes.putInt((int)self.getCurrentEpoch());
    		self.setAcceptedEpoch(newEpoch);
    	} else if (newEpoch == self.getAcceptedEpoch()) {   		
            wrappedEpochBytes.putInt(-1);
    	} else {
    		throw new IOException("Leaders epoch, " + newEpoch + " is less than accepted epoch, " + self.getAcceptedEpoch());
    	}

    	/**
    	 * follower 向 leader 发送 ACKEPOCH 信息,包括 last zxid
    	 */
    	QuorumPacket ackNewEpoch = new QuorumPacket(Leader.ACKEPOCH, lastLoggedZxid, epochBytes, null);
    	writePacket(ackNewEpoch, true);
        return ZxidUtils.makeZxid(newEpoch, 0);
    } 
} 

从上述代码可以看出在完成 newEpoch 值计算后的 leaderfollower 的交互过程:

  • leaderfollower 发送 LEADERINFO 信息,告知 follower 新的 epoch
  • follower 接收解析 LEADERINFO 信息,若 new epoch 值大于 current accepted epoch 值则更新 acceptedEpoch
  • followerleader 发送 ACKEPOCH 信息,反馈 leader 已收到新的 epoch 值,并附带 follower 节点的 last zxid

数据同步

LearnerHandler 中 leader 在收到过半的 ACKEPOCH 信息之后将进入数据同步阶段

public void run() {
        try {
            // 省略
            // peerLastZxid 为 follower 的 last zxid
            peerLastZxid = ss.getLastZxid();
            
            /* the default to send to the follower */
            int packetToSend = Leader.SNAP;
            long zxidToSend = 0;
            long leaderLastZxid = 0;
            /** the packets that the follower needs to get updates from **/
            long updates = peerLastZxid;
           
            ReentrantReadWriteLock lock = leader.zk.getZKDatabase().getLogLock();
            ReadLock rl = lock.readLock();
            try {
                rl.lock();        
                final long maxCommittedLog = leader.zk.getZKDatabase().getmaxCommittedLog();
                final long minCommittedLog = leader.zk.getZKDatabase().getminCommittedLog();

                LinkedList<Proposal> proposals = leader.zk.getZKDatabase().getCommittedLog();

                if (peerLastZxid == leader.zk.getZKDatabase().getDataTreeLastProcessedZxid()) {
                    /**
                     * follower 与 leader 的 zxid 相同说明 二者数据一致;同步方式为差量同步 DIFF,同步的zxid 为 peerLastZxid, 也就是不需要同步
                     */
                    packetToSend = Leader.DIFF;
                    zxidToSend = peerLastZxid;
                } else if (proposals.size() != 0) {
                    // peerLastZxid 介于 minCommittedLog ,maxCommittedLog 中间
                    if ((maxCommittedLog >= peerLastZxid)
                            && (minCommittedLog <= peerLastZxid)) {
                        /**
                         * 在遍历 proposals 时,用来记录上一个 proposal 的 zxid
                         */
                        long prevProposalZxid = minCommittedLog;

                        boolean firstPacket=true;
                        packetToSend = Leader.DIFF;
                        zxidToSend = maxCommittedLog;

                        for (Proposal propose: proposals) {
                            // 跳过 follower 已经存在的提案
                            if (propose.packet.getZxid() <= peerLastZxid) {
                                prevProposalZxid = propose.packet.getZxid();
                                continue;
                            } else {
                                if (firstPacket) {
                                    firstPacket = false;
                                    if (prevProposalZxid < peerLastZxid) {
                                        /**
                                         * 此时说明有部分 proposals 提案在 leader 节点上不存在,则需告诉 follower 丢弃这部分 proposals
                                         * 也就是告诉 follower 先执行回滚 TRUNC ,需要回滚到 prevProposalZxid 处,也就是 follower 需要丢弃 prevProposalZxid ~ peerLastZxid 范围内的数据
                                         * 剩余的 proposals 则通过 DIFF 进行同步
                                         */
                                        packetToSend = Leader.TRUNC;                                        
                                        zxidToSend = prevProposalZxid;
                                        updates = zxidToSend;
                                    }
                                }

                                /**
                                 * 将剩余待 DIFF 同步的提案放入到队列中,等待发送
                                 */
                                queuePacket(propose.packet);
                                /**
                                 * 每个提案后对应一个 COMMIT 报文
                                 */
                                QuorumPacket qcommit = new QuorumPacket(Leader.COMMIT, propose.packet.getZxid(),
                                        null, null);
                                queuePacket(qcommit);
                            }
                        }
                    } else if (peerLastZxid > maxCommittedLog) {                    
                        /**
                         * follower 的 zxid 比 leader 大 ,则告诉 follower 执行 TRUNC 回滚
                         */
                        packetToSend = Leader.TRUNC;
                        zxidToSend = maxCommittedLog;
                        updates = zxidToSend;
                    } else {
                    }
                } 

            } finally {
                rl.unlock();
            }

             QuorumPacket newLeaderQP = new QuorumPacket(Leader.NEWLEADER,
                    ZxidUtils.makeZxid(newEpoch, 0), null, null);
             if (getVersion() < 0x10000) {
                oa.writeRecord(newLeaderQP, "packet");
            } else {
                 // 数据同步完成之后会发送 NEWLEADER 信息
                queuedPackets.add(newLeaderQP);
            }
            bufferedOutput.flush();
            //Need to set the zxidToSend to the latest zxid
            if (packetToSend == Leader.SNAP) {
                zxidToSend = leader.zk.getZKDatabase().getDataTreeLastProcessedZxid();
            }
            /**
             * 发送数据同步方式信息,告诉 follower 按什么方式进行数据同步
             */
            oa.writeRecord(new QuorumPacket(packetToSend, zxidToSend, null, null), "packet");
            bufferedOutput.flush();
            
            /* if we are not truncating or sending a diff just send a snapshot */
            if (packetToSend == Leader.SNAP) {
                /**
                 * 如果是全量同步的话,则将 leader 本地数据序列化写入 follower 的输出流
                 */
                leader.zk.getZKDatabase().serializeSnapshot(oa);
                oa.writeString("BenWasHere", "signature");
            }
            bufferedOutput.flush();
            
            /**
             * 开启个线程执行 packet 发送
             */
            sendPackets();
            
            /**
             * 接收 follower ack 响应
             */
            qp = new QuorumPacket();
            ia.readRecord(qp, "packet");

            /**
             * 阻塞等待过半的 follower ack
             */
            leader.waitForNewLeaderAck(getSid(), qp.getZxid(), getLearnerType());

            /**
             * leader 向 follower 发送 UPTODATE,告知其可对外提供服务
             */
            queuedPackets.add(new QuorumPacket(Leader.UPTODATE, -1, null, null));

            // 省略
        } 
    }

从上述代码可以看出 leaderfollower 在进行数据同步时会通过 peerLastZxidmaxCommittedLogminCommittedLog 两个值比较最终决定数据同步方式。

DIFF(差异化同步)

  • followerpeerLastZxid 等于 leaderpeerLastZxid

此时说明 followerleader 数据一致,采用 DIFF 方式同步,也即是无需同步

  • followerpeerLastZxid 介于 maxCommittedLogminCommittedLog 两者之间

此时说明 followerleader 数据存在差异,需对差异的部分进行同步;首先 leader 会向 follower 发送 DIFF 报文告知其同步方式,随后会发送差异的提案及提案提交报文

交互流程如下:

    Leader                 Follower

      |          DIFF         |  
      | --------------------> |
      |        PROPOSAL       |  
      | --------------------> |  
      |         COMMIT        |  
      | --------------------> |
      |        PROPOSAL       |  
      | --------------------> |  
      |         COMMIT        |  
      | --------------------> |
         

示例: 假设 leader 节点的提案缓存队列对应的 zxid 依次是:

 0x500000001, 0x500000002, 0x500000003, 0x500000004, 0x500000005

follower 节点的 peerLastZxid0x500000003,则需要将 0x5000000040x500000005 两个提案进行同步;那么数据包发送过程如下表:

报文类型 ZXID
DIFF 0x500000005
PROPOSAL 0x500000004
COMMIT 0x500000004
PROPOSAL 0x500000005
COMMIT 0x500000005

TRUNC+DIFF(先回滚再差异化同步)

在上文 DIFF 差异化同步时会存在一个特殊场景就是 虽然 followerpeerLastZxid 介于 maxCommittedLogminCommittedLog 两者之间,但是 followerpeerLastZxidleader 节点中不存在; 此时 leader 需告知 follower 先回滚到 peerLastZxid 的前一个 zxid, 回滚后再进行差异化同步。

交互流程如下:

    Leader                 Follower

      |         TRUNC         |  
      | --------------------> |
      |        PROPOSAL       |  
      | --------------------> |  
      |         COMMIT        |  
      | --------------------> |
      |        PROPOSAL       |  
      | --------------------> |  
      |         COMMIT        |  
      | --------------------> |
         

示例: 假设集群中三台节点 A, B, C 某一时刻 A 为 Leader 选举周期为 5, zxid 包括: (0x500000004, 0x500000005, 0x500000006); 假设某一时刻 leader A 节点在处理完事务为 0x500000007 的请求进行广播时 leader A 节点服务器宕机导致 0x500000007 该事物没有被同步出去;在集群进行下一轮选举之后 B 节点成为新的 leader,选举周期为 6 对外提供服务处理了新的事务请求包括 0x600000001, 0x600000002;

集群节点 ZXID 列表
A 0x500000004, 0x500000005, 0x500000006, 0x500000007
B 0x500000004, 0x500000005, 0x500000006, 0x600000001, 0x600000002
C 0x500000004, 0x500000005, 0x500000006, 0x600000001, 0x600000002

此时节点 A 在重启加入集群后,在与 leader B 节点进行数据同步时会发现事务 0x500000007 在 leader 节点中并不存在,此时 leader 告知 A 需先回滚事务到 0x500000006,在差异同步事务 0x600000001,0x600000002;那么数据包发送过程如下表:

报文类型 ZXID
TRUNC 0x500000006
PROPOSAL 0x600000001
COMMIT 0x600000001
PROPOSAL 0x600000002
COMMIT 0x600000002

TRUNC(回滚同步)

followerpeerLastZxid 大于 leadermaxCommittedLog,则告知 follower 回滚至 maxCommittedLog; 该场景可以认为是 TRUNC+DIFF 的简化模式

交互流程如下:

    Leader                 Follower

      |         TRUNC         |  
      | --------------------> |
         

SNAP(全量同步)

followerpeerLastZxid 小于 leaderminCommittedLog 或者 leader 节点上不存在提案缓存队列时,将采用 SNAP 全量同步方式。 该模式下 leader 首先会向 follower 发送 SNAP 报文,随后从内存数据库中获取全量数据序列化传输给 followerfollower 在接收全量数据后会进行反序列化加载到内存数据库中。

交互流程如下:

    Leader                 Follower

      |         SNAP          |  
      | --------------------> |
      |         DATA          |  
      | --------------------> |
         

leader 在完成数据同步之后,会向 follower 发送 NEWLEADER 报文,在收到过半的 follower 响应的 ACK 之后此时说明过半的节点完成了数据同步,接下来 leader 会向 follower 发送 UPTODATE 报文告知 follower 节点可以对外提供服务了,此时 leader 会启动 zk server 开始对外提供服务。

FOLLOWER 数据同步

下面我们在看下数据同步阶段 FOLLOWER 是如何处理的,参考 Learner.syncWithLeader

protected void syncWithLeader(long newLeaderZxid) throws IOException, InterruptedException{
        QuorumPacket ack = new QuorumPacket(Leader.ACK, 0, null, null);
        QuorumPacket qp = new QuorumPacket();
        long newEpoch = ZxidUtils.getEpochFromZxid(newLeaderZxid);

        /**
         * 接收 leader 发送的数据同步方式报文
         */
        readPacket(qp);
        
        synchronized (zk) {
            if (qp.getType() == Leader.DIFF) {
                
            }
            else if (qp.getType() == Leader.SNAP) {
                // 执行加载全量数据
            } else if (qp.getType() == Leader.TRUNC) {
                // 执行回滚
            }
            else {
            
            }
            
            outerLoop:
            while (self.isRunning()) {
                readPacket(qp);
                switch(qp.getType()) {
                case Leader.PROPOSAL:
                    // 处理提案
                    break;
                case Leader.COMMIT:
                    // commit proposal
                    break;
                case Leader.INFORM:
                    // 忽略
                    break;
                case Leader.UPTODATE:
                    // 设置 zk server
                    self.cnxnFactory.setZooKeeperServer(zk);
                    // 退出循环                
                    break outerLoop;
                case Leader.NEWLEADER: // Getting NEWLEADER here instead of in discovery 
                    /**
                     * follower 响应 NEWLEADER ACK
                     */
                    writePacket(new QuorumPacket(Leader.ACK, newLeaderZxid, null, null), true);
                    break;
                }
            }
        }
        ack.setZxid(ZxidUtils.makeZxid(newEpoch, 0));
        writePacket(ack, true);
        // 启动 zk server
        zk.startup();
        
    }

从上述代码中可以看出 follower 在数据同步阶段的处理流程如下:

  • follower 接收 leader 发送的数据同步方式(DIFF/TRUNC/SANP)报文并进行相应处理

  • follower 收到 leader 发送的 NEWLEADER 报文后,会向 leader 响应 ACK (leader 在收到过半的 ACK 消息之后会发送 UPTODATE)

  • follower 收到 leader 发送的 UPTODATE 报文后,说明此时可以对外提供服务,此时将启动 zk server

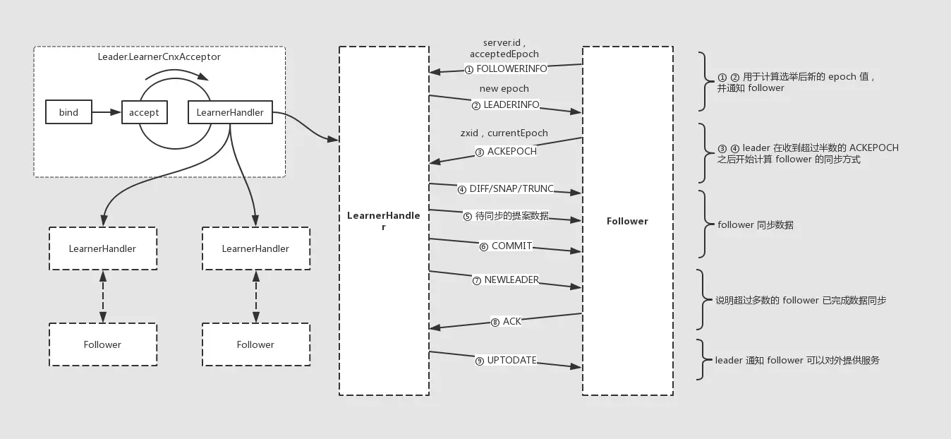
小结

最后用一张图总结下 zk 在完成选举后数据同步的过程如下图所示: