[InnoDB]性别字段为什么不适合加索引

5,588 阅读2分钟

表结构与数据

id为主键,id为奇数sex=1,id为偶数sex=0 sex=0,50000条数据;sex=1,50000条数据

CREATE TABLE `people` (
  `id` bigint(20) unsigned NOT NULL AUTO_INCREMENT,
  `name` varchar(255) DEFAULT NULL,
  `sex` tinyint(1) unsigned DEFAULT NULL,
  PRIMARY KEY (`id`)
) ENGINE=InnoDB AUTO_INCREMENT=100001 DEFAULT CHARSET=utf8;
CREATE DEFINER=`root`@`localhost` PROCEDURE `proc_initData`()
BEGIN
    DECLARE i INT DEFAULT 1;
    WHILE i<=100000 DO
        INSERT INTO people(name, sex) VALUES(CONCAT('姓名',i),0);
        SET i = i+1;
    END WHILE;
END

CALL proc_initData();
UPDATE people SET sex = 1 WHERE MOD(id,2) = 1;

添加的索引类型

测试结果:

SELECT * FROM people WHERE sex = 0;
SELECT * FROM people WHERE sex = 1;
无sex索引 有sex索引
sex=0
在这里插入图片描述
在这里插入图片描述
sex=1
在这里插入图片描述
在这里插入图片描述

添加索引后的EXPLAIN:

可以看到相同的sql,加索引之后比不加索引慢许多。

原因

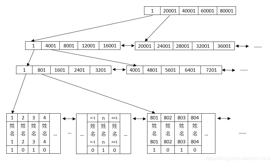
在InnoDB中每一个表都会有聚集索引,如果表定义了主键,则主键就是聚集索引。一个表只有一个聚集索引,其余为普通索引。 索引的结构是B+树,非叶子节点存储key,叶子节点存储value。

  1. 聚集索引,叶子节点存储行记录,InnoDB索引和记录是存储在一起的。
  2. 普通索引,叶子节点存储了主键的值。

以上表的索引结构示例如下(PS:索引结构仅供参考) 聚集索引

sex列普通索引

在使用普通索引查询时,会先加载普通索引,通过普通索引查询到实际行的主键。再使用主键通过聚集索引查询相应的行。以此循环查询所有的行。 若直接全量搜索聚集索引,则不需要在普通索引和聚集索引中来回切换。 相比两种操作的总开销可能扫描全表效率更高。

参考:
mp.weixin.qq.com/s/tmkRAmc1M…
blog.jcole.us/innodb/
blog.csdn.net/u012978884/…
draveness.me/mysql-innod…