前言
一般来说,前端在算法方面接触的不多,除非是一些大公司,可能对此有要求,但是对于一个前端来说,了解一些基本的算法也是必需的,在遇到这方面的需求时,也不至于捉襟见肘,手足无措,今天来说说经常提及的几个算法,后续如有必要在补充。
冒泡排序
冒泡排序是最基本的排序,也是算法入门的第一个排序方法,比较简单,两两比较,值大的与值小的交换位置,经过一定循环次数后就能完成排序,相比其他排序方法,在面对较多数据时耗时最多。
平均时间复杂度:O(n^2)
最好情况:O(n)
最坏情况:O(n^2)
稳定性:稳定
伪代码:
“<-”表示赋值符号,
a<-{
"0":7
"1":5
"2":4
"3":3
"4":2
"length":5
}
//循环次数
n<-1
while(n<length)
while(i<-0;i<length-n)
if(a[i]>a[i+1])
t<-a[i]
a[i]<-a[i+1]
a[i+1]<-t
i<-i+1
end
n<-n+1
end
print a
end
js代码
function arr(a) {
var j=a.length;
n=1;
for(n=1;n<j;n++){
for(i=0;i<j-n;i++){
if (a[i]>a[i+1]){
t=a[i];
a[i]=a[i+1];
a[i+1]=t;
}
}
} console.log(a);
}
arr([4,2,7,5,3,10,8,1,0,16])
流程图

选择排序
选择排序首先从原始数组中找到最小的元素,并把该元素放在数组的最前面,然后再从剩下的元素中寻找最小的元素,放在之前最小元素的后面,直到排序完毕。
平均时间复杂度:O(n^2)
最好情况:O(n^2)
最坏情况:O(n^2)
稳定性:不稳定
伪代码
a<-{
"0":7
"1":5
"2":4
"3":3
"4":2
"length":5
}
n<-1//循环次数
while(n<length)
minindex<-n-1
index<-minindex+1
while(index<length)
if(a[minindex]>a[index])
minindex<-index
index<-index+1
end
n<-n+1
end
print a
end
js代码
function iarr(a){
for(var n=1;n<a.length;n++){
var minindex=n-1;
for(var index=minindex+1;index<a.length;index++){
if(a[minindex]>a[index]){
minindex=index;
}
}
var t=a[n-1];
a[n-1]=a[minindex];
a[minindex]=t;
}
console.log(a)
}
iarr([4,2,7,5,3,10,8,1,0,16])

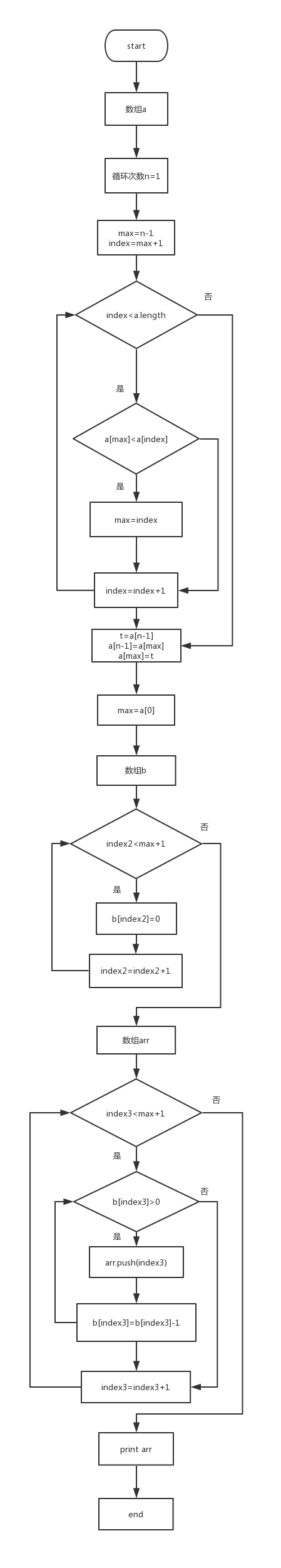
计数排序
计数排序是用于确定范围的整数的线性时间排序算法,这一句话我们就可以知道计数排序该如何用了(注意:它只能使用在整数范围)
平均时间复杂度:O(n+k)
最好情况:O(n+k)
最坏情况:O(n+k)
稳定性:稳定
伪代码
a<-{
"0":7
"1":5
"2":4
"3":3
"4":2
"length":5
}
n<-1//循环次数
max<-n-1
index<-max+1
while(index<length)
if(a[max]<a[index])//循环找出最大值max
max<-index
index<-index+1
end
t<-a[n-1]
a[n-1]<-a[max]
a[max]<-t
end
b<-{}//创建新数组,填充0
max<-a[0]
while(index2<max+1)
b[index2]<-0
index2<-index2+1
end
while(index2<length)//将a数组值依照出现次数放在对应的b数组中,
b[a[index]]<-b[a[index]]+1
index2<-index2+1
end
b<-{
"0":0
"1":0
"2":1
"3":1
"4":1
"5":1
"6":0
"7":1
}
arr<-{}
index3<-0
while(index3<max+1)
if(b[index3]>0)
arr.push(index3)//将符合要求的值推入新数组arr
b[index3]<-b[index3]-1
index3<-index3+1
end
print a
end
js代码
function maths(arr){
var j=arr.length;
var orr=[];
n=1;
max=n-1;
for(n=1;index<j;index++){
if(arr[max]<arr[index]){
max=index;
}
var t=arr[n-1];
arr[n-1]=arr[max]
arr[max]=t;
}
max=arr[0];
var B=[];
for(var index2=0;index2<max+1;index2++){
B[index2]=0;
}
for(index2=0;index2<j;index2++){
B[arr[index2]]++
}
for(index3=0;index3<max+1;index3++){
while (B[index3]>0) {
orr.push(index3);
B[index3]--;
}
}
console.log(orr);
}
maths([7,5,4,3,2])
流程图

未完待续……