在现代操作系统里,由于系统资源可能同时被多个应用程序访问,如果不加保护,那各个应用程序之间可能会产生冲突,对于恶意应用程序更可能导致系统奔溃。这里所说的系统资源包括文件、网络、各种硬件设备等。比如要操作文件必须借助操作系统提供的api(比如linux下的fopen)。
系统调用在我们工作中无时无刻不打着交道,那系统调用的原理是什么呢?在其过程中做了哪些事情呢?
本文将阐述系统调用原理,让大家对于系统调用有一个清晰的认识。
更多文章见个人博客:github.com/farmerjohng…
概述
现代cpu通常有多种特权级别,一般来说特权级总共有4个,编号从Ring 0(最高特权)到Ring 3(最低特权),在Linux上之用到Ring 0和RIng 3,用户态对应Ring 3,内核态对应Ring 0。
普通应用程序运行在用户态下,其诸多操作都受到限制,比如改变特权级别、访问硬件等。特权高的代码能将自己降至低等级的级别,但反之则是不行的。而系统调用是运行在内核态的,那么运行在用户态的应用程序如何运行内核态的代码呢?操作系统一般是通过中断来从用户态切换到内核态的。学过操作系统课程的同学对中断这个词肯定都不陌生。
中断一般有两个属性,一个是中断号,一个是中断处理程序。不同的中断有不同的中断号,每个中断号都对应了一个中断处理程序。在内核中有一个叫中断向量表的数组来映射这个关系。当中断到来时,cpu会暂停正在执行的代码,根据中断号去中断向量表找出对应的中断处理程序并调用。中断处理程序执行完成后,会继续执行之前的代码。
中断分为硬件中断和软件中断,我们这里说的是软件中断,软件中断通常是一条指令,使用这条指令用户可以手动触发某个中断。例如在i386下,对应的指令是int,在int指令后指定对应的中断号,如int 0x80代表你调用第0x80号的中断处理程序。
中断号是有限的,所有不会用一个中断来对应一个系统调用(系统调用有很多)。Linux下用int 0x80触发所有的系统调用,那如何区分不同的调用呢?对于每个系统调用都有一个系统调用号,在触发中断之前,会将系统调用号放入到一个固定的寄存器,0x80对应的中断处理程序会读取该寄存器的值,然后决定执行哪个系统调用的代码。
在Linux2.5(具体版本不是很确定)之前的版本,是使用int 0x80这样的方式实现系统调用的,但其实int指令这样的形式性能不太好,原因如下(出自这篇文章):
在 x86 保护模式中,处理 INT 中断指令时,CPU 首先从中断描述表 IDT 取出对应的门描述符,判断门描述符的种类,然后检查门描述符的级别 DPL 和 INT 指令调用者的级别 CPL,当 CPL<=DPL 也就是说 INT 调用者级别高于描述符指定级别时,才能成功调用,最后再根据描述符的内容,进行压栈、跳转、权限级别提升。内核代码执行完毕之后,调用 IRET 指令返回,IRET 指令恢复用户栈,并跳转会低级别的代码。
其实,在发生系统调用,由 Ring3 进入 Ring0 的这个过程浪费了不少的 CPU 周期,例如,系统调用必然需要由 Ring3 进入 Ring0(由内核调用 INT 指令的方式除外,这多半属于 Hacker 的内核模块所为),权限提升之前和之后的级别是固定的,CPL 肯定是 3,而 INT 80 的 DPL 肯定也是 3,这样 CPU 检查门描述符的 DPL 和调用者的 CPL 就是完全没必要。
正是由于如此,在linux2.5开始支持一种新的系统调用,其基于Intel 奔腾2代处理器就开始支持的一组专门针对系统调用的指令sysenter/sysexit。sysenter 指令用于由 Ring3 进入 Ring0,sysexit指令用于由 Ring0 返回 Ring3。由于没有特权级别检查的处理,也没有压栈的操作,所以执行速度比 INT n/IRET 快了不少。
本文分析的是int指令,新型的系统调用机制可以参见下面几篇文章:
基于int的系统调用
触发中断
我们以系统调用fork为例,fork函数的定义在glibc(2.17版本)的unistd.h
/* Clone the calling process, creating an exact copy.
Return -1 for errors, 0 to the new process,
and the process ID of the new process to the old process. */
extern __pid_t fork (void) __THROWNL;
fork函数的实现代码比较难找,在nptl\sysdeps\unix\sysv\linux\fork.c中有这么一段代码
weak_alias (__libc_fork, __fork)
libc_hidden_def (__fork)
weak_alias (__libc_fork, fork)
其作用简单的说就是将__libc_fork当作__fork的别名,所以fork函数的实现是在__libc_fork中,核心代码如下
#ifdef ARCH_FORK
pid = ARCH_FORK ();
#else
# error "ARCH_FORK must be defined so that the CLONE_SETTID flag is used"
pid = INLINE_SYSCALL (fork, 0);
#endif
我们分析定义了ARCH_FORK的情况,ARCH_FORK定义在nptl\sysdeps\unix\sysv\linux\i386\fork.c中,代码如下:
#define ARCH_FORK() \
INLINE_SYSCALL (clone, 5, \
CLONE_CHILD_SETTID | CLONE_CHILD_CLEARTID | SIGCHLD, 0, \
NULL, NULL, &THREAD_SELF->tid)
INLINE_SYSCALL代码在sysdeps\unix\sysv\linux\i386\sysdep.h
#undef INLINE_SYSCALL
#define INLINE_SYSCALL(name, nr, args...) \
({ \
unsigned int resultvar = INTERNAL_SYSCALL (name, , nr, args); \
if (__builtin_expect (INTERNAL_SYSCALL_ERROR_P (resultvar, ), 0)) \
{ \
__set_errno (INTERNAL_SYSCALL_ERRNO (resultvar, )); \
resultvar = 0xffffffff; \
} \
(int) resultvar; })
INLINE_SYSCALL主要是调用同文件下的INTERNAL_SYSCALL
# define INTERNAL_SYSCALL(name, err, nr, args...) \
({ \
register unsigned int resultvar; \
EXTRAVAR_##nr \
asm volatile ( \
LOADARGS_##nr \
"movl %1, %%eax\n\t" \
"int $0x80\n\t" \
RESTOREARGS_##nr \
: "=a" (resultvar) \
: "i" (__NR_##name) ASMFMT_##nr(args) : "memory", "cc"); \
(int) resultvar; })
#define __NR_clone 120
这里是一段内联汇编代码, 其中__NR_##name的值为 __NR_clone即120。这里主要是两个步骤:
- 设置eax寄存器的值为120
- 执行
int $0x80陷入中断
int $0x80指令会让cpu陷入中断,执行对应的0x80中断处理函数。不过在这之前,cpu还需要进行栈切换。
因为在linux中,用户态和内核态使用的是不同的栈(可以看看这篇文章),两者负责各自的函数调用,互不干扰。在执行int $0x80时,程序需要由用户态切换到内核态,所以程序当前栈也要从用户栈切换到内核栈。与之对应,当中断程序执行结束返回时,当前栈要从内核栈切换回用户栈。
这里说的当前栈指的就是ESP寄存器的值所指向的栈。ESP的值位于用户栈的范围,那程序的当前栈就是用户栈,反之亦然。此外寄存器SS的值指向当前栈所在的页。因此,将用户栈切换到内核栈的过程是:
- 将当前ESP、SS等寄存器的值存到内核栈上。
- 将ESP、SS等值设置为内核栈的相应值。
反之,从内核栈切换回用户栈的过程:恢复ESP、SS等寄存器的值,也就是用保存在内核栈的原ESP、SS等值设置回对应寄存器。
中断处理程序
在切换到内核栈之后,就开始执行中断向量表的0x80号中断处理程序。中断处理程序除了系统调用(0x80)还有如除0异常(0x00)、缺页异常(0x14)等等,在arch\i386\kernel\traps.c文件的trap_init方法中描述了中断处理程序向中断向量表注册的过程:
void __init trap_init(void)
{
#ifdef CONFIG_EISA
void __iomem *p = ioremap(0x0FFFD9, 4);
if (readl(p) == 'E'+('I'<<8)+('S'<<16)+('A'<<24)) {
EISA_bus = 1;
}
iounmap(p);
#endif
#ifdef CONFIG_X86_LOCAL_APIC
init_apic_mappings();
#endif
set_trap_gate(0,÷_error);
set_intr_gate(1,&debug);
set_intr_gate(2,&nmi);
set_system_intr_gate(3, &int3); /* int3-5 can be called from all */
set_system_gate(4,&overflow);
set_system_gate(5,&bounds);
set_trap_gate(6,&invalid_op);
set_trap_gate(7,&device_not_available);
set_task_gate(8,GDT_ENTRY_DOUBLEFAULT_TSS);
set_trap_gate(9,&coprocessor_segment_overrun);
set_trap_gate(10,&invalid_TSS);
set_trap_gate(11,&segment_not_present);
set_trap_gate(12,&stack_segment);
set_trap_gate(13,&general_protection);
set_intr_gate(14,&page_fault);
set_trap_gate(15,&spurious_interrupt_bug);
set_trap_gate(16,&coprocessor_error);
set_trap_gate(17,&alignment_check);
#ifdef CONFIG_X86_MCE
set_trap_gate(18,&machine_check);
#endif
set_trap_gate(19,&simd_coprocessor_error);
set_system_gate(SYSCALL_VECTOR,&system_call);
/*
* Should be a barrier for any external CPU state.
*/
cpu_init();
trap_init_hook();
}
SYSCALL_VECTOR定义如下:
#define SYSCALL_VECTOR 0x80
所以0x80对应的处理程序就是system_call这个方法,该方法位于arch\i386\kernel\entry.S
ENTRY(system_call)
//code 1: 保存各种寄存器
SAVE_ALL
...
jnz syscall_trace_entry
//如果传入的系统调用号大于最大的系统调用号,则跳转到无效调用处理
cmpl $(nr_syscalls), %eax
jae syscall_badsys
syscall_call:
//code 2: 根据系统调用号(存储在eax中)来调用对应的系统调用程序
call *sys_call_table(,%eax,4)
//保存系统调用返回值到eax寄存器中
movl %eax,EAX(%esp) # store the return value
...
restore_all:
//code 3:恢复各种寄存器的值 以及执行iret指令
RESTORE_ALL
...
主要分为几步:
1.保存各种寄存器
2.根据系统调用号执行对应的系统调用程序,将返回结果存入到eax中
3.恢复各种寄存器
其中保存各种寄存器的SAVE_ALL定义在entry.S中:
#define SAVE_ALL \
cld; \
pushl %es; \
pushl %ds; \
pushl %eax; \
pushl %ebp; \
pushl %edi; \
pushl %esi; \
pushl %edx; \
pushl %ecx; \
pushl %ebx; \
movl $(__USER_DS), %edx; \
movl %edx, %ds; \
movl %edx, %es;
sys_call_table定义在entry.S中:
.data
ENTRY(sys_call_table)
.long sys_restart_syscall /* 0 - old "setup()" system call, used for restarting */
.long sys_exit
.long sys_fork
.long sys_read
.long sys_write
.long sys_open /* 5 */
...
.long sys_sigreturn
.long sys_clone /* 120 */
...
sys_call_table就是系统调用表,每一个long元素(4字节)都是一个系统调用地址,所以 *sys_call_table(,%eax,4)的含义就是sys_call_table上偏移量为0+%eax*4元素所指向的系统调用,即第%eax个系统调用。上文中fork系统调用最终设置到eax的值是120,那最终执行的就是sys_clone这个函数,注意其实现和第2个系统调用sys_fork基本一样,只是参数不同,关于fork和clone的区别可以看这里,代码如下:
//kernel\fork.c
asmlinkage int sys_fork(struct pt_regs regs)
{
return do_fork(SIGCHLD, regs.esp, ®s, 0, NULL, NULL);
}
asmlinkage int sys_clone(struct pt_regs regs)
{
unsigned long clone_flags;
unsigned long newsp;
int __user *parent_tidptr, *child_tidptr;
clone_flags = regs.ebx;
newsp = regs.ecx;
parent_tidptr = (int __user *)regs.edx;
child_tidptr = (int __user *)regs.edi;
if (!newsp)
newsp = regs.esp;
return do_fork(clone_flags, newsp, ®s, 0, parent_tidptr, child_tidptr);
}
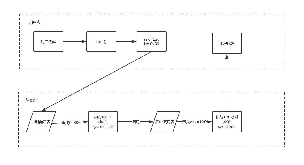
一次系统调用的基本过程已经分析完,剩下的具体处理逻辑和本文无关就不分析了,有兴趣的同学可以自己看看。
整体调用流程图如下:

End
想写这篇文章的原因主要是年前在看《《程序员的自我修养》》这本书,之前对于系统调用这块有一些了解但很零碎和模糊,看完本书系统调用这一章后消除了我许多疑问。总体来说这是一本不错的书,但我相关的基础比较薄弱,所以收获不多。