什么是跨域?
需要JAVA Spring Cloud大型企业分布式微服务云构建的B2B2C电子商务平台源码 一零三八七七四六二六
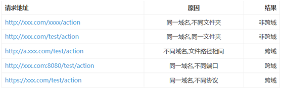
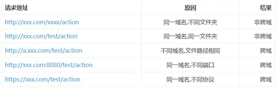
假设你在http://xxx.com/test/下有一个js文件,从这个js里发出一个ajax请求请求后端服务,按照如下情况判定:

解决方案:
1) JSONP :
动态添加一个
2) NGINX代理 :
通过一个代理服务器,将跨域的请求转发,如:前端JS在http://www.demo.com/a.js,后端是http://www.abc.com/app/action,通过代理可将后端的地址转换成http://www.demo/app/action,这样,从前端发起的请求,就不存在跨域的情况了
3)CORS
然后CORS是支持所有类型的HTTP请求,并且也只是服务端进行设置即可,但是缺点就是老的浏览器不支持CORS(如:IE7,7,8,等)
什么是CORS?
Cross-origin resource sharing(跨域资源共享),是一个W3C标准,它允许你向一个不同源的服务器发出XMLHttpRequest请求,从而克服了ajax只能请求同源服务的限制.并且也可以通过灵活的设置,来指定什么样的请求是可以被授权的.
CORS的响应头
Access-Control-Allow-Origin : 必须的,允许的域名,如果设置*,则表示接受任何域名
Access-Control-Allow-Credentials : 非必须的,表示是否允许发送Cookie,注意,当设置为true的时候,客户端的ajax请求,也需要将withCredentials属性设置为true
Access-Control-Expose-Headers : 非必须的,表示客户端能拿到的header,默认情况下XMLHttpRequest的getResponseHeader方法只能拿到几个基本的header,如果有自定义的header要获取的话,则需要设置此值
Access-Control-Request-Method : 必须的,表示CORS上会使用到那些HTTP方法
Access-Control-Request-Headers : 必须的,表示CORS上会有那些额外的的有信息
代码实现:
@Component
public class SimpleCORSFilter implements Filter {
public void doFilter(ServletRequest req, ServletResponse res, FilterChain chain) throws IOException, ServletException {
HttpServletResponse response = (HttpServletResponse) res;
response.setHeader("Access-Control-Allow-Origin", "*");
response.setHeader("Access-Control-Allow-Methods", "POST, GET, OPTIONS, DELETE");
response.setHeader("Access-Control-Max-Age", "3600");
response.setHeader("Access-Control-Allow-Headers", "x-requested-with");
chain.doFilter(req, res);
}
public void init(FilterConfig filterConfig) {}
public void destroy() {}
}
也可以通过nginx配置CORS:
#
# Wide-open CORS config for nginx
#
location / {
if ($request_method = 'OPTIONS') {
add_header 'Access-Control-Allow-Origin' '*';
add_header 'Access-Control-Allow-Methods' 'GET, POST, OPTIONS';
#
# Custom headers and headers various browsers *should* be OK with but aren't
#
add_header 'Access-Control-Allow-Headers' 'DNT,X-CustomHeader,Keep-Alive,User-Agent,X-Requested-With,If-Modified-Since,Cache-Control,Content-Type,Content-Range,Range';
#
# Tell client that this pre-flight info is valid for 20 days
#
add_header 'Access-Control-Max-Age' 1728000;
add_header 'Content-Type' 'text/plain; charset=utf-8';
add_header 'Content-Length' 0;
return 204;
}
if ($request_method = 'POST') {
add_header 'Access-Control-Allow-Origin' '*';
add_header 'Access-Control-Allow-Methods' 'GET, POST, OPTIONS';
add_header 'Access-Control-Allow-Headers' 'DNT,X-CustomHeader,Keep-Alive,User-Agent,X-Requested-With,If-Modified-Since,Cache-Control,Content-Type,Content-Range,Range';
add_header 'Access-Control-Expose-Headers' 'DNT,X-CustomHeader,Keep-Alive,User-Agent,X-Requested-With,If-Modified-Since,Cache-Control,Content-Type,Content-Range,Range';
}
if ($request_method = 'GET') {
add_header 'Access-Control-Allow-Origin' '*';
add_header 'Access-Control-Allow-Methods' 'GET, POST, OPTIONS';
add_header 'Access-Control-Allow-Headers' 'DNT,X-CustomHeader,Keep-Alive,User-Agent,X-Requested-With,If-Modified-Since,Cache-Control,Content-Type,Content-Range,Range';
add_header 'Access-Control-Expose-Headers' 'DNT,X-CustomHeader,Keep-Alive,User-Agent,X-Requested-With,If-Modified-Since,Cache-Control,Content-Type,Content-Range,Range';
}
}