前面分析了RecyclerView的基本结构
本文继续来看一下RecyclerView是如何完成UI的刷新以及在滑动时子View的添加逻辑。
本文会从源码分析两件事 :
-
adapter.notifyXXX()时RecyclerView的UI刷新的逻辑,即子View是如何添加到RecyclerView中的。 - 在数据存在的情况下,滑动
RecyclerView时子View是如何添加到RecyclerView并滑动的。
本文不会涉及到RecyclerView的动画,动画的实现会专门在一篇文章中分析。
adapter.notifyDataSetChanged()引起的刷新
我们假设RecyclerView在初始状态是没有数据的,然后往数据源中加入数据后,调用adapter.notifyDataSetChanged()来引起RecyclerView的刷新:
data.addAll(datas)
adapter.notifyDataSetChanged()
用图描述就是下面两个状态的转换:

接下来就来分析这个变化的源码,在上一篇文章中已经解释过,adapter.notifyDataSetChanged()时,会引起RecyclerView重新布局(requestLayout),RecyclerView的onMeasure就不看了,核心逻辑不在这里。因此从onLayout()方法开始看:
RecyclerView.onLayout
这个方法直接调用了dispatchLayout:
void dispatchLayout() {
...
if (mState.mLayoutStep == State.STEP_START) {
dispatchLayoutStep1();
dispatchLayoutStep2();
} else if (数据变化 || 布局变化) {
dispatchLayoutStep2();
}
dispatchLayoutStep3();
}
上面我裁剪掉了一些代码,可以看到整个布局过程总共分为3步, 下面是这3步对应的方法:
STEP_START -> dispatchLayoutStep1()
STEP_LAYOUT -> dispatchLayoutStep2()
STEP_ANIMATIONS -> dispatchLayoutStep2(), dispatchLayoutStep3()
第一步STEP_START主要是来存储当前子View的状态并确定是否要执行动画。这一步就不细看了。 而第3步STEP_ANIMATIONS是来执行动画的,本文也不分析了,本文主要来看一下第二步STEP_LAYOUT,即dispatchLayoutStep2():
dispatchLayoutStep2()
先来看一下这个方法的大致执行逻辑:
private void dispatchLayoutStep2() {
startInterceptRequestLayout(); //方法执行期间不能重入
...
//设置好初始状态
mState.mItemCount = mAdapter.getItemCount();
mState.mDeletedInvisibleItemCountSincePreviousLayout = 0;
mState.mInPreLayout = false;
mLayout.onLayoutChildren(mRecycler, mState); //调用布局管理器去布局
mState.mStructureChanged = false;
mPendingSavedState = null;
...
mState.mLayoutStep = State.STEP_ANIMATIONS; //接下来执行布局的第三步
stopInterceptRequestLayout(false);
}
这里有一个mState,它是一个RecyclerView.State对象。顾名思义它是用来保存RecyclerView状态的一个对象,主要是用在LayoutManager、Adapter等组件之间共享RecyclerView状态的。可以看到这个方法将布局的工作交给了mLayout。这里它的实例是LinearLayoutManager,因此接下来看一下LinearLayoutManager.onLayoutChildren():
LinearLayoutManager.onLayoutChildren()
这个方法也挺长的,就不展示具体源码了。不过布局逻辑还是很简单的:
- 确定锚点
(Anchor)View, 设置好AnchorInfo - 根据
锚点View确定有多少布局空间mLayoutState.mAvailable可用 - 根据当前设置的
LinearLayoutManager的方向开始摆放子View
接下来就从源码来看这三步。
确定锚点View
锚点View大部分是通过updateAnchorFromChildren方法确定的,这个方法主要是获取一个View,把它的信息设置到AnchorInfo中 :
mAnchorInfo.mLayoutFromEnd = mShouldReverseLayout // 即和你是否在 manifest中设置了布局 rtl 有关
private boolean updateAnchorFromChildren(RecyclerView.Recycler recycler, RecyclerView.State state, AnchorInfo anchorInfo) {
...
View referenceChild = anchorInfo.mLayoutFromEnd
? findReferenceChildClosestToEnd(recycler, state) //如果是从end(尾部)位置开始布局,那就找最接近end的那个位置的View作为锚点View
: findReferenceChildClosestToStart(recycler, state); //如果是从start(头部)位置开始布局,那就找最接近start的那个位置的View作为锚点View
if (referenceChild != null) {
anchorInfo.assignFromView(referenceChild, getPosition(referenceChild));
...
return true;
}
return false;
}
即, 如果是start to end, 那么就找最接近start(RecyclerView头部)的View作为布局的锚点View。如果是end to start (rtl), 就找最接近end的View作为布局的锚点。
AnchorInfo最重要的两个属性时mCoordinate和mPosition,找到锚点View后就会通过anchorInfo.assignFromView()方法来设置这两个属性:
public void assignFromView(View child, int position) {
if (mLayoutFromEnd) {
mCoordinate = mOrientationHelper.getDecoratedEnd(child) + mOrientationHelper.getTotalSpaceChange();
} else {
mCoordinate = mOrientationHelper.getDecoratedStart(child);
}
mPosition = position;
}
mCoordinate其实就是锚点View的Y(X)坐标去掉RecyclerView的padding。mPosition其实就是锚点View的位置。
确定有多少布局空间可用并摆放子View
当确定好AnchorInfo后,需要根据AnchorInfo来确定RecyclerView当前可用于布局的空间,然后来摆放子View。以布局方向为start to end (正常方向)为例, 这里的锚点View其实是RecyclerView最顶部的View:
// fill towards end (1)
updateLayoutStateToFillEnd(mAnchorInfo); //确定AnchorView到RecyclerView的底部的布局可用空间
...
fill(recycler, mLayoutState, state, false); //填充view, 从 AnchorView 到RecyclerView的底部
endOffset = mLayoutState.mOffset;
// fill towards start (2)
updateLayoutStateToFillStart(mAnchorInfo); //确定AnchorView到RecyclerView的顶部的布局可用空间
...
fill(recycler, mLayoutState, state, false); //填充view,从 AnchorView 到RecyclerView的顶部
上面我标注了(1)和(2), 1次布局是由这两部分组成的, 具体如下图所示 :

然后我们来看一下fill towards end的实现:
fill towards end
确定可用布局空间
在fill之前,需要先确定从锚点View到RecyclerView底部有多少可用空间。是通过updateLayoutStateToFillEnd方法:
updateLayoutStateToFillEnd(anchorInfo.mPosition, anchorInfo.mCoordinate);
void updateLayoutStateToFillEnd(int itemPosition, int offset) {
mLayoutState.mAvailable = mOrientationHelper.getEndAfterPadding() - offset;
...
mLayoutState.mCurrentPosition = itemPosition;
mLayoutState.mLayoutDirection = LayoutState.LAYOUT_END;
mLayoutState.mOffset = offset;
mLayoutState.mScrollingOffset = LayoutState.SCROLLING_OFFSET_NaN;
}
mLayoutState是LinearLayoutManager用来保存布局状态的一个对象。mLayoutState.mAvailable就是用来表示有多少空间可用来布局。mOrientationHelper.getEndAfterPadding() - offset其实大致可以理解为RecyclerView的高度。所以这里可用布局空间mLayoutState.mAvailable就是RecyclerView的高度
摆放子view
接下来继续看LinearLayoutManager.fill()方法,这个方法是布局的核心方法,是用来向RecyclerView中添加子View的方法:
int fill(RecyclerView.Recycler recycler, LayoutState layoutState, RecyclerView.State state, boolean stopOnFocusable) {
final int start = layoutState.mAvailable; //前面分析,其实就是RecyclerView的高度
...
int remainingSpace = layoutState.mAvailable + layoutState.mExtra; //extra 是你设置的额外布局的范围, 这个一般不推荐设置
LayoutChunkResult layoutChunkResult = mLayoutChunkResult; //保存布局一个child view后的结果
while ((layoutState.mInfinite || remainingSpace > 0) && layoutState.hasMore(state)) { //有剩余空间的话,就一直添加 childView
layoutChunkResult.resetInternal();
...
layoutChunk(recycler, state, layoutState, layoutChunkResult); //布局子View的核心方法
...
layoutState.mOffset += layoutChunkResult.mConsumed * layoutState.mLayoutDirection; // 一次 layoutChunk 消耗了多少空间
...
子View的回收工作
}
...
}
这里我们不看子View回收逻辑,会在单独的一篇文章中讲。 即这个方法的核心是调用layoutChunk()来不断消耗layoutState.mAvailable,直到消耗完毕。继续看一下layoutChunk()方法, 这个方法的主要逻辑是:
- 从
Recycler中获取一个View - 添加到
RecyclerView中 - 调整
View的布局参数,调用其measure、layout方法。
void layoutChunk(RecyclerView.Recycler recycler, RecyclerView.State state,LayoutState layoutState, LayoutChunkResult result) {
View view = layoutState.next(recycler); //这个方法会向 recycler view 要一个holder
...
if (mShouldReverseLayout == (layoutState.mLayoutDirection == LayoutState.LAYOUT_START)) { //根据布局方向,添加到不同的位置
addView(view);
} else {
addView(view, 0);
}
measureChildWithMargins(view, 0, 0); //调用view的measure
...measure后确定布局参数 left/top/right/bottom
layoutDecoratedWithMargins(view, left, top, right, bottom); //调用view的layout
...
}
到这里其实就完成了上面的fill towards end:
updateLayoutStateToFillEnd(mAnchorInfo); //确定布局可用空间
...
fill(recycler, mLayoutState, state, false); //填充view
fill towards start就是从锚点View向RecyclerView顶部来摆放子View,具体逻辑类似fill towards end,就不细看了。
RecyclerView滑动时的刷新逻辑
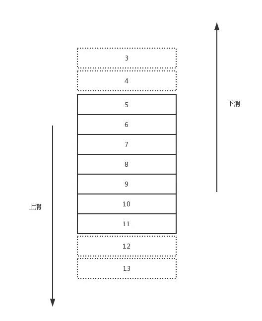
接下来我们再来分析一下在不加载新的数据情况下,RecyclerView在滑动时是如何展示子View的,即下面这种状态 :

下面就来分析一下3、4号和12、13号是如何展示的。
RecyclerView在OnTouchEvent对滑动事件做了监听,然后派发到scrollStep()方法:
void scrollStep(int dx, int dy, @Nullable int[] consumed) {
startInterceptRequestLayout(); //处理滑动时不能重入
...
if (dx != 0) {
consumedX = mLayout.scrollHorizontallyBy(dx, mRecycler, mState);
}
if (dy != 0) {
consumedY = mLayout.scrollVerticallyBy(dy, mRecycler, mState);
}
...
stopInterceptRequestLayout(false);
if (consumed != null) { //记录消耗
consumed[0] = consumedX;
consumed[1] = consumedY;
}
}
即把滑动的处理交给了mLayout, 这里继续看LinearLayoutManager.scrollVerticallyBy, 它直接调用了scrollBy(), 这个方法就是LinearLayoutManager处理滚动的核心方法。
LinearLayoutManager.scrollBy
int scrollBy(int dy, RecyclerView.Recycler recycler, RecyclerView.State state) {
...
final int layoutDirection = dy > 0 ? LayoutState.LAYOUT_END : LayoutState.LAYOUT_START;
final int absDy = Math.abs(dy);
updateLayoutState(layoutDirection, absDy, true, state); //确定可用布局空间
final int consumed = mLayoutState.mScrollingOffset + fill(recycler, mLayoutState, state, false); //摆放子View
....
final int scrolled = absDy > consumed ? layoutDirection * consumed : dy;
mOrientationHelper.offsetChildren(-scrolled); // 滚动 RecyclerView
...
}
这个方法的主要执行逻辑是:
- 根据布局方向和滑动的距离来确定可用布局空间
mLayoutState.mAvailable - 调用
fill()来摆放子View - 滚动RecyclerView
fill()的逻辑这里我们就不再看了,因此我们主要看一下1 和 3。
根据布局方向和滑动的距离来确定可用布局空间
以向下滚动为为例,看一下updateLayoutState方法:
// requiredSpace是滑动的距离; canUseExistingSpace是true
void updateLayoutState(int layoutDirection, int requiredSpace,boolean canUseExistingSpace, RecyclerView.State state) {
if (layoutDirection == LayoutState.LAYOUT_END) { //滚动方法为向下
final View child = getChildClosestToEnd(); //获得RecyclerView底部的View
...
mLayoutState.mCurrentPosition = getPosition(child) + mLayoutState.mItemDirection; //view的位置
mLayoutState.mOffset = mOrientationHelper.getDecoratedEnd(child); //view的偏移 offset
scrollingOffset = mOrientationHelper.getDecoratedEnd(child) - mOrientationHelper.getEndAfterPadding();
} else {
...
}
mLayoutState.mAvailable = requiredSpace;
if (canUseExistingSpace) mLayoutState.mAvailable -= scrollingOffset;
mLayoutState.mScrollingOffset = scrollingOffset;
}
所以可用的布局空间就是滑动的距离。那mLayoutState.mScrollingOffset是什么呢?
上面方法它的值是mOrientationHelper.getDecoratedEnd(child) - mOrientationHelper.getEndAfterPadding();,其实就是(childView的bottom + childView的margin) - RecyclerView的Padding。 什么意思呢? 看下图:

RecyclerView的padding我没标注,不过相信上图可以让你理解: 滑动布局可用空间mLayoutState.mAvailable。同时mLayoutState.mScrollingOffset就是滚动的距离 - mLayoutState.mAvailable
所以 consumed也可以理解:
int consumed = mLayoutState.mScrollingOffset + fill(recycler, mLayoutState, state, false);
fill()就不看了。子View摆放完毕后就要滚动布局展示刚刚摆放好的子View。这是依靠的mOrientationHelper.offsetChildren(-scrolled), 继续看一下是如何执行RecyclerView的滚动的
滚动RecyclerView
对于RecyclerView的滚动,最终调用到了RecyclerView.offsetChildrenVertical():
//dy这里就是滚动的距离
public void offsetChildrenVertical(@Px int dy) {
final int childCount = mChildHelper.getChildCount();
for (int i = 0; i < childCount; i++) {
mChildHelper.getChildAt(i).offsetTopAndBottom(dy);
}
}
可以看到逻辑很简单,就是改变当前子View布局的top和bottom来达到滚动的效果。
本文就分析到这里。接下来会继续分析RecyclerView的复用逻辑。
欢迎关注我的Android进阶计划。看更多干货