有赞零售小票打印跨平台解决方案

6,100 阅读12分钟

作者:王前、林昊(鱼干)

一、背景

零售商家的日常经营中,小票打印的场景无处不在,顾客的每笔消费都会收到商家打印出的消费小票,这个是顾客的消费凭证,所以小票的内容对顾客和商家都尤为重要。对于有赞零售应用软件来说,小票打印功能也是必不可少的,诸多业务场景都需要提供相应的小票打印能力。

  • 打印需求端

  • 小票业务场景

  • 小票打印机设备类型

过去我们存在的痛点:

  1. 每个端各自实现一套打印流程,方案不统一。导致每次修改都会三端修改,而且 iOS 和 Android 必须依赖发版才可上线,不具有动态性,而且研发效率比较低。
  2. 打印小票的业务场景比较多,每个业务都自己实现模板封装及打印逻辑,模板及逻辑不统一,维护成本大。
  3. 多种小票设备的适配,对于每个端来说都要适配一遍。

其中最主要的痛点还是在于第一点,多端的不统一问题。由于不统一,导致开发和维护的成本成倍级增长。

针对以上痛点,小票打印技术方案需要解决的三个主要问题:

  1. iOS 、安卓和网页端的零售软件都需要提供小票样式设置和打印的能力,如何降低小票打印代码的维护和更新成本。
  2. 如何定制显示不同业务场景的小票内容:不同业务场景下的小票信息都不尽相同,比如购物小票和退款小票,商品信息的样式是一样的,但是支付信息是不一样的,购物小票应当显示顾客的支付信息,退款小票显示商家退款信息。
  3. 如何更灵活的适配多种多样的小票打印机,从连接方式上分为蓝牙连接和 WIFI 连接,从纸张样式分为 80mm 和 58mm 两种宽度。

二、整体解决方案

针对以上三个问题,我们提出了一个涉及前端、移动端和服务端的跨平台解决方案,

  • 架构图

架构设计的核心在于通过 JS 实现支持跨平台的小票解析脚本,并具有动态更新的优势;通过服务端下发可编辑的样式模板实现小票内容的灵活定制;客户端启动 JS 执行器执行 JS 小票脚本引擎(以下简称:JS 引擎)并负责打印机设备的连接管理。

1 、JS 引擎设计

JS 引擎主要能力就是处理小票模版和业务数据,将业务数据整合到模版中(处理不了的交给移动端处理,比如图片),然后将整合模版数据转换成打印指令返给移动端。

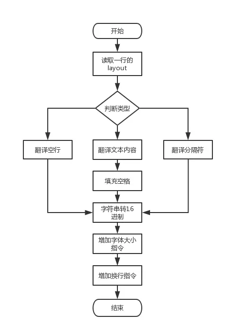
  • 整体处理流程图

  • 结构设计

* 小票格式中,打印机是一行一行的输出。那么基本输出布局单位,我们定义为 layout
* 默认一行有一个内容块,即一个 layout 里面有一个 content object
* 当一行有多列内容的时候,即一个 layout 里面包含 N 个 content object 。 各自内容块有 pagerWeight 代表每个内容的宽度占比
* 每一行的后面的是一个占位符,用数据模型的 key 做占位

小票 layout 样式描述:

content block 内容块:

不同类型内容所支持的能力:

  • 模版编译

这里使用了 HandleBars.js 作为模板编译的库。此外,目前还额外提供了部分能力支持。

自定义能力:

  • 打印机设备适配

主要进行适配指令集解析适配,根据连接不同设备进行不同指令解析。目前已适配设备:365wifi 、 sunmi 、 sprt80 、 sprt58 、 wangpos 、 aclas 、 xprinter 。如果连接未适配的设备抛出找不到相应打印机解析器 error。

  • 调用对应打印机的 parser 指令解析流程

  • 兼容性问题

    • 切纸:支持外部传入是否需要切纸,防止外部发送打印指令时加入切纸指令后重复切纸问题,默认加切纸指令。
    • 一机多尺寸打印:存在一台打印机支持两种纸张打印( 80mm 、 58mm ),这时需要从外部传入打印尺寸,默认 80mm 。比如,sunmiT1 支持 80mm 和 58mm 打印,默认是 80mm 。
  • 容错处理

    • 由于模版解析有一定格式要求,所以一些特殊字符及转移字符存在数据中会存在解析错误。所以 JS 在传入数据时,做了一层过滤,将 "\\" 、 "\n" 、 "\b" ... 等字符去掉或替换,保证打印。
    • 如果在解析过程中存在错误,将抛出异常给移动端捕获。

2 、模板管理服务

小票模板的动态编辑和下发,模版动态配置信息存储和各业务全量模版存储,提供移动端动态配置信息接口,拉取业务小票模版接口,各业务方业务数据接口。

  • 整体处理流程图

  • 小票基础模版库存储示例

shopId:店铺 ID

business:业务方

type:打印内容类型

content:layout 中 content 内容

sortWeight:排序比重,用于输出模板 layout 顺序

  • 动态设置数据存储示例

shopId:店铺 ID

business:业务方

type:打印内容类型

params:需要替换填充的内容

  • 接口返回整合后的小票模版 json
{
    "business": "shopping",
    "shopId": 111111,
    "id": 321,
    "version": 0,
    "layouts": [{
                "name": "LOGO",
                "content": "[{\"content\":\"http://www.test.com/test.jpg\",\"contentType\":\"image\",\"textAlign\":\"center\",\"width\":45}]"
                },{
                "name": "电话",
                "content": "[{\"content\":\"电话:{{mobile}}\",\"contentType\":\"text\",\"textAlign\":\"left\",\"fontSize\":\"default\",\"pagerWeight\":1}]"
                },...]
}

其中相关动态数据后端已经做过整合替换,需要替换的业务数据保留在模板 json 中,等获取业务数据后由 JS 引擎进行替换。 上面 json 中 http://www.test.com/test.jpg 就是动态整合替换数据,{{mobile}} 是一个需要替换的业务数据。

3 、移动端

移动端除了动态模版配置之外,主要的就是打印流程。移动端只需要关心需要打印什么业务小票,然后去后端拉取业务小票模版和业务数据,将拉取到的数据传给 JS 引擎进行预处理,返回模版中处理不了的图片 url 信息,然后移动端进行下载图片,进行二值转换,输出像素的 16 进制字符串,替换原来模版中的 url ,最后将连接的打印机类型和处理后的模版传给 JS 引擎进行打印指令转换返回给打印机打印。

  • 动态模版配置

动态配置小票内容,支持 LOGO 、店铺数据、营销活动配置等。左侧为在 80mm 和 58mm 上预览样式。通过动态配置模版,实现后端接口模版更新,然后可以实时同步修改打印内容。网页零售软件上动态配置内容和移动端一样。

  • 打印业务流程

该业务流程,移动端完全脱离数据,只需要做一些额外能力以及传输功能,有效解决了业务数据修改依赖移动端发版的问题。 Android 和 iOS 流程统一。

三、移动端功能设计

1 、动态化

动态化在本解决方案里是必不可少的一环,实时更新业务数据模板依赖于后端,但是 JS 解析引擎的下发要依靠移动端来实现,为了及时修复发现的 JS 问题或者快速适配新设备等功能。更新流程图如下:

这里说明一下,因为可能会出现执行 JS 的过程中,正在执行本地 JS 文件更新,导致执行 JS 出错。所以在完成本地更新后会发送一个通知,告知业务方 JS 已更新完成,这时业务方可根据自身需求做逻辑处理,比如重新加载 JS 进行处理业务。

2 、JS 执行器

iOS 使用 JavaScriptCore 框架,Android 使用 J2V8 框架,具体框架的介绍这里就不说明了。JS 执行器设计包含加载指定 JS 文件,调用 JS 方法,获取 JS 属性,JS 异常捕获。

	/**
	 初始化 JSExecutor

	 @param fileName JS 文件名
	 @return JSExecutor
	 */
	- (instancetype)initWithScriptFile:(NSString *)fileName;

	/**
	 加载 JS 文件

	 @param fileName JS 文件名
	 */
	- (void)loadSriptFile:(NSString *)fileName;

	/**
	 执行 JS 方法

	 @param functionName 方法名
	 @param args 入参
	 @return 方法返回值
	 */
	- (JSValue *)runJSFunction:(NSString *)functionName args:(NSArray *)args;

	/**
	 获取 JS 属性

	 @param propertyName 属性名
	 @return 属性值
	 */
	- (JSValue *)getJSProperty:(NSString *)propertyName;

	/**
	 JS 异常捕获

	 @param handler 异常捕获回调
	 */
	- (void)catchExceptionWithHandler:(JSExceptionHandler)handler;

加载 JS 文件方法,可以加载动态下发的 JS 。逻辑是先判断本地下发的文件是否存在,如果存在就加载下发 JS ,否则加载 app 中 bundle 里面的 JS 文件。

	- (void)loadSriptFile:(NSString *)fileName{
	    NSArray *paths = NSSearchPathForDirectoriesInDomains(NSDocumentDirectory, NSUserDomainMask, YES);
	    if (paths.count > 0) {
	        NSString *docDir = [paths objectAtIndex:0];
	        NSString *docSourcePath = [docDir stringByAppendingPathComponent:[NSString stringWithFormat:@"%@.js", fileName]];
	        NSFileManager *fm = [NSFileManager defaultManager];
	        if ([fm fileExistsAtPath:docSourcePath]) {
	            NSString *jsString = [NSString stringWithContentsOfFile:docSourcePath encoding:NSUTF8StringEncoding error:nil];
	            [self.content evaluateScript:jsString];
	            return;
	        }
	    }
	    NSString *sourcePath = [[YZCommonBundle bundle] pathForResource:fileName ofType:@"js"];
	    NSAssert(sourcePath, @"can't find jscript file");
	    NSString *jsString = [NSString stringWithContentsOfFile:sourcePath encoding:NSUTF8StringEncoding error:nil];
	    [self.content evaluateScript:jsString];
	}

这时候可能会有人疑问,为什么这里是直接强制加载本地下发 JS ,而不是对比版本优先加载。这里主要有两点原因:

  • 动态下发 JS 文件,就是为了补丁或者优化更新,所以一般新版本下发配置不会存在
  • 为了支持 JS 版本回滚

JS 异常捕获功能,将异常抛出给业务方,可以让调用者各自实现逻辑处理。

3 、缓存优化

由于模板和数据都在后端,需要拉取两次接口进行打印,所以需要提供一套缓存机制来提高打印体验。由于业务数据需要实时拉取,所以必须走接口,模板相对于业务数据来说,可以允许一定的延迟。所以,模板采用本地文件缓存,业务数据采用和业务打印页面挂钩的内存缓存,业务数据只需要第一次打印是请求接口,重新打印直接使用。

流程图:

本缓方案存会存在偶现的模板不同步问题,在即将打印时,如果网页后台修改了模板,就会出现本次打印模板不是最新的,但是在下一次打印时就会是最新的了。由于出现的几率比较低,模板也允许有一点延迟,所以不会影响整体流程。

对于离线场景,我们在 app 中存放一个最小可用模板,专门用于离线下小票打印使用。为什么是最小可用模板,因为离线下,业务数据及一些其他数据有可能不全,所以最小可用模板可以保证打印出来的数据准确性。

4 、图片处理

由于 JS 引擎是不能解析图片文件的,所以在最初模板中存在图片链接时,全部由移动端进行处理,然后进行替换。图片处理主要就是下载图片,图片压缩,二值图处理,图片像素点压缩(打印指令要求),每个字节转换成 16 进制,拼接 16 进制字符串。

  • 下载图片

采用 SDWebImage 进行下载缓存,创建并行队列进行多图片下载,每下载成功一张后回到主线程进行后续的相关处理。所有图片都处理完成或,回调给 JS 引擎进行指令解析。

  • 图片压缩

根据 JS 引擎模板要求的 width(必须是 8 的倍数,后续说明),进行等比例压缩,转换成 jpg 格式,过滤掉 alpha 通道。

  • 二值图处理

遍历每一个像素点,进行 RGB 取值,然后算出 RGB 均值与 255 的比值,根据比值进行取值 0 或 255 。这里没有使用直方图寻找阈值 T 的方式进行处理,是出于性能和时间考虑。

  • 像素点压缩

由于打印机指令要求,需要对转换成二值后的每个点进行 width 上压缩,需要将 8 个字节压缩到 1 个字节,这里也是为什么图片压缩时 width 必须是 8 的倍数的原因,否则打印出来的图片会错位。

  • 16 进制字符串

因为打印机打印图片接收的是 16 进制字符串,所以需要将处理后的每个字节转换成 16 进制字符,然后拼成一个字符串。

5 、实现多次打印

由于业务场景需要,需要自动打印多张小票,所以设计了多次打印逻辑。由于每次打印都是异步线程中,所以不可以直接循环打印,这里使用信号量 dispatch_semaphore_t ,在异步线程中创建和 wait 信号量,每次打印完成回调线程中 signal 信号量,实现多次打印,保证每次打印依次进行。如果中途打印出错,则终止后续打印。

	dispatch_async(dispatch_get_global_queue(0, 0), ^{
        dispatch_semaphore_t semaphore = dispatch_semaphore_create(0);
        for (int i = 1; i <= printCount; i++) {
            if (stop) {
                break;
            }
            [self print:template andCompletionBlock:^(State state, NSString *errorStr) {
                dispatch_async(dispatch_get_main_queue(), ^{
                    if (errorStr.length > 0 || i == printCount) {
                        if (completion) {
                            completion(state, errorStr);
                        }
                        stop = YES;
                    }
                    dispatch_semaphore_signal(semaphore);
                });
            }];
            dispatch_semaphore_wait(semaphore, dispatch_time(DISPATCH_TIME_NOW, 15*NSEC_PER_SEC));
        }
    });

四、总结与展望

本方案已经实施,在零售 app 中使用来看,已经满足目前大部分业务场景及需求,后续的开发及维护成本也会大幅度降低,提高了研发效率,接入新业务小票也比较方便。客户使用上来说,使用体验和以前没有较大差别,同时在处理客户反映的问题来说,也可以做到快速修改,实时下发等。不过目前还存在一些不足点,比如说图片打印的功能,还不能完全满足所有图片都做到完美打印,毕竟图片处理考虑到性能体验方面;还有模板后续可以增加版本号,这样在模板存在异常时也可以回滚或兼容处理等;再者就是缓存优化可以后续进一步优化体验,比如加入模板推送,本地缓存优化等。

参考链接