使用Marbles弹珠游戏模拟区块链资产转移

184 阅读3分钟
原文链接: dockone.io

本实践以基于区块链的弹珠资产转移Marbles Demo部署为例进行演示,旨在帮助您了解链代码的基础知识以及如何使用Fabric网络开发应用程序,帮助您快速上手使用。

关于Demo
这是一个简单的资产转移演示,多个用户之间可以创建并相互转移弹珠资产,同时您还能看到详细的交易信息及区块链信息。界面如下:
111.png


源码下载
如果您需要查看Demo应用的源码,请点击下载源码进行下载查看,希望对您的应用开发有所帮助。

准备工作
华为云区块链服务是基于容器所构建的集群进行部署的,同时为使外网能够正常访问,且保证数据不丢失,在开始部署区块链服务之前,需要先完成相应的环境准备工作,依次为:创建集群、绑定弹性IP、创建文件存储。
创建集群:此处您需要创建一个名为marbles-test的集群,请使用CCE 1.9及以上版本。建议您在创建集群时购买的虚拟机规格为:一台,4U8G。
绑定弹性IP:通过申请弹性IP并将其绑定到弹性云服务器上,实现弹性云服务器为公网所访问的目的。
创建文件存储:容器集群创建成功后,创建文件存储用于存储数据,创建文件存储时使用默认规格即可。

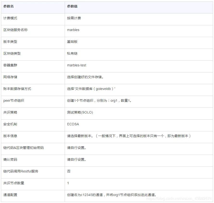
订购区块链服务
登录区块链服务管理控制台。购买部署服务,参数如下:
222.png


安装实例化链代码
下载链代码marbles.zip
单击服务列表操作列中的“链代码&区块管理”。如下

333.png


单击安装链代码,填写参数:

444.png


链代码安装完成后,在链代码列表的“操作”列,单击“实例化”。填写参数:

555.png


配置应用
准备一台可用内存至少2G的服务器,用于部署Demo应用。
证书下载:
登录准备好的服务器,在本地创建一个demo目录。
在区块链服务“服务管理”界面下载对应服务的证书。
目前支持两种证书:管理员证书和用户证书。本例中需要下载1个共识组织管理员证书和1个节点管理员证书。
将下载的证书文件上传保存至刚才创建好的demo目录。
SDK配置下载:
在“服务管理”界面,单击“更多> 下载SDK配置”。填写参数

666.png


下载后的文件为marbles-sdk-config.zip,将其保存至已创建的demo目录。

启动脚本下载
startserver.sh
将其保存至已创建好的demo目录。
最终demo目录的结构可参见下图:

777.png


部署应用
进入demo目录,执行命令启动服务。
bash startserver.sh swr.cn-north-1.myhuaweicloud.com/graham/marbles:1.0

Demo体验
访问应用(请使用Chrome浏览器访问)。
Demo应用成功运行后,通过“http://EIP: Port“来访问Marbles Demo应用的portal,其中EIP为部署Demo的服务器IP或弹性云服务器的浮动IP。

创建弹珠
单击“+”,填写配置项,单击“create”创建弹珠,几秒后出现新弹珠。如没有出现新弹珠则使用F5键刷新页面。

888.png


交易弹珠
拖动弹珠至另一个用户模拟交易,在交易过程中,弹珠将暂时消失,然后在新主人内重新绘制。

999.png


101010.png


等等操作自行尝试。交易的同时能在界面查看到当前区块高度及区块内容等详细信息。

本文档只做了大概介绍,详细文档点击这里参阅。

原文:blog.csdn.net/weixin_4 ..…
版权声明:本文为博主原创文章,转载请附上博文链接!