如今,开发并上线一款应用十分方便。因为云计算提供了从最基础的计算资源如服务器网络、数据库服务、中间件PaaS平台到各种应用支撑的云管理服务,同时开源社区的迅猛发展也提供了从数据库、缓存到应用全生命流程中各种必须的组件,所以越来越多的应用开发者可以把精力放在业务创新上。然而另一方面,应用所依赖的大量的IaaS、PaaS、Cloud API和开源组件无疑增加了应用的复杂度,如何保障云上应用的可用性,成了用户越来越关注的话题。
保障云上应用的可用性的第一步,是需要知道你的应用长什么样子,用了哪些云服务和开源组件,运行的环境是怎样的,服务之间的依赖如何,必须把它可视化出来,并且持续的跟踪变化。
阿里云最新发布的应用高可用服务,针对云原生应用架构复杂,变化快的特点,推出了架构感知的功能模块,可以非常方便的跟踪展现你在云端的应用架构,接下来我们一起看一下接入的全过程。

第一步
登陆阿里云官网搜索“应用高可用服务”, 或者直接输入www.aliyun.com/product/aha… 打开产品首页,点击“立即开通” 开通公测服务。新用户第一次进入控制台后,可以选择查看demo来了解产品的基本功能,或者进行RAM授权,然后进入到安装探针来自动感知应用架构的流程。
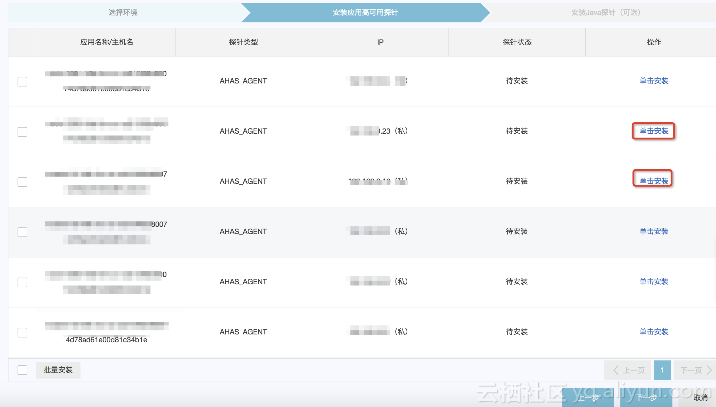
完成授权后,就进入到探针安装流程,选择环境,默认支持阿里云ECS环境,然后界面会列出你在该region下所有的VPC网络的ECS机器,勾选需要探知的ECS并安装AHAS探针,完成安装后AHAS探针就会开始检测识别你的应用环境中各个进程、各容器和所使用的各种云服务。 同时基于网络流量构建出应用进程之间,容器之间以及ECS之间的网络依赖关系。

第二步
安装Java agent(可选), 安装Java Agent可以对应用架构中的Java应用进行动态增强,提供接口级别的性能指标和限流降级能力,根据Java应用所在的环境不同,AHAS提供了普通Java应用, docker和docker compose方式下Java应用加载Java agent的方式安装完之后就可以进入"架构感知"查看实时的架构数据。
安装完之后就可以进入"架构感知"查看实时的架构数据,以下是图例。
所有有网络连接的进程和其之间的网络关系拓扑图

进程的详细信息及其依赖关系

点击跳转到相关联的进程

进程所在的Docker容器

进入该容器

Docker容器所在的主机

点击进入该主机

作者: 中间件小哥