russian-cloud月付4块钱俄罗斯VPS测评:老大哥也要赚中国兄弟的钱

4,439 阅读3分钟

russian-cloud和之前比较出名的俄罗斯free-www是一个老板,free-www前一段时间挺火的,甚至free-www都快成了老毛子的代名词,free-www的老板估计也尝到了甜头。之前的网站面板比较冷门,国人用起来不是很方便。这不,老毛子就开了个russian-cloud,用上国人熟悉的烂大街的WHMCS系统,专门来赚中国小弟的钱了。

russian-cloud选择简体中文

russian-cloud选择简体中文

使用WHMCS最大的好处就是虽然我们不懂俄罗斯语,如图所示选择简体中文就能进行大部分操作了。目前russian-cloud官网还比较简陋,但是咱都是冲着老毛子的超低价VPS去的就不用太介意了。russian-cloud的俄罗斯VPS均采用OVZ虚拟,不限流量,支持paypal和信用卡付款。(经过VPS小学生测试,PP如果绑定全球付可以用全球付付款的,终于让躺尸的全球付的那点余额用上了)

russian-cloud产品列表

1核CPU:500MHz256M内存5G SSD硬盘100M端口不限流量4.6¥/月购买链接
1核CPU:600MHz512M内存10G SSD硬盘100M端口不限流量7.1¥/月购买链接
1核CPU:800MHz1G内存15G SSD硬盘100M端口不限流量12.4¥/月购买链接
1核CPU:1000MHz2G内存18G SSD硬盘100M端口不限流量20.7¥/月购买链接
2核CPU:2000MHz3G内存20G SSD硬盘100M端口不限流量30.1¥/月购买链接

(PS:VPS小学生测评是购买后一周发布的,最低的两个套餐都无货,而且开通速度慢)

从上面可以看到russian-cloud的俄罗斯VPS对CPU限制非常严格,但是这种超低价VPS是用来做什么的大家心里都有数,用来用是够用的,折腾的就不需要了。再次提醒,这种超低价VPS,尤其是老大哥家的使用前一定要做好心里准备,老毛子的毛手毛脚是出了名的。对于新手朋友,还是去用vultr吧,毕竟5美元用一年也不贵,vultr注册地址:www.vpsxxs.com/goto/nuiw

下面是最低套餐的测评,VPS小学生在购买的时候算上汇率之类的不到5块钱,同款地址:

先看一下硬件配置:

russian-cloud硬件配置

russian-cloud硬件配置

果然是一分价钱一分货,这硬盘速度,妥妥的石头盘,再看这限制的死死的下载速度,别说,还真搭配,那什么配狗,天长地久。

还是看看国内下载速度吧:

国内下载速度

国内下载速度

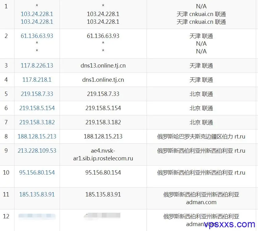
俄罗斯VPS的老毛病,联通用户欢快着,电信用户去死。看来十几年前的“北联通,南电信”在老大哥身上还是管用,毕竟俄罗斯是北境之地。下面看一下路由图:

russian-cloud路由

russian-cloud路由

从路由图上可以看到russian-cloud在西伯利亚adman机房,adman机房其实对联通电信速度都不错,只是移动用户差,正好VPS小学生是电信的小水管,那就用来看youtube看实际速度:

russian-cloud看youtube

russian-cloud看youtube

速度可以啊,本来以为电信速度会很慢,结果表现还是很好的。

以上就是VPS小学生对russian-cloud俄罗斯VPS的测评,总体看来速度还不错,因为服务器在西伯利亚adman机房,对联通电信用户表现还不错。但是russian-cloud是free-www老板的马甲,对于能运营多久谁都不敢打包票,如果不是最低套餐又没有什么优势,所以VPS小学生建议只用来尝鲜,对于新手用户,还是去注册可爱可亲的vultr吧,毕竟送25美元是实打实的,vultr注册送25美元地址:www.vpsxxs.com/goto/nuiw