封停 · 2015/07/29 10:27
0x01 前言
工作过程中,尤其是应急的时候,碰到客户windows域控被入侵的相关安全事件时,往往会需要分析windows安全日志,此类日志往往非常的大;此时,高效分析windows安全日志,提取出我们想要的有用信息,就显得尤为关键,这里给大家推荐一款我常用的windows日志分析工具,logparser,目前版本是2.2。
0x02 logparser使用介绍
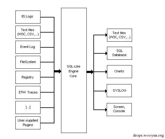
首先,让我们来看一下Logparser架构图,熟悉这张图,对于我们理解和使用Logparser是大有裨益的

简而言之就是我们的输入源(多种格式的日志源)经过 SQL语句(有SQL引擎处理)处理后,可以输出我们想要的格式。
1、输入源
从这里可以看出它的基本处理逻辑,首先是输入源是某一种固定的格式,比如EVT(事件),Registry(注册表)等,对于每一种输入源,它所涵盖的字段值是固定的,可以使用logparser –h –i:EVT查出(这里以EVT为例):

这里是一些可选参数,在进行查询的时候,可对查询结果进行控制,不过我们需要重点关注的是某一类日志结构里含有的字段值(在SQL查询中匹配特定的段):

对于每一类字段值的详细意义,我们可以参照logparser的自带文档的参考部分,这里以EVT(事件)为例:

2、输出源 输出可以是多种格式,比如文本(CSV等)或者写入数据库,形成图表,根据自己的需求,形成自定的文件(使用TPL)等,比较自由
0x03 基本查询结构
了解了输入和输出源,我们来看一则基本的查询结构
Logparser.exe –i:EVT –o:DATAGRID “SELECT * FROM E:\logparser\xx.evtx”
这是一则基本的查询,输入格式是EVT(事件),输出格式是DATAGRID(网格),然后是SQL语句,查询E:\logparser\xx.evtx的所有字段,结果呈现为网格的形式:

看到这里,想必你已经明白了,对于windows的安全日志分析,我们只需要取出关键进行判断或者比对,就可以从庞大的windows安全日志中提取出我们想要的信息。
0x04 windows安全日志分析
对于windows安全日志分析,我们可以根据自己的分析需要,取出自己关心的值,然后进行统计、匹配、比对,以此有效获取信息,这里通过windows安全日志的EVENT ID迅速取出我们关心的信息,不同的EVENT ID代表了不同的意义,这些我们可以在网上很容易查到,这里列举一些我们平常会用到的
| Event | 任务类别 | 解释 |
| ID | ||
| 540 | 登陆/注销 | Event 540 gets logged when a user elsewhere on the network connects to a resource (e.g. shared folder) provided by the Server service on this computer. The Logon Type will always be 3 or 8, both of which indicate a network logon. |
| 538 | 登陆/注销 | Ostensibly, event 538 is logged whenever a user logs off, whether from a network connection, interactive logon, or other logon type For network connections (such as to a file server), it will appear that users log on and off many times a day. This phenomenon is caused by the way the Server service terminates idle connections. |
| 528 | ![enter image description here][6] | |
| 675 | 账户登陆 | When a user attempts to log on at a workstation and uses a valid domain account name but enters a bad password, the DC records event ID 675 (pre-authentication failed) with Failure Code 24. By reviewing each of your DC Security logs for this event and failure code, you can track every domain logon attempt that failed as a result of a bad password. In addition to providing the username and domain name, the event provides the IP address of the system from which the logon attempt originated. |
有了这些我们就可以对windows日志进行分析了 比如我们分析域控日志的时候,想要查询账户登陆过程中,用户正确,密码错误的情况,我们需要统计出源IP,时间,用户名时,我们可以这么写(当然也可以结合一些统计函数,分组统计等等):
LogParser.exe -i:EVT "SELECT TimeGenerated,EXTRACT\_TOKEN(Strings,0,'|') AS USERNAME,EXTRACT\_TOKEN(Strings,2,'|') AS SERVICE\_NAME,EXTRACT\_TOKEN(Strings,5,'|') AS Client_IP FROM 'e:\logparser\xx.evtx' WHERE EventID=675"
查询结果如下:

如果需要对于特定IP进行统计,我们可以这么写(默认是NAT输出):
LogParser.exe -i:EVT "SELECT TimeGenerated,EXTRACT\_TOKEN(Strings,0,'|') AS USERNAME,EXTRACT\_TOKEN(Strings,2,'|') AS SERVICE\_NAME,EXTRACT\_TOKEN(Strings,5,'|') AS Client\_IP FROM 'e:\logparser\xx.evtx' WHERE EventID=675 AND EXTRACT\_TOKEN(Strings,5,'|')='x.x.x.x'"
或者将查询保存为sql的格式:
SELECT TimeGenerated,EXTRACT\_TOKEN(Strings,0,'|') AS UserName,EXTRACT\_TOKEN(Strings,1,'|') AS Domain ,EXTRACT\_TOKEN(Strings,13,'|') AS SouceIP,EXTRACT\_TOKEN(Strings,14,'|') AS SourcePort FROM 'E:\logparser\xx.evtx' WHERE EXTRACT_TOKEN(Strings,13,'|') ='%ip%'
然后在使用的时候进行调用
logparser.exe file:e:\logparser\ipCheck.sql?ip=x.x.x.x –i:EVT –o:NAT
查询结果为:

怎么样?是不是一目了然呢?根据特定登陆事件,直接定位到异常IP,异常时间段内的连接情况。
同样我们也可以选择其他输出格式,对日志分析和统计。上述所有操作都是在命令行下完成的,对于喜欢图形界面的朋友,We also have choices!这里我们可以选择使用LogParser Lizard。 对于GUI环境的Log Parser Lizard,其特点是比较易于使用,甚至不需要记忆繁琐的命令,只需要做好设置,写好基本的SQL语句,就可以直观的得到结果,这里给大家简单展示一下 首先选取查询类型

这里我们选择windows event log,然后输入刚才的查询语句: 比如:
SELECT TimeGenerated,EXTRACT\_TOKEN(Strings,0,'|') AS USERNAME,EXTRACT\_TOKEN(Strings,2,'|') AS SERVICE\_NAME,EXTRACT\_TOKEN(Strings,5,'|') AS Client\_IP FROM 'e:\logparser\xx.evtx' WHERE EventID=675 AND EXTRACT\_TOKEN(Strings,5,'|')='x.x.x.x'
得到的查询结果为(并且这里我们可以有多种查询格式):

具体其他功能,大家可以去尝试一下~
0x05 总结
这里简单和大家介绍了在windows安全日志分析方面logparser的一些使用样例,logparser的功能很强大,可进行多种日志的分析,结合商业版的Logparser Lizard,你可以定制出很多漂亮的报表展现,图形统计等,至于其他的功能,留给大家去探索吧~