最近,玲子负责了自己产品的红包版本功能的大迭代,感触和收获颇深,觉得有必要做一次产品复盘的自我思考。

随着移动支付的发展,微信红包彻底改变了我们的红包文化,互联网时代的红包不仅承载着表达情意的作用,更多的应用在商业环境中。正逢新年过节的喜庆日子,红包这个功能话题,还是蛮契合主题的,希望你们喜欢。
我记得之前有个程序员朋友跟我吐槽过,他们之前的产品经理直接丢了8个字给开发“红包功能,X号上线”,没有任何的需求文档甚至产品设计,我吃惊不已,这回我自己真的去负责整个红包改版项目,我愈发觉得,上线红包功能,真的真的没有你想的这么简单~
本文是玲子对自己这次项目复盘的思考,分4部分:
- 项目目的
- 红包设计
- 产品开发
- 数据指标
注:因秉持公司隐私机密,以下以微信红包为例,但复盘思考还是来源于自家产品的迭代思考。
一、项目目的
1. 拉新
基于人性的弱点,对于“羊毛红包”我们总是难以拒绝,而产品以红包的“形式”或“噱头”以滚雪球式地快速传播,成功地为产品带来了一大波用户,完成互联网产品价值的传递。
微信红包已培养了我们一看到红包就会条件反射的点击领取行为和思维惯性,红包结合特定产品制定特定产品方案是从微信红包延伸,主动获取到的红包比被动接受的更让用户有使用的欲望,至此成功转化新用户。
2. 促活
一个总给你定时撒红包的产品,你会不会定时去打开app去抢红包,至少比之前更愿意打开,红包一定程度促进了用户的活跃、黏性、甚至是留存。
从运营的角度来看,用户是被套路了,我们使用红包来培养用户的使用习惯,帮助用户快速成长为平台的成熟用户并一直留存在平台上,习惯一旦养成,用户离开的可能性就会降低。
3. 社交货币
当今快速发展的互联网时代,人是孤独而焦虑的,总是更想往“一群人的狂欢”,想往“被关注”,领红包是个人行为,一个人领红包,肯定没有一群人领红包,还比一比谁是手气王,来的更有趣,且红包本身就是作用于人与人之间的表达关系的一种方式。
另外,根据自身产品定位和业务逻辑,加入红包添加社交属性,制定特定红包规则,会更加有趣,更加有特色。
4. 提升业绩
如玲子之前的文章所说,产品的思维不能停留在实现功能,实现上线,应该要跳出框架,全局的去思考,产品的最终目的是为了盈利,提升GMV(Gross Merchandise Volume,成交总额),也是这次红包功能的主要目的。(社会~社会~)
二、红包设计
结合自家产品的业务,做了个类似“微信群红包”的功能,但是针对产品特性也加了一些特定规则和玩法,比如:
- 用户可以在红包广场发红包,其他用户必须参与产品某个行为,才可以领取红包;
- 抢到的其他用户的红包,存入余额,只可用于消费,不可提现;
- 添加红包雨功能,前300名抢到随机红包,后面的用户抢到随机积分或者优惠券
((┬_┬),能说的就这么多了,最终还是要结合自家的产品业务去做功能)
以微信群红包为例分析设计逻辑,一个红包的构成由红包主题和红包策略构成,如果细分到不同业务线和城市则可配制主题和策略,主题包括皮肤和文案,本次活动的主题“过大年,抢红包”。
确定了最终的红包方案,产品准备原型需求,话不多说,上图(微信红包为例):

三、产品开发
产品开发问题,挑几个重点讲讲:
1. 发红包页面

这看着是最普通的页面,逻辑却是不简单的页面:
总金额:
- 默认显示灰色“0.00”元,点击文本框,从下而上输出带点的数字键盘
- 小数点前最多输入5位数,小数点可输入2位,第3位输入无效
- 总金额显示实时对应下方金额显示,如交互效果
红包个数:
- 默认显示灰色“请输入个数”个,点击文本框,从下而上输出数字键盘(无小数点)
- 最多输入3位,第4位输入无效,最大输入限制999
宣言:
- 默认“恭喜发财,大吉大利”,点击,从下往上输出中文键盘
- 限制25字,第26字输入无效
- 否则弹窗提示:祝福语不能超过25字
发红包按钮:
- 总金额和红包个数必须输入,if任意一个为空,按钮禁用
- 点击按钮,判断,单个红包金额(总金额/红包个数)<0.01,弹窗显示“单个红包金额不可低于0.01元,请调整金额或者红包个数。”
- 当点击发红包按钮时,分发好红包份额,随机红包算法规则(下面再讲)
2. 平台红包雨
上面的发红包功能是用户与用户之间的红包关系,红包雨是作为平台和用户之间的红包关系。

红包雨的规则
怎么发,发多少,什么时候发,怎么提醒用户,怎么个随机法?
- 怎么发,需要根据平台的业务,配合目前的功能模块;
- 发多少,需要结合运营经费还有日活,需要预估大概转化率;
- 什么时候发,结合业务,查看平台用户最活跃的时间;
- 怎么提醒用户,比如提前预热的banner,比如倒计时的提醒;
- 怎么个随机法,比如整点时间15min内进入页面有红包雨,前100名获得随机红包,后面用户抢红包,赠送积分或者消费券,缓解用户的没抢到的失落感,同时促进积分和优惠券的使用,提升业绩;
(以下数字为举例,非真实数据;方案也是举例,具体业务具体分析)
预估成本
每天晚上 20:00;每次1W元,分发1W份,一周共计7W元。1个月30W元;整点后15min内,进入移动端页面都会撒红包雨,前300名得到随机红包,后面的用户抢红包,以赠送随机积分(188、288、388积分)作为回馈,以平台1000积分=1元规则,100积分=0.1元。
根据日活大约2W,假设一次红包雨有2W人抢红包,预计积分成本=288*1W/1000=2880元;
1周7次红包雨,共计20160元。1个月86400元。
一个月红包雨成本预计:30W+8.64W=38.64W元
预估转化率
从平日的转化率预估这次活动的转化率
平日转化率=每日消费用户数/每日活跃用户数
从之前策划的类似活动中预估日活会环比上涨25%。那么也可以倒退大概的一个业绩增长是多少,这里不算咯,当课外题(哈哈哈)
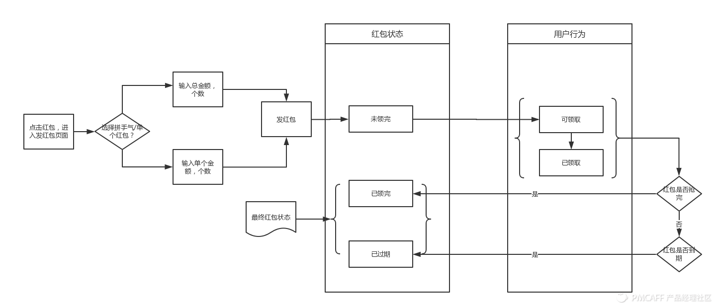
3. 红包的状态
这次体会最深刻的应该还是这个红包的状态和流程

总的来说是可以把红包的显示状态分为2张表,红包状态和用户行为;
- 红包状态分为:未领完、已领完、已过期
- 用户行为分为:可领取、已领取、(不可领取)
部分业务思路会涉及不可领取状态,如:有设定领取条件的红包~

4. 红包状态的刷新
我这次的产品项目设定了一个“红包广场”,一个列表页全是红包,然后就出现了很多红包状态的刷新问题,比如:
用户点击红包广场的某个红包进去详情页去抢红包,返回到这个页面,按惯性思路,会设定红包广场红包页面刷新,那么,出现了个什么问题?
问题:红包广场红包列表很多很多页,当用户刷到下面页面抢红包,返回红包广场页面,一旦页面刷新,就会自动回到最上面的页面,而用户的需求是停留在刚才抢红包的那一页那一栏。
解决方法:返回,不启用页面刷新
状态的刷新,如果不做页面刷新,就有会出现个什么问题?
问题:一直不启用页面刷新,会存在红包广场的红包的状态无法实时更新,也许看的时候还有,点进去的就没有了。
解决方法:返回,只刷新该条的红包状态
问题会很多很多,但是要根据不同的业务不同的目的,寻找或者权衡解决方法。
5. 随机红包算法
丢个问题,大家可以讨论思考一下:随机红包算法有哪些规则思路?
我当初制定随机红包算法的思路方案,参考了一些资料和算法规则,如下:

但是实际开发时,程序猿哥哥并未如此设定,理由是网上有随机红包的代码,具体怎样的思路………..他….还没告诉我~
不过以上我的思路我在网上找到部分数据模型资料


图片来自“毕导”《微信红包》
如果按这个随机算法,得出了这样的数据模型,从数据模型中,可以看出的是:
越往后抢,“手气最佳”概率越大~
但是!但是!越后抢,没准你就抢不到了~
四、数据指标
此版本的迭代功能再5天,日活环比增长25%,小开心~
那么红包上线后,需要关注哪些数据指标呢?我将其归为以下3类:
- 流量类:PV和UV,发红包人数,发红包次数,人均发红包次数,二次发红包率,单日发红包金额、个数、人均金额等
- 领取类:红包领取率,领空率,平均领取个数,红包使用率,单用户日均领取个数,人均使用金额,新用户转化率率、业绩的环比增长率等
- 用户类:拉新人数,老用户留存率和活跃度提升
很多数据需要制定数据埋点,需要开发成本,所以根据公司开发的饱和程度,确定主要的数据优先。
五、最后
产品思维的关键逻辑包括:产品细节、体验细节、转化率以及商业平衡系统,此外还有流量、入口以及产品整合方案。
每个人总是只站在自己的立场上,看到的只是结果。
看似很简单的红包,真的真的没有你想的那么简单。
以上,是我这次对自己红包功能的复盘小总结,希望能与各位共勉,也希望能指出你们的看法,一起思考,一起成长~
玲子年后考虑大厂机会,有大厂面试机会的,欢迎勾搭一下我,感谢~
#专栏作家#
玲子,微信公众号:玲子奋斗史。不卑不亢,从容优雅,面对一切,我是玲子。职业产品经理,关注互联网人工智能、商业产品,擅长需求挖掘和运营管理。我是个励志气质聪颖漂亮的女青年。