源码|并发一枝花之ReentrantLock与AQS(3):Condition

1,124 阅读17分钟

ReentrantLock#lock()、ReentrantLock#unlock()、ReentrantLock#lockInterruptibly()的分析见前文:

本文是《源码|并发一枝花之ReentrantLock与AQS》系列的最后一篇,分析与显式锁ReentrantLock配套的显式条件队列AQS#ConditionObject,以完善对AQS的使用和理解。

JDK版本:oracle java 1.8.0_102

接口声明

public interface Lock {
    ...
    Condition newCondition();
    ...
}
public interface Condition {
    ...
    void await() throws InterruptedException;

    boolean await(long time, TimeUnit unit) throws InterruptedException;

    void signal();

    void signalAll();
    ...
}

Lock接口对标内置锁,而Condition接口对标内置条件队列。Condition主要提供了await、signal两种语义,和两种语义的衍生品。

语义、用法

对内置条件队列语义、用法的分析可参考以下两篇文章,其同时适用于本文的显式条件队列:

实现原理

直接使用了AQS的内部类ConditionObject。

ReentrantLock中提供的条件队列不能单独设置公平策略,只能在创建锁时指定。因此,我们仍旧以默认的非公平策略为例进行分析。

newCondition

    public Condition newCondition() {
        return sync.newCondition();
    }
    
    abstract static class Sync extends AbstractQueuedSynchronizer {
        ...
        final ConditionObject newCondition() {
            return new ConditionObject();
        }
        ...
    }

ConditionObject

public abstract class AbstractQueuedSynchronizer
    extends AbstractOwnableSynchronizer
    implements java.io.Serializable {
    ...
    public class ConditionObject implements Condition, java.io.Serializable {
        ...
        public ConditionObject() { }
        ...
    }
    ...
}

ConditionObject实现了Condition接口,提供了一个空构造器。

接下来,我们依次分析ConditionObject的await()方法和signal()方法,最后送一个signalAll()。

await

public abstract class AbstractQueuedSynchronizer
    extends AbstractOwnableSynchronizer
    implements java.io.Serializable {
    ...
    public class ConditionObject implements Condition, java.io.Serializable {
        ...
        public final void await() throws InterruptedException {
            // 主动检查中断,及时抛出InterruptedException。
            if (Thread.interrupted())
                throw new InterruptedException();
            // 创建等待节点并放入队尾
            Node node = addConditionWaiter();
            // 释放锁,并保存释放前的锁状态(ownerThread的重入次数)
            int savedState = fullyRelease(node);
            // 阻塞,直到收到信号或被中断
            while (!isOnSyncQueue(node)) {
                LockSupport.park(this);
                if ((interruptMode = checkInterruptWhileWaiting(node)) != 0)
                    break;
            }
            // 申请恢复锁状态,并更新中断模式
            int interruptMode = 0; // 调整了一下位置,不影响
            if (acquireQueued(node, savedState) && interruptMode != THROW_IE)
                interruptMode = REINTERRUPT;
            // 移除已被取消的节点
            if (node.nextWaiter != null)
                unlinkCancelledWaiters();
            // 如果之前发生了中断,则根据中断模式重放中断
            if (interruptMode != 0)
                reportInterruptAfterWait(interruptMode);
        }
        ...
    }
    ...
}

ConditionObject#await()同ReentrantLock#lockInterruptibly()一样,都是可中断的:调用ConditionObject#await()后,当前线程将保持阻塞,直到收到信号或被中断。

  1. 主动检查中断,及时抛出InterruptedException。
  • 创建等待节点并放入队尾
  • 释放锁,并保存释放前的锁状态(ownerThread的重入次数)
  • 阻塞,直到收到信号或被中断
  • 重新申请锁,并更新中断模式
  • 移除已被取消的节点
  • 如果之前发生了中断,则根据中断模式重放中断

下面详细分析。

addConditionWaiter

检查中断后,创建等待节点并放入队尾:

            Node node = addConditionWaiter();
public abstract class AbstractQueuedSynchronizer
    extends AbstractOwnableSynchronizer
    implements java.io.Serializable {
    ...
    public class ConditionObject implements Condition, java.io.Serializable {
        ...
        private Node addConditionWaiter() {
            Node t = lastWaiter;
            // If lastWaiter is cancelled, clean out.
            if (t != null && t.waitStatus != Node.CONDITION) {
                unlinkCancelledWaiters();
                t = lastWaiter;
            }
            Node node = new Node(Thread.currentThread(), Node.CONDITION);
            if (t == null)
                firstWaiter = node;
            else
                t.nextWaiter = node;
            lastWaiter = node;
            return node;
        }
        ...
    }
    ...
}

lastWaiter初始化为null,至此,我们还未修改过lastWaiter,则lastWaiter仍为null。

从而,执行8行后t为null。跳到14行,创建CONDITION==-2状态的节点。然后15-19行,将firstWaiterlastWaiter都指向新节点node,初始化条件队列自己的等待队列。这在性能上是必要的:如此,我们可以在一个显式锁上创建多个显式条件队列,更容易减少无效竞争,在保证正确性的前提下设计高性能的并发程序。

需要提醒一下,尽管此处没有任何线程安全的保护,但实际使用时不会出现任何线程安全问题——因为条件队列的使用要求我们在调用await或signal时持有与该条件队列唯一相关的锁

到这里,得到两个ReentrantLock与ConditionObject在实现上的重要区别:

  • ReentrantLock创建的节点,初始状态为0;而ConditionObject创建的节点,初始状态为CONDITION==-2
  • ReentrantLock使用AQS内置的等待队列,由AQS维护;而每个ConditionObject都维护自己的等待队列。

fullyRelease

释放锁,并保存释放前的锁状态(ownerThread的重入次数):

            int savedState = fullyRelease(node);
public abstract class AbstractQueuedSynchronizer
    extends AbstractOwnableSynchronizer
    implements java.io.Serializable {
    ...
    final int fullyRelease(Node node) {
        boolean failed = true;
        try {
            int savedState = getState();
            if (release(savedState)) {
                failed = false;
                return savedState;
            } else {
                throw new IllegalMonitorStateException();
            }
        } finally {
            if (failed)
                node.waitStatus = Node.CANCELLED;
        }
    }
    ...
}

8行保存锁状态。9-14行尝试状态转换savedState->0完全释放锁,并返回锁状态。只要状态正常,AQS#release()在此处一定会返回true,因此,如果返回false可直接抛出IllegalMonitorStateException。

回忆:

  • ReentrantLock#unlock()中分析了AQS#release()。
  • ReentrantLock#lock()中分析了try-finally的取消框架。

AQS#fullyRelease()返回后,调用ConditionObject#await()的线程就放弃了锁,后面截止到重新获取锁前,只能使用开放调用。

开放调用:Open Call,调用某个方法时不需要持有锁(可能方法内部实现需要锁,但外部调用不需要)。

isOnSyncQueue

接下来,几个方法配套完成“阻塞,直到收到信号或被中断”:

            while (!isOnSyncQueue(node)) {
                LockSupport.park(this);
                if ((interruptMode = checkInterruptWhileWaiting(node)) != 0)
                    break;
            }

首先是AQS#isOnSyncQueue():

public abstract class AbstractQueuedSynchronizer
    extends AbstractOwnableSynchronizer
    implements java.io.Serializable {
    ...
    final boolean isOnSyncQueue(Node node) {
        if (node.waitStatus == Node.CONDITION || node.prev == null)
            return false;
        if (node.next != null) // If has successor, it must be on queue
            return true;

        return findNodeFromTail(node);
    }
    private boolean findNodeFromTail(Node node) {
        Node t = tail;
        for (;;) {
            if (t == node)
                return true;
            if (t == null)
                return false;
            t = t.prev;
        }
    }
    ...
}

在创建节点node后未修改node.waitStatus,因此,仍满足node.waitStatus == Node.CONDITION,直接返回false,表示当前节点未阻塞。

当然,此时也满足node.prev == nullnode.next == null

回到ConditionObject#await(),会进入while循环,然后当前线程陷入阻塞。

至此,调用ConditionObject#await()的线程已陷入阻塞,对ConditionObject#await()的分析告一段落。要暂时先跳至ConditionObject#signal()。


ConditionObject#signal()返回之后,node已经被放入了AQS内部的等待队列。此时,调用ConditionObject#await()的线程可能因前继节点被取消而提前唤醒,也可能等待调用ConditionObject#signal()的线程unlock之后才能被唤醒,还有可能因被中断而被唤醒。最容易被忽略的是,还可能在收到信号后未唤醒,而在等待解锁唤醒的时候被中断

前两种唤醒都可被认为是“信号唤醒”,第三种是“信号前中断唤醒”,第四种是“信号后中断唤醒”。因此,在回到ConditionObject#await()后,需要进入_18-19行判断是否发生了中断和发生中断的时机_。

插播分析完isOnSyncQueue

在继续走逻辑前,先插播分析完AQS#isOnSyncQueue(),后面要多次用到这个方法。

AQS#isOnSyncQueue()判断节点node是否已经被放入了AQS内部的等待队列,是的话返回true,否则返回false。主要分几种情况:

  • 如果node.waitStatus == CONDITION,则一定未放入。因为AQS#transferForSignal()6行还没来得及执行。
  • 如果node.prev == null,则一定未放入。因为AQS#transferForSignal()6行执行完但9行未执行完。
  • 如果node.next != null,则一定已放入。因为已经有了后继节点,则node本身肯定已经完成入队(ConditionObject内部的等待使用的后继指针为nextWaiter)。
  • 否则,说明满足node.waitStatus != CONDITION && node.prev != null && node.next == null,该状态无法确定node处于“未放入”还是“已放入”的状态。回忆AQS#enq()可知,node.prev != null时,可能正在尝试CAS插入node,无法确定是在插入前还是插入后,也无法确定是否插入成功。AQS#findNodeFromTail()从尾节点开始遍历,如果能够遍历到node,则一定已放入(当然,next方向不一定满足一致性);否则,当前时刻还未插入或未插入成功,即一定未放入。

回忆:

  • AQS#enq()插入新节点的过程。
  • AQS.shouldParkAfterFailedAcquire()移除CACELLED节点的过程。

从两个过程可知,AQS内部的等待队列是一个弱一致性双向链表,其插入节点和移除取消节点的过程不保证next方向的一致性。

checkInterruptWhileWaiting

public abstract class AbstractQueuedSynchronizer
    extends AbstractOwnableSynchronizer
    implements java.io.Serializable {
    ...
    public class ConditionObject implements Condition, java.io.Serializable {
        ...
        private int checkInterruptWhileWaiting(Node node) {
            return Thread.interrupted() ?
                (transferAfterCancelledWait(node) ? THROW_IE : REINTERRUPT) :
                0;
        }
        ...
    }
    ...
    final boolean transferAfterCancelledWait(Node node) {
        if (compareAndSetWaitStatus(node, Node.CONDITION, 0)) {
            enq(node);
            return true;
        }
        
        while (!isOnSyncQueue(node))
            Thread.yield();
        return false;
    }
    ...
}

首先,根据Thread.interrupted()判断是否发生了中断。如果未发生中断,则Thread.interrupted()返回false,ConditionObject#checkInterruptWhileWaiting()最终返回0

否则,继续调用AQS#transferAfterCancelledWait()判断发生中断的时机。如果是在收到信号前发生了中断,AQS#transferForSignal()6行还没来得及执行,必然满足node.waitStatus == CONDITION,则CAS设置node.waitStatus并将node入队(等待后面调用AQS#acquireQueued()竞争锁),然后返回true,ConditionObject#checkInterruptWhileWaiting()最终返回THROW_IE == -1

否则,一定是在收到信号后发生了中断,但可能AQS#transferForSignal()6行执行完但9行未执行完,即node未完成入队,因此,21-22行空等待至node完成入队,然后返回false,ConditionObject#checkInterruptWhileWaiting()最终返回REINTERRUPT == 1

回到ConditionObject#await()后:

  • 如果ConditionObject#checkInterruptWhileWaiting()返回0,表示未发生中断,属于信号唤醒,且已放入AQS内部等待队列,则退出循环。
  • 如果ConditionObject#checkInterruptWhileWaiting()返回非0,表示发生了中断,则记录中断模式interruptMode,以区分信号前中断唤醒与信号后中断唤醒,然后break跳出循环。

猴子没想明白一点:

使用while是为了防止“信号唤醒后node未放入AQS内部等待队列”的情况,但什么时候会出现该情况呢?看起来只有发生中断的时候,但是如果发生中断,则一定会break退出循环,也不需要回到while判断。

现在终于跳出了循环,要重新申请锁了。

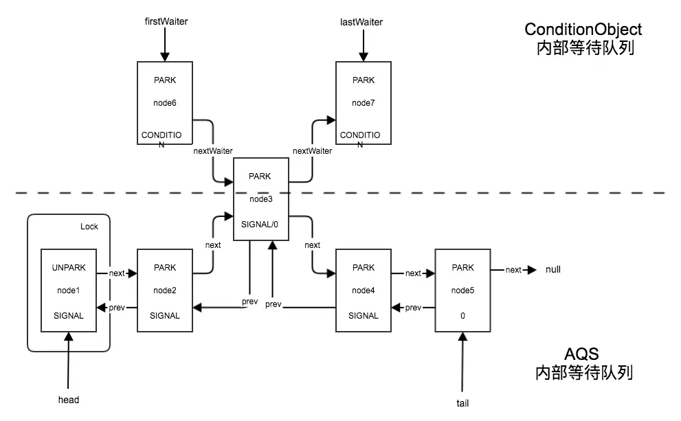
信号前中断的特殊情况

信号前中断会导致node同时处于AQS与ConditionObject两方的等待队列中(使用不同的指针连接节点):

image.png

而另外两种情况下,节点都被迁入了AQS内部等待队列。

因此,只要ConditionObject内部等待队列中的节点满足node.waitStatus == SIGNALnode.waitStatus == 0,就可以判断其同时位于于AQS与ConditionObject两方的等待队列中,也就能断定该节点属于信号前中断唤醒。

信号前中断唤醒的节点是无效的,需要被清理,可以用该条件找出这部分节点。该结论将在分析ConditionObject#unlinkCancelledWaiters()时派上用场。

acquireQueued

申请恢复锁状态,并更新中断模式:

            int interruptMode = 0; // 调整了一下位置,不影响
            if (acquireQueued(node, savedState) && interruptMode != THROW_IE)
                interruptMode = REINTERRUPT;

lock过程分析了AQS#acquireQueued(),该方法会阻塞,直到申请到锁,并返回中断标志。

如果申请锁的过程被中断,且之前等待时并不是信号前中断唤醒(即,信号唤醒或信号后中断唤醒),就将interruptMode置为REINTERRUPT。

AQS#acquireQueued()返回后,调用ConditionObject#await()的线程就重新获得了锁,以后就可以使用非开放调用了。

unlinkCancelledWaiters

移除已被取消的节点:

            if (node.nextWaiter != null)
                unlinkCancelledWaiters();

实际上,ConditionObject#unlinkCancelledWaiters()用于清理ConditionObject内部等待队列中的非CONDITION节点。具体来说:

  • 如果ConditionObject#await()时(更确切的说,AQS#fullyRelease()完全释放锁时)失败,节点转为CANCELLED状态,需要被清理。
  • 分析AQS#transferAfterCancelledWait()有一个结论,信号前中断会导致node同时处于AQS与ConditionObject两方的等待队列中(使用不同的指针连接节点)。这些节点将随着AQS#acquireQueued()的执行转为SIGNAL或0状态。但由于ConditionObject#await()在收到信号前(更确切的说,在AQS#fullyRelease()完全释放锁后、收到信号前)被中断,因此上述节点也是无效的,需要被清理。

而被信号唤醒或信号后中断唤醒的节点,将首先移出ConditionObject内部等待队列,再进行状态转换。

综上,只需要清理ConditionObject内部等待队列中的非CONDITION节点。

public abstract class AbstractQueuedSynchronizer
    extends AbstractOwnableSynchronizer
    implements java.io.Serializable {
    ...
    public class ConditionObject implements Condition, java.io.Serializable {
        ...
        private void unlinkCancelledWaiters() {
            Node t = firstWaiter;
            Node trail = null;
            while (t != null) {
                Node next = t.nextWaiter;
                if (t.waitStatus != Node.CONDITION) {
                    t.nextWaiter = null;
                    if (trail == null)
                        firstWaiter = next;
                    else
                        trail.nextWaiter = next;
                    if (next == null)
                        lastWaiter = trail;
                }
                else
                    trail = t;
                t = next;
            }
        }
        ...
    }
    ...
}

我发现大神们都喜欢写这种功能简单性能高,但乍一看肯定看不懂的代码。。。

从firstWaiter开始,trail记录上一个CONDITION节点,t为当前节点;如果当前节点t满足t.waitStatus != Node.CONDITION,就移除;遍历到队尾的时候,如果队尾也是非CONDITION节点,则更新lastWaiter。

注意,ConditionObject#unlinkCancelledWaiters()不是线程安全的,所以调用时必须持有锁。下面分析的两个清理时机都是持有锁的。

触发清理的时机

猴子分析的第二种时机可能有问题。以下分析仅供参考,欢迎指正。

对应的,需要在两种情况下触发清理:

  • 如果ConditionObject#await()时失败,则该节点必为队尾节点,因此,在下一次插入节点前,检查队尾节点的状态即可。
public abstract class AbstractQueuedSynchronizer
    extends AbstractOwnableSynchronizer
    implements java.io.Serializable {
    ...
    public class ConditionObject implements Condition, java.io.Serializable {
        ...
        private Node addConditionWaiter() {
            Node t = lastWaiter;
            // If lastWaiter is cancelled, clean out.
            if (t != null && t.waitStatus != Node.CONDITION) {
                unlinkCancelledWaiters();
                t = lastWaiter;
            }
            ...
        }
        ...
    }
    ...
}
  • 如果是信号前中断,则该节点可能位于队列的任意位置。因此,如果发生了中断就需要清理。
public abstract class AbstractQueuedSynchronizer
    extends AbstractOwnableSynchronizer
    implements java.io.Serializable {
    ...
    public class ConditionObject implements Condition, java.io.Serializable {
        ...
        public final void await() throws InterruptedException {
            ...
            // 阻塞,直到收到信号或被中断
            while (!isOnSyncQueue(node)) {
                LockSupport.park(this);
                if ((interruptMode = checkInterruptWhileWaiting(node)) != 0)
                    break;
            }
            // 申请恢复锁状态,并更新中断模式
            int interruptMode = 0; // 调整了一下位置,不影响
            if (acquireQueued(node, savedState) && interruptMode != THROW_IE)
                interruptMode = REINTERRUPT;
            // 移除已被取消的节点
            if (node.nextWaiter != null)
                unlinkCancelledWaiters();
            ...
        }
        ...
    }
    ...
}

node.nextWaiter != null与中断的判断是没有关系的。顶多可以认为这里没有判断中断,至于条件node.nextWaiter != null仅为了将尾节点判断并入对第一种时机的处理。

reportInterruptAfterWait

最后,如果之前发生了中断,则根据中断模式重放中断:

            if (interruptMode != 0)
                reportInterruptAfterWait(interruptMode);

只有确实发生了中断时,才会调用ConditionObject#reportInterruptAfterWait()。

public abstract class AbstractQueuedSynchronizer
    extends AbstractOwnableSynchronizer
    implements java.io.Serializable {
    ...
    public class ConditionObject implements Condition, java.io.Serializable {
        ...
        private void reportInterruptAfterWait(int interruptMode)
            throws InterruptedException {
            if (interruptMode == THROW_IE)
                throw new InterruptedException();
            else if (interruptMode == REINTERRUPT)
                selfInterrupt();
        }
        ...
    }
    static void selfInterrupt() {
        Thread.currentThread().interrupt();
    }
    ...
}

简单根据中断模式interruptMode决定如何重放:

  • 如果满足interruptMode == THROW_IE,则抛出InterruptedException
  • 如果满足interruptMode == REINTERRUPT,则重置中断标志。
  • 否则,什么都不做(尽管目前的分析不会触发该分支)。
InterruptedException 和 Thread#interrupt() 的区别
  • 如果抛出InterruptedException,则外界必须处理(捕获或继续外抛)。
  • 如果调用Thread#interrupt(),则仅设置中断标志。JDK提供的某些阻塞方法会处理该标志,详见Javadoc;但用户自己实现的方法,是否会处理该标志,处理是否及时,都无法做出保证。

更详细的区别暂时还不清楚,因此,也不明白这里要区分中断模式。

不过,关于JVM的中断机制,猴子终有一天会整明白的!!!

await小结

由于await与signal配合时才能发挥作用,分析二者时也要一起分析。本节从await切入,在await线程阻塞后转而分析signal线程,最后在再回到await线程继续分析。这部分源码的条件和结论非常多,代码耦合也比较大,虽然大大牺牲了可读性,不过作为JDK,换来的性能提高是居功至伟的。

本文也留下了几个问题,猴子暂时还没有解决。如果有朋友能指点一二,猴子感激不尽。

signal

signal与await也是对偶的。

public abstract class AbstractQueuedSynchronizer
    extends AbstractOwnableSynchronizer
    implements java.io.Serializable {
    ...
    public class ConditionObject implements Condition, java.io.Serializable {
        ...
        public final void signal() {
            if (!isHeldExclusively())
                throw new IllegalMonitorStateException();
            Node first = firstWaiter;
            if (first != null)
                doSignal(first);
        }
        ...
    }
    ...
}

8-9行的判断有两个意义:

  • 确定目前持有锁,因为条件队列的使用要求我们在调用await或signal时持有与该条件队列唯一相关的锁
  • 确定目前AQS的状态是独占的,否则不能配套使用锁和条件队列。

ReentrantLock是独占的,假设目前持有锁,则跳至10-12行。如果firstWaiter不为null,则表示有节点进入了条件队列内部的等待队列,需要被唤醒。按照FIFO的顺序进行唤醒,所以每次唤醒的都是头节点。

刚才我们调用ConditionObject#await()加入了一个节点,接下来要唤醒该节点。

doSignal

public abstract class AbstractQueuedSynchronizer
    extends AbstractOwnableSynchronizer
    implements java.io.Serializable {
    ...
    public class ConditionObject implements Condition, java.io.Serializable {
        ...
        private void doSignal(Node first) {
            do {
                if ( (firstWaiter = first.nextWaiter) == null)
                    lastWaiter = null;
                first.nextWaiter = null;
            } while (!transferForSignal(first) &&
                     (first = firstWaiter) != null);
        }
        ...
    }
    ...
}

9-11行使firstWaiter后移一位,也就是移除需要被唤醒的fisrt节点。12-13行调用AQS#transferForSignal(),尝试将条件队列内部的等待节点转换为AQS内部的等待节点,如果当前节点转换失败,就继续尝试下一节点,直至成功或遍历到队尾。

transferForSignal
public abstract class AbstractQueuedSynchronizer
    extends AbstractOwnableSynchronizer
    implements java.io.Serializable {
    ...
    final boolean transferForSignal(Node node) {
        if (!compareAndSetWaitStatus(node, Node.CONDITION, 0))
            return false;

        Node p = enq(node);
        int ws = p.waitStatus;
        if (ws > 0 || !compareAndSetWaitStatus(p, ws, Node.SIGNAL))
            LockSupport.unpark(node.thread);
        return true;
    }
    ...
}

6-7行尝试CAS修改node.waitStatus。与ReentrantLock#look()类似,如果ConditionObject#await()阻塞获取的过程失败,失败的当时只会将新节点的状态标记为CACELLED==1。因此,如果19行CAS设置失败的,此时一定满足node.waitStatus==CACELLED,则可直接返回false,表示转换失败。否则,表示可以转换,继续执行。

9行调用AQS#enq()入队,返回旧的队尾节点,也就是新节点node的前继节点。

首先要再次敲黑板:条件队列的使用要求我们在调用await或signal时持有与该条件队列唯一相关的锁。同时,ReentrantLock#unlock()的执行也要求先持有锁。因此,只有正在执行ReentrantLock#lock()的线程能够与正在执行ConditionObject#signal()的线程发生竞争。更确切的说,只有正在执行AQS#acquireQueued()的线程T1能够与正在执行AQS#transferForSignal()10-12行的线程T2发生竞争

10-12行的迷惑性就来源于此。实际上,就算去掉10-12行也是满足正确性要求的。因为线程T2释放锁后,依然会将从队头开始的第一个非取消节点唤醒,该节点会继续ConditionObject#await()中的工作(稍后回去分析)。10-12行是为了进一步提升性能,针对两种情况:

  • 如果插入node前,AQS内部等待队列的队尾节点就已经被取消,则满足wc > 0
  • 如果插入node后,AQS内部等待队列的队尾节点已经稳定,满足tail.waitStatus == 0,但在执行ws > 0之后!compareAndSetWaitStatus(p, ws, Node.SIGNAL)之前被取消,则CAS也会失败,满足compareAndSetWaitStatus(p, ws, Node.SIGNAL) == false

这两种情况下,提前唤醒node能够在等待锁的同时,预先完成一部分ConditionObject#await()中无需同步的工作。这部分成本不能被轻易忽视,因为条件队列被应用最多的场景是高并发,大量线程累加起来的成本是很可观的。

最后,AQS#transferForSignal()一定会返回true,表示node已经插入AQS内部的等待队列,而不关心其此时是否被唤醒。

回到ConditionObject#doSignal()与ConditionObject#signal(),成功结束。对于用户而言,线程此时已经被唤醒,尽管其大概率还在AQS内部阻塞排队,等待重新获得锁。

现在,可以跳回ConditionObject#await()继续分析了。之前分析到了16行的AQS#isOnSyncQueue()方法。


signal没有小结

signalAll

最后送一个signalAll():

public abstract class AbstractQueuedSynchronizer
    extends AbstractOwnableSynchronizer
    implements java.io.Serializable {
    ...
    public class ConditionObject implements Condition, java.io.Serializable {
        ...
        public final void signalAll() {
            if (!isHeldExclusively())
                throw new IllegalMonitorStateException();
            Node first = firstWaiter;
            if (first != null)
                doSignalAll(first);
        }
        ...
    }
    ...
}

12行前的逻辑与ConditionObject#signal()相同。

doSignalAll

public abstract class AbstractQueuedSynchronizer
    extends AbstractOwnableSynchronizer
    implements java.io.Serializable {
    ...
    public class ConditionObject implements Condition, java.io.Serializable {
        ...
        private void doSignalAll(Node first) {
            lastWaiter = firstWaiter = null;
            do {
                Node next = first.nextWaiter;
                first.nextWaiter = null;
                transferForSignal(first);
                first = next;
            } while (first != null);
        }
        ...
    }
    ...
}

8行一次性移除所有节点。9-14行,利用first仍持有的队首节点,遍历队列依次转换所有节点。后同ConditionObject#signal()。

总结

本文分析了显式条件队列Condition。AQS的内部类ConditionObject实现了Condition接口,内部维护自己的等待队列,加上与AQS的交互,实现了条件队列的基本语义。

与Lock#lock()相似,ConditionObject#await()也有诸多衍生品,如ConditionObject#awaitUninterruptibly()、ConditionObject#awaitNanos()等,感兴趣的朋友可以仿照Lock#lockInterruptibly()的思路进行分析。


本文链接:源码|并发一枝花之ReentrantLock与AQS(3):Condition
作者:猴子007
出处:monkeysayhi.github.io
本文基于 知识共享署名-相同方式共享 4.0 国际许可协议发布,欢迎转载,演绎或用于商业目的,但是必须保留本文的署名及链接。