今天讲一个牛逼而实用的概念,串行线程封闭。对象池是串行线程封闭的典型应用场景;线程池糅合了对象池技术,但核心实现不依赖于对象池,很容易产生误会。本文从串行线程封闭和对象池入手,最后通过源码分析线程池的核心原理,厘清对象池与线程池之间的误会。
JDK版本:oracle java 1.8.0_102
线程封闭与串行线程封闭
线程封闭
线程封闭是一种常见的线程安全设计策略:仅在固定的一个线程内访问对象,不对其他线程共享。
使用线程封闭技术,对象O始终只对一个线程T1可见,“单线程”中自然不存在线程安全的问题。
ThreadLocal是常用的线程安全工具,见源码|ThreadLocal的实现原理。线程封闭在Servlet及高层的web框架Spring等中应用不少。
串行线程封闭
线程封闭虽然好用,却限制了对象的共享。串行线程封闭改进了这一点:对象O只能由单个线程T1拥有,但可以通过安全的发布对象O来转移O的所有权;在转移所有权后,也只有另一个线程T2能获得这个O的所有权,并且发布O的T1不会再访问O。
所谓“所有权”,指修改对象的权利。
相对于线程封闭,串行线程封闭使得任意时刻,最多仅有一个线程拥有对象的所有权。当然,这不是绝对的,只要线程T1事实不会再修改对象O,那么就相当于仅有T2拥有对象的所有权。串行线层封闭让对象变得可以共享(虽然只能串行的拥有所有权),灵活性得到大大提高;相对的,要共享对象就涉及安全发布的问题,依靠BlockingQueue等同步工具很容易实现这一点。
对象池是串行线程封闭的经典应用场景,如数据库连接池等。
对象池
对象池利用了串行封闭:将对象O“借给”一个请求线程T1,T1使用完再交还给对象池,并保证“未擅自发布该对象”且“以后不再使用”;对象池收回O后,等T2来借的时候再把它借给T2,完成对象所有权的传递。
猴子撸了一个简化版的线程池,用户只需要覆写newObject()方法:
public abstract class AbstractObjectPool<T> {
protected final int min;
protected final int max;
protected final List<T> usings = new LinkedList<>();
protected final List<T> buffer = new LinkedList<>();
private volatile boolean inited = false;
public AbstractObjectPool(int min, int max) {
this.min = min;
this.max = max;
if (this.min < 0 || this.min > this.max) {
throw new IllegalArgumentException(String.format(
"need 0 <= min <= max <= Integer.MAX_VALUE, given min: %s, max: %s", this.min, this.max));
}
}
public void init() {
for (int i = 0; i < min; i++) {
buffer.add(newObject());
}
inited = true;
}
protected void checkInited() {
if (!inited) {
throw new IllegalStateException("not inited");
}
}
abstract protected T newObject();
public synchronized T getObject() {
checkInited();
if (usings.size() == max) {
return null;
}
if (buffer.size() == 0) {
T newObj = newObject();
usings.add(newObj);
return newObj;
}
T oldObj = buffer.remove(0);
usings.add(oldObj);
return oldObj;
}
public synchronized void freeObject(T obj) {
checkInited();
if (!usings.contains(obj)) {
throw new IllegalArgumentException(String.format("obj not in using queue: %s", obj));
}
usings.remove(usings.indexOf(obj));
buffer.add(obj);
}
}
AbstractObjectPool具有以下特性:
- 支持设置最小、最大容量
- 对象一旦申请就不再释放,避免了GC
虽然很简单,但大可以用于一些时间敏感、资源充裕的场景。如果时间进一步敏感,可将getObject()、freeObject()改写为并发程度更高的版本,但记得保证安全发布安全回收;如果资源不那么充裕,可以适当增加对象回收策略。
可以看到,一个对象池的基本行为包括:
- 创建对象newObject()
- 借取对象getObject()
- 归还对象freeObject()
典型的对象池有各种连接池、常量池等,应用非常多,模型也大同小异,不做解析。令人迷惑的是线程池,很容易让人误以为线程池的核心原理也是对象池,下面来追一遍源码。
线程池
首先摆出结论:线程池糅合了对象池模型,但核心原理是生产者-消费者模型。
继承结构如下:

用户可以将Runnable(或Callables)实例提交给线程池,线程池会异步执行该任务,返回响应的结果(完成/返回值)。
猴子最喜欢的是submit(Callable<T> task)方法。我们从该方法入手,逐步深入函数栈,探究线程池的实现原理。
submit()
submit()方法在ExecutorService接口中定义,AbstractExecutorService实现,ThreadPoolExecutor直接继承。
public abstract class AbstractExecutorService implements ExecutorService {
...
public <T> Future<T> submit(Callable<T> task) {
if (task == null) throw new NullPointerException();
RunnableFuture<T> ftask = newTaskFor(task);
execute(ftask);
return ftask;
}
...
}
AbstractExecutorService#newTaskFor()创建一个RunnableFuture类型的FutureTask。
核心是execute()方法。
execute()
execute()方法在Executor接口中定义,ThreadPoolExecutor实现。
public class ThreadPoolExecutor extends AbstractExecutorService {
...
public void execute(Runnable command) {
if (command == null)
throw new NullPointerException();
int c = ctl.get();
if (workerCountOf(c) < corePoolSize) {
if (addWorker(command, true))
return;
c = ctl.get();
}
if (isRunning(c) && workQueue.offer(command)) {
int recheck = ctl.get();
if (! isRunning(recheck) && remove(command))
reject(command);
else if (workerCountOf(recheck) == 0)
addWorker(null, false);
}
else if (!addWorker(command, false))
reject(command);
}
...
}
我们暂且忽略线程池的池化策略。关注一个最简单的场景,看能不能先回答一个问题:线程池中的任务如何执行?
核心是addWorker()方法。以8行的参数为例,此时,线程池中的线程数未达到最小线程池大小corePoolSize,通常可以直接在9行返回。
addWorker()
简化如下:
public class ThreadPoolExecutor extends AbstractExecutorService {
...
private boolean addWorker(Runnable firstTask, boolean core) {
boolean workerStarted = false;
boolean workerAdded = false;
Worker w = null;
try {
w = new Worker(firstTask);
final Thread t = w.thread;
if (t != null) {
final ReentrantLock mainLock = this.mainLock;
mainLock.lock();
try {
int rs = runStateOf(ctl.get());
if (rs < SHUTDOWN) {
workers.add(w);
workerAdded = true;
}
} finally {
mainLock.unlock();
}
if (workerAdded) {
t.start();
workerStarted = true;
}
}
} finally {
if (! workerStarted)
addWorkerFailed(w);
}
return workerStarted;
}
...
}
我去掉了很多用于管理线程池、维护线程安全的代码。假设线程池未关闭,worker(即w,下同)添加成功,则必然能够将worker添加至workers中。workers是一个HashSet:
private final HashSet<Worker> workers = new HashSet<Worker>();
哪里是对象池?
如果说与对象池有关,那么workers即相当于示例代码中的using,应用了对象池模型;只不过这里的using是一直增长的,直到达到最大线程池大小maximumPoolSize。
但是很明显,线程池并没有将线程发布出去,workers也仅仅完成using“保存线程”的功能。那么,线程池中的任务如何执行呢?跟线程池有没有关系?
哪里又不是?
注意9、17、24行:
- 9行将我们提交到线程池的firstTask封装入一个worker。
- 17行将worker加入workers,维护起来
- 24行则启动了worker中的线程t
核心在与这三行,但线程池并没有直接在addWorker()中启动任务firstTask,代之以启动一个worker。最终任务必然被启动,那么我们继续看Worker如何启动这个任务。
Worker
Worker实现了Runnable接口:
private final class Worker
extends AbstractQueuedSynchronizer
implements Runnable
{
...
Worker(Runnable firstTask) {
setState(-1); // inhibit interrupts until runWorker
this.firstTask = firstTask;
this.thread = getThreadFactory().newThread(this);
}
/** Delegates main run loop to outer runWorker */
public void run() {
runWorker(this);
}
...
}
为什么要将构造Worker时的参数命名为firstTask?因为当且仅当需要建立新的Worker以执行任务task时,才会调用构造函数。因此,任务task对于新Worker而言,是第一个任务firstTask。
Worker的实现非常简单:将自己作为Runable实例,构造时在内部创建并持有一个线程thread。Thread和Runable的使用大家很熟悉了,核心是Worker的run方法,它直接调用了runWorker()方法。
runWorker()
敲黑板!!!
重头戏来了。简化如下:
public class ThreadPoolExecutor extends AbstractExecutorService {
...
final void runWorker(Worker w) {
Thread wt = Thread.currentThread();
Runnable task = w.firstTask;
w.firstTask = null;
w.unlock(); // allow interrupts
boolean completedAbruptly = true;
try {
while (task != null || (task = getTask()) != null) {
w.lock();
try {
beforeExecute(wt, task);
Throwable thrown = null;
try {
task.run();
} catch (RuntimeException x) {
thrown = x; throw x;
} catch (Error x) {
thrown = x; throw x;
} catch (Throwable x) {
thrown = x; throw new Error(x);
} finally {
afterExecute(task, thrown);
}
} finally {
task = null;
w.completedTasks++;
w.unlock();
}
}
completedAbruptly = false;
} finally {
processWorkerExit(w, completedAbruptly);
}
}
...
}
我们在前面将要执行的任务赋值给firstTask,5-6行首先取出任务task,并将firstTask置为null。因为接下来要执行task,firstTask字段就没有用了。
重点是10-31行的while循环。下面分情况讨论。
case1:第一次进入循环,task不为null
case1对应前面作出的诸多假设。
第一次进入循环时,task==firstTask,不为null,使10行布尔短路直接进入循环;从而16行执行的是firstTask的run()方法;异常处理不表;最后,finally代码块中,task会被置为null,导致下一轮循环会进入case2。
case2:非第一次进入循环,task为null
case2是更普遍的情况,也就是线程池的核心。
case1中,task被置为了null,使10行布尔表达式执行第二部分(task = getTask()) != null(getTask()稍后再讲,它返回一个用户已提交的任务)。假设task得到了一个已提交的任务,从而16行执行的是新获得的任务task的run()方法。后同case1,最后task仍然会被置为null,以后循环都将进入case2。
getTask()
任务从哪来呢?简化如下:
public class ThreadPoolExecutor extends AbstractExecutorService {
...
private Runnable getTask() {
boolean timedOut = false;
for (;;) {
try {
Runnable r = timed ?
workQueue.poll(keepAliveTime, TimeUnit.NANOSECONDS) :
workQueue.take();
if (r != null)
return r;
timedOut = true;
} catch (InterruptedException retry) {
timedOut = false;
}
}
}
...
}
我们先看最简单的,19-28行。
首先,workQueue是一个线程安全的BlockingQueue,大部分时候使用的实现类是LinkedBlockingQueue,见源码|并发一枝花之BlockingQueue:
private final BlockingQueue<Runnable> workQueue;
假设timed为false,则调用阻塞的take()方法,返回的r一定不是null,从而12行退出,将任务交给了某个worker线程。
一个小细节有点意思:前面每个worker线程runWorker()方法时,在循环中加锁粒度在worker级别,直接使用的lock同步;但因为每一个woker都会调用getTask(),考虑到性能因素,源码中getTask()中使用乐观的CAS+SPIN实现无锁同步。关于乐观锁和CAS,可以参考我的另一篇文章源码|并发一枝花之ConcurrentLinkedQueue【伪】。
workQueue中的元素从哪来呢?这就要回顾execute()方法了。
execute()
public class ThreadPoolExecutor extends AbstractExecutorService {
...
public void execute(Runnable command) {
if (command == null)
throw new NullPointerException();
int c = ctl.get();
if (workerCountOf(c) < corePoolSize) {
if (addWorker(command, true))
return;
c = ctl.get();
}
if (isRunning(c) && workQueue.offer(command)) {
int recheck = ctl.get();
if (! isRunning(recheck) && remove(command))
reject(command);
else if (workerCountOf(recheck) == 0)
addWorker(null, false);
}
else if (!addWorker(command, false))
reject(command);
}
...
}
前面以8行的参数为例,此时,线程池中的线程数未达到最小线程池大小corePoolSize,通常可以直接在9行返回。进入8行的条件是“当前worker数小于最小线程池大小corePoolSize”。
如果不满足,会继续执行到12行。isRunning(c)判断线程池是否未关闭,我们关注未关闭的情况;则会继续执行布尔表达式的第二部分workQueue.offer(command),尝试将任务command放入队列workQueue。
workQueue.offer()的行为取决于线程池持有的BlockingQueue实例。Executors.newFixedThreadPool()、Executors.newSingleThreadExecutor()创建的线程池使用LinkedBlockingQueue,而Executors.newCachedThreadPool()创建的线程池则使用SynchronousQueue。以LinkedBlockingQueue为例,创建时不配置容量,即创建为无界队列,则LinkedBlockingQueue#offer()永远返回true,从而进入12-18行。
更细节的内容不必关心了,当workQueue.offer()返回true时,已经将任务command放入了队列workQueue。当未来的某个时刻,某worker执行完某一个任务之后,会从workQueue中再取出一个任务继续执行,直到线程池关闭,直到海枯石烂。
CachedThreadPool是一种无界线程池,使用SynchronousQueue能进一步提升性能,简化代码结构。留给读者分析。
case2小结
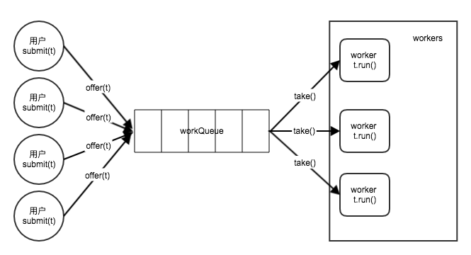
可以看到,实际上,线程池的核心原理与对象池模型无关,而是生产者-消费者模型:

- 生产者(调用submit()或execute()方法)将任务task放入队列
- 消费者(worker线程)循环从队列中取出任务处理任务(执行task.run())。
钩子方法
回到runWorker()方法,在执行任务的过程中,线程池保留了一些钩子方法,如beforeExecute()、afterExecute()。用户可以在实现自己的线程池时,可以通过覆写钩子方法为线程池添加功能。
但猴子不认为钩子方法是一种好的设计。因为钩子方法大多依赖于源码实现,那么除非了解源码或API声明绝对的严谨正确,否则很难正确使用钩子方法。等发生错误时再去了解实现,可能就太晚了。说到底,还是不要使用类似extends这种表达“扩展”语义的语法来实现继承,详见Java中如何恰当的表达“继承”与“扩展”的语义?。
当然,钩子方法也是极其方便的。权衡看待。
总结
相对于线程封闭,串行线程封闭离用户的距离更近一些,简单灵活,实用性强,很容易掌握。而线程封闭更多沦为单纯的设计策略,单纯使用线程封闭的场景不多。
线程池与串行线程封闭、对象池的关系不大,但经常被混为一谈;没看过源码的很难想到其实现方案,面试时也能立分高下。
线程池的实现很有意思。在追源码之前,猴子一直以为线程池就是把线程存起来,用的时候取出来执行任务;看了源码才知道实现如此之妙,简洁优雅效率高。源码才是最好的老师。
本文链接:源码|从串行线程封闭到对象池、线程池
作者:猴子007
出处:monkeysayhi.github.io
本文基于 知识共享署名-相同方式共享 4.0 国际许可协议发布,欢迎转载,演绎或用于商业目的,但是必须保留本文的署名及链接。