我们知道Android系统也是仿照Java搞了一个虚拟机,不过它不叫JVM,它叫Dalvik/ART VM 他们还是有很大区别 的(这是不是我们的重点,
点开是个拓展阅读)。我们只需要知道,Dalvik/ART VM 虚拟机加载类和资源也是要用到ClassLoader ,不过Jvm通过ClassLoader 加载的class字节码,而Dalvik/ART VM通过ClassLoader 加载则是dex。
Android的类加载器分为两种,PathClassLoader和DexClassLoader,两者都继承自BaseDexClassLoader
PathClassLoader代码位于libcore\dalvik\src\main\Java\dalvik\system\PathClassLoader.java
DexClassLoader代码位于libcore\dalvik\src\main\java\dalvik\system\DexClassLoader.java
BaseDexClassLoader代码位于libcore\dalvik\src\main\java\dalvik\system\BaseDexClassLoader.java
- PathClassLoader
-
用来加载系统类和应用类
-
DexClassLoader
用来加载jar、apk、dex文件.加载jar、apk也是最终抽取里面的Dex文件进行加载.

2.热修复机制
热修复就是利用dexElements 的顺序来做文章,当一个补丁的patch.dex放到了dexElements 的第一位,那么当加载一个bug类时,发现在patch.dex中,则直接加载这个类,原来的bug类可能就被覆盖了
看下PathClassLoader代码
public class PathClassLoader extends BaseDexClassLoader {
public PathClassLoader(String dexPath, ClassLoader parent) {
super(dexPath, null, null, parent);
}
public PathClassLoader(String dexPath, String libraryPath,
ClassLoader parent) {
super(dexPath, null, libraryPath, parent);
}
}
DexClassLoader代码
public class DexClassLoader extends BaseDexClassLoader {
public DexClassLoader(String dexPath, String optimizedDirectory, String libraryPath, ClassLoader parent) {
super(dexPath, new File(optimizedDirectory), libraryPath, parent);
}
}
两个ClassLoader就两三行代码,只是调用了父类的构造函数.
public class BaseDexClassLoader extends ClassLoader {
private final DexPathList pathList;
public BaseDexClassLoader(String dexPath, File optimizedDirectory,
String libraryPath, ClassLoader parent) {
super(parent);
this.pathList = new DexPathList(this, dexPath, libraryPath, optimizedDirectory);
}
@Override
protected Class<?> findClass(String name) throws ClassNotFoundException {
List<Throwable> suppressedExceptions = new ArrayList<Throwable>();
Class c = pathList.findClass(name, suppressedExceptions);
if (c == null) {
ClassNotFoundException cnfe = new ClassNotFoundException("Didn't find class \"" + name + "\" on path: " + pathList);
for (Throwable t : suppressedExceptions) {
cnfe.addSuppressed(t);
}
throw cnfe;
}
return c;
}
在BaseDexClassLoader 构造函数中创建一个DexPathList类的实例,这个DexPathList的构造函数会创建一个dexElements 数组
public DexPathList(ClassLoader definingContext, String dexPath, String libraryPath, File optimizedDirectory) {
...
this.definingContext = definingContext;
ArrayList<IOException> suppressedExceptions = new ArrayList<IOException>();
//创建一个数组
this.dexElements = makeDexElements(splitDexPath(dexPath), optimizedDirectory, suppressedExceptions);
...
}
然后BaseDexClassLoader 重写了findClass方法,调用了pathList.findClass,跳到DexPathList类中.
/* package */final class DexPathList {
...
public Class findClass(String name, List<Throwable> suppressed) {
//遍历该数组
for (Element element : dexElements) {
//初始化DexFile
DexFile dex = element.dexFile;
if (dex != null) {
//调用DexFile类的loadClassBinaryName方法返回Class实例
Class clazz = dex.loadClassBinaryName(name, definingContext, suppressed);
if (clazz != null) {
return clazz;
}
}
}
return null;
}
...
}
会遍历这个数组,然后初始化DexFile,如果DexFile不为空那么调用DexFile类的loadClassBinaryName方法返回Class实例.
归纳上面的话就是:ClassLoader会遍历这个数组,然后加载这个数组中的dex文件.
而ClassLoader在加载到正确的类之后,就不会再去加载有Bug的那个类了,我们把这个正确的类放在Dex文件中,让这个Dex文件排在dexElements数组前面即可.
CLASS_ISPREVERIFIED问题
根据QQ空间谈到的在虚拟机启动的时候,在verify选项被打开的时候,如果static方法、private方法、构造函数等,其中的直接引用(第一层关系)到的类都在同一个dex文件中,那么该类就会被打上CLASS_ISPREVERIFIED标志,且一旦类被打上CLASS_ISPREVERIFIED标志其他dex就不能再去替换这个类。所以一定要想办法去阻止类被打上CLASS_ISPREVERIFIED标志。
为了阻止类被打上CLASS_ISPREVERIFIED标志,QQ空间开发团队提出了一个方法是先将一个预备好的hack.dex加入到dexElements的第一项,让后面的dex的所有类都引用hack.dex其中的一个类,这样原来的class1.dex、class2.dex、class3.dex中的所有类都引用了hack.dex的类,所以其中的都不会打上CLASS_ISPREVERIFIED标志。
比如Qzon团队的 安卓App热补丁动态修复技术介绍 (这个一定要看!!! 他是热修复元老级文章,也是重点抄袭对象)
动态加载class文件,然后调用反射完成修复的原理:Java程序在运行的时候,JVM通过类加载机制(ClassLoader)把class文件加载到内存中,只有class文件被载入内存,才能被其他class引用,使程序正确运行起来.
Java中的ClassLoader有三种. 1. Bootstrap ClassLoader 由C++写的,由JVM启动. 启动类加载器,负责加载java基础类,对应的文件是%JRE_HOME/lib/ 目录下的rt.jar、resources.jar、charsets.jar和class等 2.Extension ClassLoader Java类,继承自URLClassLoader 扩展类加载器,对应的文件是 %JRE_HOME/lib/ext 目录下的jar和class等 3.App ClassLoader Java类,继承自URLClassLoader 系统类加载器,对应的文件是应用程序classpath目录下的所有jar和class等 这里要注意一点:只有被同一个类加载器实例加载并且文件名相同的class文件才被认为是同一个class. 下面来一个小例子: 因为系统的ClassLoader只会加载指定目录下的class文件,如果你想加载自己的class文件,那么就可以自定义一个ClassLoader.\
如何自定义ClassLoader 新建一个类继承自java.lang.ClassLoader,重写它的findClass方法。--将class字节码数组转换为Class类的实例---调用loadClass方法即可 我先建一个叫Log的类,很简单,只有一句打印
|
业界内比较著名的有阿里巴巴的AndFix, HotFix(内测)、Dexposed,Qzone的超级补丁和tencent的Tinker(将开源) 以及大众点评的 Nuwa,腾讯Bugly,RocooFix等
Dex的热修复总结
Dex的热修复目前来看基本上有四种方案:
- 阿里系的从native层入手,见AndFix
- QQ空间的方案,插桩,见安卓App热补丁动态修复技术介绍
- 微信的方案,见微信Android热补丁实践演进之路,dexDiff和dexPatch,方法很牛逼,需要全量插入,但是这个全量插入的dex中需要删除一些过早加载的类,不然同样会报class is pre verified异常,还有一个缺点就是合成占内存和内置存储空间。微信读书的方式和微信类似,见 Android Patch 方案与持续交付,不过微信读书是miniloader方式,启动时容易ANR,在我锤子手机上变现出来特别明显,长时间的卡图标现象。
- 美团的方案,也就是instant run的方案,见Android热更新方案Robust
此外,微信的方案是多classloader,这种方式可以解决用multidex方式在部分机型上不生效patch的问题,同时还带来一个好处,这种多classloader的方式使用的是instant run的代码,如果存在native library的修复,也会带来极大的方便。
Native Library热修复总结
而native libraray的修复,目前来说,基本上有两种方案。。
- 类似multidex的dex方式,插入目录到数组最前面,具体文章见Android热更新之so库的热更新,需要处理系统的兼容性问题,系统分隔线是Android 6.0
- 第二种方式需要依赖多classloader,在构造BaseDexClassLoader的时候,获取原classloader的native library,通过环境变量分隔符(冒号),将patch的native library与原目录进行连接,patch目录在前,这样同样可以达到修复的目的,缺点是需要依赖dex的热修复,优点是应用native library时不需要处理兼容性问题,当然从patch中释放出来的时候也需要处理兼容性问题。
上述方案从原理上可以简单划分为3类:
| 原理 | 方案 |
|---|---|
| Native hook方案 | AndFix |
| QQ空间提出的Classloader替换类的方案 | Nuwa, HotFix, RocooFix |
| Instant Run的冷插拔原理的Dex替换 | Tinker |
优缺点分析
| 测试模块 | AndFix | Classloader方案 | Tinker |
|---|---|---|---|
| 类替换 | no | yes | yes |
| 资源替换 | no | no | yes |
| 是否需要重启 | no | yes | yes |
| 兼容稳定性 | 不稳定 | 最好 | 稳定 |
下面,我们就分别介绍QQ空间超级热补丁技术和微信Tinker以及阿里百川的HotFix技术。
一、Qzone超级补丁技术
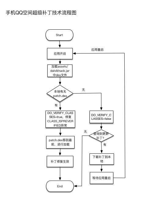
超级补丁技术基于DEX分包方案,使用了多DEX加载的原理,大致的过程就是:把BUG方法修复以后,放到一个单独的DEX里,插入到dexElements数组的最前面,让虚拟机去加载修复完后的方法。

当patch.dex中包含Test.class时就会优先加载,在后续的DEX中遇到Test.class的话就会直接返回而不去加载,这样就达到了修复的目的。
但是有一个问题是,当两个调用关系的类不在同一个DEX时,就会产生异常报错。我们知道,在APK安装时,虚拟机需要将classes.dex优化成odex文件,然后才会执行。在这个过程中,会进行类的verify操作,如果调用关系的类都在同一个DEX中的话就会被打上`CLASS_ISPREVERIFIED`的标志,然后才会写入odex文件。
所以,为了可以正常地进行打补丁修复,必须避免类被打上`CLASS_ISPREVERIFIED`标志,具体的做法就是单独放一个类在另外DEX中,让其他类调用。
我们来逆向手机QQ空间APK看一下具体的实现:
先进入程序入口`QZoneRealApplication`,在`attachBaseContext`中进行了两步操作:修复`CLASS_ISPREVERIFIED`标志导致的unexpected DEX problem异常、加载修复的DEX。

1. 修复Unexpected DEX Problem异常
先看代码,

可以看到,这里是要加载一个libs目录下的dalvikhack.jar。在项目的assets/libs找到该文件,解压得到’classes.dex’文件,逆向打开该DEX文件,

通过不同的DEX加载进来,然后在每一个类的构造方法中引用其他DEX中的唯一类AnitLazyLoad,避免类被打上CLASS_ISPREVERIFIED标志。

在无修复的情况下,将DO_VERIFY_CLASSES设置为false,以提高性能。只有在需要修复的时候,才设置为true。

至于如何加载进来,与下面第二个步骤基本相同。
2. 加载修复的DEX
从loadPatchDex()方法进入,经过几次跳转,到达核心的代码段,`SystemClassLoaderInjector.c()`。由于进行了混淆和多次方法的跳转,于是将核心代码段做了如下整理:

修复的步骤为:
1. 可以看出是通过获取到当前应用的Classloader,即为BaseDexClassloader
2. 通过反射获取到他的DexPathList属性对象pathList
3. 通过反射调用pathList的dexElements方法把patch.dex转化为Element[]
4. 两个Element[]进行合并,把patch.dex放到最前面去
5. 加载Element[],达到修复目的
整体的流程图如下:

从流程图来看,可以很明显的找到这种方式的特点:
优势:
- 没有合成整包(和微信Tinker比起来),产物比较小,比较灵活
- 可以实现类替换,兼容性高。(某些三星手机不起作用)
不足:
1. 不支持即时生效,必须通过重启才能生效。
2. 为了实现修复这个过程,必须在应用中加入两个dex!dalvikhack.dex中只有一个类,对性能影响不大,但是对于patch.dex来说,修复的类到了一定数量,就需要花不少的时间加载。对手淘这种航母级应用来说,启动耗时增加2s以上是不能够接受的事。
3. 在ART模式下,如果类修改了结构,就会出现内存错乱的问题。为了解决这个问题,就必须把所有相关的调用类、父类子类等等全部加载到patch.dex中,导致补丁包异常的大,进一步增加应用启动加载的时候,耗时更加严重。
二、微信Tinker
微信针对QQ空间超级补丁技术的不足提出了一个提供DEX差量包,整体替换DEX的方案。主要的原理是与QQ空间超级补丁技术基本相同,区别在于不再将patch.dex增加到elements数组中,而是差量的方式给出patch.dex,然后将patch.dex与应用的classes.dex合并,然后整体替换掉旧的DEX文件,以达到修复的目的。

我们来逆向微信的APK看一下具体的实现:
先找到应用入口`TinkerApplication`,在`onBaseContextAttached()`调用了`loadTinker()`,

进入TinkerLoader的tryLoad()方法中,

从方法名可以预见,在tryLoadPatchFilesInternal()中尝试加载本地的补丁,再经过跳转进入核心修复功能类SystemClassLoaderAdder.class中。

代码中可以看出,根据Android版本的不同,分别采取具体的修复操作,不过原理都是一样的。我们以V19为例,

从代码中可以看到,通过反射操作得到PathClassLoader的DexPatchList,反射调用patchlist的makeDexElements()方法吧本地的dex文件直接替换到Element[]数组中去,达到修复的目的。
对于如何进行patch.dex与classes.dex的合并操作,这里微信开启了一个新的进程,开启新进程的服务TinkerPatchService进行合并。

整体的流程如下:

从流程图来看,同样可以很明显的找到这种方式的特点:
优势:
- 合成整包,不用在构造函数插入代码,防止verify,verify和opt在编译期间就已经完成,不会在运行期间进行。
- 性能提高。兼容性和稳定性比较高。
- 开发者透明,不需要对包进行额外处理。
不足:
1. 与超级补丁技术一样,不支持即时生效,必须通过重启应用的方式才能生效。
2. 需要给应用开启新的进程才能进行合并,并且很容易因为内存消耗等原因合并失败。
3. 合并时占用额外磁盘空间,对于多DEX的应用来说,如果修改了多个DEX文件,就需要下发多个patch.dex与对应的classes.dex进行合并操作时这种情况会更严重,因此合并过程的失败率也会更高。
三、阿里百川HotFix
阿里百川推出的热修复HotFix服务,相对于QQ空间超级补丁技术和微信Tinker来说,定位于紧急BUG修复的场景下,能够最及时的修复BUG,下拉补丁立即生效无需等待。

1、AndFix实现原理
AndFix不同于QQ空间超级补丁技术和微信Tinker通过增加或替换整个DEX的方案,提供了一种运行时在Native修改Filed指针的方式,实现方法的替换,达到即时生效无需重启,对应用无性能消耗的目的。
原理图如下:

2、AndFix实现过程
对于实现方法的替换,需要在Native层操作,经过三个步骤:

接下来以Dalvik设备为例,来分析具体的实现过程:
1、setup()

对于Dalvik来说,遵循JIT即时编译机制,需要在运行时装载libdvm.so动态库,获取以下内部函数:
1) dvmThreadSelf( ):查询当前的线程;
2)dvmDecodeIndirectRef( ):根据当前线程获得ClassObject对象。
2、setFieldFlag

该操作的目的:把 private、protected的方法和字段都改为public,这样才可被动态库看见并识别,因为动态库会忽略非public属性的字段和方法。
3、replaceMethod

该步骤是方法替换的核心,替换的流程如下:

AndFix对ART设备同样支持,具体的过程与Dalvik相似,这里不再赘述。
从技术原理,不难看出阿里百川HotFix的几个特点:
优势:
- BUG修复的即时性
- 补丁包同样采用差量技术,生成的PATCH体积小
- 对应用无侵入,几乎无性能损耗
不足:
- 不支持新增字段,以及修改<init>方法,也不支持对资源的替换。
- 由于厂商的自定义ROM,对少数机型暂不支持。
综合分析如下:

|
|
热修复技术的坑与解
——————————————————————————————————————————————————————————————————————
我们可以看到,QQ空间超级补丁技术和微信Tinker的修复原理都基于类加载,在功能上已经支持类、资源的替换和新增,功能非常强大。既然已经有了这么强大的热修复技术,为什么阿里百川还要推出自己的热修复方案HotFix呢?
一、多DEX带来的性能影响
我们知道,多DEX方案原来是用于解决应用方法数65k的问题,现在google也官方支持了MultiDex的实现方案。超级补丁技术和Tinker却作为一种热修复的方案,平生给应用增加了多个DEX,而多DEX技术最大的问题在于性能上的坑,因此基于这种方案的补丁技术影响应用的性能是无疑的。
1. 启动加载时间过长
我们可以看到,超级补丁技术和Tinker都选择在Application的attachBaseContext()进行补丁dex的加载,即时这是加载dex的最佳时机,但是依然会带来很大的性能问题,首当其冲的就是启动时间太长。
对于补丁DEX来说,应用启动时虚拟机会进行dexopt操作,将patch.dex文件转换成odex文件,这个过程本身非常耗时。而这个过程又要求在主线程中,以同步的方式执行,否则无法成功进行修复。就DEX的加载时间,大概做了以下的时间测试。

通过上表可以看到,随着patch.dex的尺寸增加,在不做任何优化的情况下,启动时间也直线增长。对于一个应用来说,这简直是灾难性的。
2. 易造成应用的ANR和Crash
由于多DEX加载导致了启动时间变长,这样更容易引发应用的ANR。我们知道当应用在主线程等待超过5s以后,就会直接导致长时间无响应而退出。超级补丁技术为保证ART不出现地址错乱问题,需要将所有关联的类全部加入到补丁中,而微信Tinker采取一种差量包合并加载的方式,都会使要加载的DEX体积变得很大。这也很大程度上容易导致ANR情况的出现。
除了应用ANR以外,多DEX模式也同样很容易导致Crash情况的出现。在ART设备中为了保证不出现地址错乱,需要把修改类的所有相关类全部加入到补丁中,这里会出现一个问题,为了保证补丁包的体积最小,能否保证引入全部的关联类而不引入无关的类呢?一旦没有引入关联的类,就会出现以下的异常:
- NoClassDefFoundError
- Could Not Find Class
- Could Not Find Method
出现这些异常,就会直接导致应用的Crash退出。
所以,不难看出如果我们需要修复一个不是Crash的BUG,但是因为未加入相关类而导致了更严重的Crash,就更加的得不偿失。
总的来说,热修复本质的目的是为了保证应用更加稳定,而不是为了更强大的功能引入更大的风险和不稳定性。
二、 热修复 or 插件化?
我们经常提到热修复和插件化,这都是当下热门的新兴技术。在讲述之前,需要对这两个概念进行一下解释。
- 热修复:当线上应用出现紧急BUG,为了避免重新发版,并且保证修复的及时性而进行的一项在线推送补丁的修复方案。
- 插件化:一个程序划分为不同的部分,以插件的形式加载到应用中去,本质上它使用的技术还是热修复技术,只是加入了更多工程实践,让它支持大规模的代码更新以及资源和SO包的更新。
显然,从概念上我们可以看到,插件化使用场景更多是功能上的,热修复强调微小的修复。从这个层面来说,插件化必然功能更加强大,能做的事情也更多。QQ空间超级补丁技术和微信Tinker从类、资源的替换和更新上来看,与其说是热修复,不如说是插件化技术的实践。
QQ空间超级补丁技术和微信Tinker提供了更加强大的功能,但是对应用的性能和稳定有较大的影响,就BUG修复的这个使用场景上还不够明确,并且显得过重。
针对应用的性能损耗,我们可以举例做一个对比:
某APP的启动载入时间为3s左右,本身就是基于多DEX模式的实现。
分别接入三种热修复服务,根据腾讯提供超级补丁技术和Tinker的数据,那么会变成以下的场景:
1. 阿里百川HotFix:启动时间几乎无增加,不增加运行期额外的磁盘消耗。
2. QQ空间超级补丁技术:如果应用有700个类,启动耗时增加超过2.5s,达到5.5s以上。
3. 微信Tinker:假设应用有5个DEX文件,分别修改了这5个DEX,产生5个patch.dex文件,就要进行5次的patch合并动作,假设每个补丁1M,那么就要多占用7.5M的磁盘空间。
显然对于修复紧急BUG这个场景,阿里百川HotFix的更为合适,它更加轻量,可以在不重启的情况下生效,且对性能几乎没有影响。
找了很多资料加上看各种文章源码写完这个文章,很多地方的了解不是那么深入,很多东西也是拾人牙慧,希望大家批评指正。
|
参考自:
|