开源智慧巡检——无人机油田AI视频监控的未来之力

317 阅读4分钟

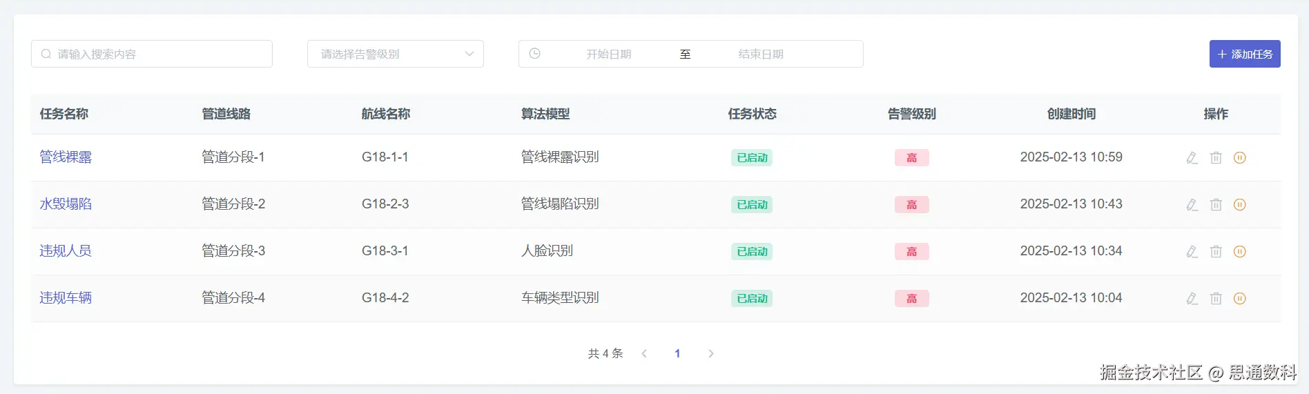
油田巡检,关乎能源命脉,却常受困于广袤地形、高危环境和人工效率瓶颈。管道泄漏、设备故障、非法闯入——这些隐患稍有疏忽,便可能酿成大患。传统巡检已无法满足现代油田对安全与效率的需求,而无人机油田巡检系统正以智能化之力重塑行业格局!集成无人机硬件与AI视频监控技术,这套系统为油田管理者带来前所未有的掌控力,守护每一寸设施安全,助力能源产业高效运转。加入这场技术革命,让智慧巡检成为油田的坚实后盾!

解决方案亮点:智能驱动,精准防控

1. 全域覆盖的无人机巡检

- 亮点:搭载高分辨率摄像头、红外热像仪和气体传感器,无人机实现广域巡检,轻松应对复杂地形。

- 技术:支持多旋翼与固定翼无人机,覆盖半径达数十公里,采集高清晰图像、热成像和气体浓度数据,数据传输延迟低至100毫秒。

- 优势:相比人工巡检,覆盖率提升10倍,单次任务可扫描数千米管道,彻底告别盲区。

2. AI视觉计算,实时异常识别

- 亮点:人工智能实时分析视频与传感器数据,精准捕捉隐患。

- 技术:基于YOLOv9和深度神经网络,识别管道腐蚀、阀门泄漏、气体异常和人员闯入,准确率达98%。红外热成像辅助夜间与恶劣天气巡检,误报率低于1%。

- 优势:从数据采集到异常检测仅需秒级,远超人工判断速度,确保隐患无处遁形。

3. 即时报警与数据支持

- 亮点:异常发生时,系统自动推送报警,提供详尽证据。

- 技术:结合5G通信与边缘计算,报警信息(含位置坐标、图像、视频片段)实时送达控制中心。支持多级报警机制,严重事件直接语音通知。

- 优势:响应时间缩短至1分钟以内,决策效率提升80%,为紧急处置赢得先机。

4. 集中化管理平台,掌控全局

- 亮点:整合巡检数据,构建可视化管理中枢。

- 技术:基于开源框架(如TensorFlow、Kubernetes),平台支持实时监控、历史回溯与任务调度。热力图展示隐患分布,趋势分析预测故障高发区域。

- 优势:管理者可远程查看多油田状态,巡检频次提升3倍,数据存储支持长达5年回溯。

5. 开源赋能,灵活定制

- 亮点:开源技术降低成本,满足个性化需求。

- 技术:用户可通过API扩展功能(如新增地质灾害检测),或训练专属AI模型适配特定油田环境。

- 优势:部署成本降低30%,二次开发周期缩短50%,确保系统与业务无缝契合。

用户价值:安全、效率、信心的三重提升

- 安全保障:AI实时监控,管道泄漏与设备故障检出率提升至99%,安全事故发生率降低70%,守护油田与人员生命安全。

- 效率飞跃:无人机替代人工,巡检成本降低60%,单日覆盖面积扩大10倍,释放人力资源用于更高价值任务。

- 运营优化:数据分析洞察设备健康趋势,预测性维护减少停机损失,整体运营效率提升40%。

- 行业信任:透明的巡检记录与快速响应能力,增强监管机构与合作伙伴信心,助力企业树立行业标杆。

应用场景:点燃油田智慧未来

- 海上油田:无人机巡检平台与管道,识别腐蚀与泄漏,保障能源运输安全。

- 沙漠油田:覆盖广袤无人区,检测设备过热与沙尘覆盖,提升运行稳定性。

- 城市近郊油田:监控人员闯入与环境风险,保护周边社区安全。

- 老旧油田改造:分析设备老化趋势,优化升级计划,延长资产寿命。

我们的AI视频监控系统是一个开源项目,免费提供给所有用户。您可以通过以下链接访问并下载项目源代码:gitee.com/stonedtx/st…

更多咨询(请在咨询的时候说明您需要咨询的产品是AI视频监控):