年底了,骗子也来“诈骗”苹果开发者了~

2,000 阅读2分钟

前言

年关将至,骗子也开始营业了。本来以为是极个别现象,结果发现很多同行也收到了相同的“炸鱼”邮件。

再次请各位同行看到任何Apple相关的邮件,都不要过于紧张,谨防上当受骗!

还有这张风靡开发者社群的网图:

WX20241210-153819@2x.png

诈骗邮件附图

诈骗邮件(一)

81501733813630_.pic.jpg

诈骗邮件(2)

951732496981_.pic.jpg

甄别方法

1.检查邮件来源

比如其中一封邮件:

image.png

观察仔细的小伙伴就会发现,在appstore后边增加一个破折号。而正确的邮箱应该为no_reply@email.apple.com,如果是投诉或者封号,那么邮箱为AppStoreNotices@apple.com

2.邮件内容

首先中文的邮件不用考虑,因为苹果不可能发中文的邮件给中国大陆区的开发者,从来没有遇到过! 其次,多次提及的内容

1.Do you use a VPN service to access your Apple account or developer account?
2.Have you given anyone else access to your Apple account or your developeraccount?
3.Did you travel to another country and use your device to access your Apple accountor your developer account?

翻译内容:

1.你是否使用VPN服务来访问你的苹果账户或开发者账户?

2.你是否允许其他人访问你的苹果账户或开发者账户?

3.你是否去了另一个国家并使用你的设备访问你的苹果账户你的开发者账户?

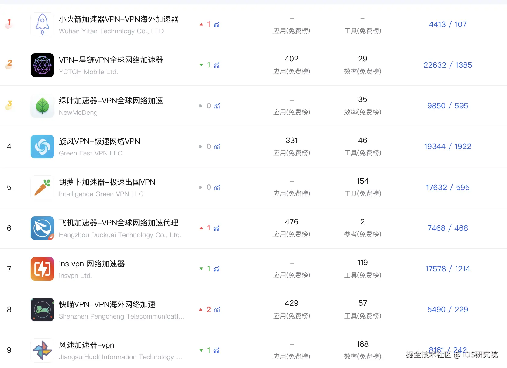
这几点信息也好破解,我们只需要搜一下Appstore中VPN相关的内容,即可破解。

image.png

如果这种行为不被允许,那么最简单粗暴的行为在中国大陆区无法搜索到此类产品。所以既然可以搜索的到,那么大家也不必信以为真。

最后

快过年了,也请大家多多提防各种形式的“诈骗”行为,保护好自己的钱袋子,开开心心的过个好年。 保护自己的账号,不要被此类邮件蒙蔽双眼!千万别让苹果在升级对于大陆区开发者账号的监察力度!

遵守规则,方得长治久安,最后祝大家大吉大利,今晚过审!