选择镜像 CentOS 64位 CentOS7.9.64位
- 选中 免费分配独立公网IP
创建software文件夹 上传需要的软件
mkdir /software
创建java
mkdir /usr/java
-
查找java 包
yum list java*
-
安装jdk
选择 java-1.8.0-openjdk.x86_64
yum install java-1.8.0-openjdk.x86_64
yum 安装的是 openjdk 版本的java 环境。
而我需要的环境是 java version 就需要手动上传了。
-
手动搭建java 环境
参考:cloud.tencent.com/document/pr…
-
运行jar包
nohup java -jar XXX.jar &
使用这种方式运行的程序日志会输出到当前目录下的nohup.out文件,使用ctrl+c中断或者关闭窗口都不会中断程序的执行
-
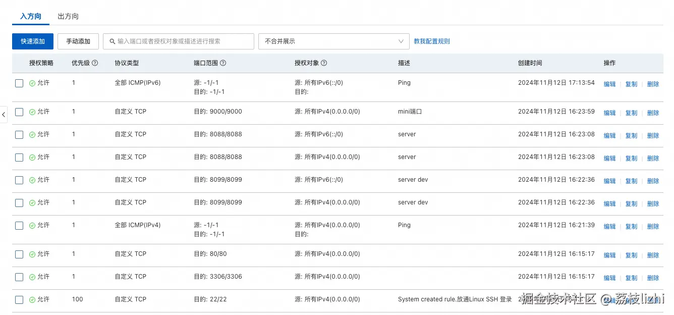
安全组,防火墙规则示例

-
阿里云 安全组
停止服务
方法一:通过端口号查找(如果你知道程序使用的端口)
lsof -i :端口号
kill -9

