在计算机中,锁是协调多个进程或线程并发访问某一资源的一种机制。在数据库当中,数据也是一种供许多用户共享访问的资源。如何保证数据并发访问的一致性、有效性,是所有数据库必须解决的一个问题,锁的冲突也是影响数据库并发访问性能的一个重要因素。
贯穿始终的MDL锁
- 什么是
MDL锁?
MDL锁的全称是Meta Data Lock,即元数据锁。它是MySQL内置级别的锁,供MySQL预防共享资源冲突的场景。
MDL锁的类型:
| 锁名称 | 简称 | 锁类型 | 说明 | 使用语句 |
|---|---|---|---|---|
| MDL_INTENTION_EXCLUSIVE | S锁 | 意向锁,锁住一个范围 | 任何语句都会获取MDL意向锁,然后再获取更强级别的MDL锁。 | |
| MDL_SHARED | S | S锁 | 共享锁,表示只访问表结构 | |
| MDL_SHARED_HIGH_PRIO | SH | S锁 | 共享锁,只访问表结构 | show create table 等 只访问INFORMATION_SCHEMA的语句 |
| MDL_SHARED_READ | SR | S锁 | 访问表结构并且读表数据 | select语句 LOCK TABLE ... READ |
| MDL_SHARED_WRITE | SW | S锁 | SELECT ... FOR UPDATE DML语句 |
|
| MDL_SHARED_UPGRADABLE | SU | S锁 | 可升级锁,访问表结构并且读写表数据 | Alter语句中间过程会使用 |
| MDL_SHARED_NO_WRITE | SNW | S锁 | 可升级锁,访问表结构并且读写表数据,并且禁止其它事务写。 | Alter语句中间过程会使用 |
| MDL_SHARED_NO_READ_WRITE | SNRW | S锁 | 可升级锁,访问表结构并且读写表数据,并且禁止其它事务读写。 | LOCK TABLES ... WRITE |
| MDL_EXCLUSIVE | X | X锁 | 禁止其它事务读写。 | CREATE/DROP/RENAME TABLE等DDL语句。 |
S锁代表共享锁,X锁代表排他锁。
MDL的兼容性矩阵(对象维度)
| Request type | S | SH | SR | SW | SU | SNW | SNRW | X |
|---|---|---|---|---|---|---|---|---|
| S | ✔️ | ✔️ | ✔️ | ✔️ | ✔️ | ✔️ | ✔️ | ✘ |
| SH | ✔️ | ✔️ | ✔️ | ✔️ | ✔️ | ✔️ | ✔️ | ✘ |
| SR | ✔️ | ✔️ | ✔️ | ✔️ | ✔️ | ✔️ | ✘ | ✘ |
| SW | ✔️ | ✔️ | ✔️ | ✔️ | ✔️ | ✘ | ✘ | ✘ |
| SU | ✔️ | ✔️ | ✔️ | ✔️ | ✘ | ✘ | ✘ | ✘ |
| SNW | ✔️ | ✔️ | ✔️ | ✘ | ✘ | ✘ | ✘ | ✘ |
| SNRW | ✔️ | ✔️ | ✘ | ✘ | ✘ | ✘ | ✘ | ✘ |
| X | ✘ | ✘ | ✘ | ✘ | ✘ | ✘ | ✘ | ✘ |
横向表示其它事务已经持有的锁,纵向表示事务想加的锁。
- 按对象/范围维度划分
| 属性 | 含义 | 范围/对象 |
|---|---|---|
| GLOBAL | 全局锁 | 范围 |
| COMMIT | 提交保护锁 | 范围 |
| SCHEMA | 库锁 | 对象 |
| TABLE | 表锁 | 对象 |
| FUNCTION | 函数锁 | 对象 |
| PROCEDURE | 存储过程锁 | 对象 |
| TRIGGER | 触发器锁 | 对象 |
| EVENT | 事件锁 | 对象 |
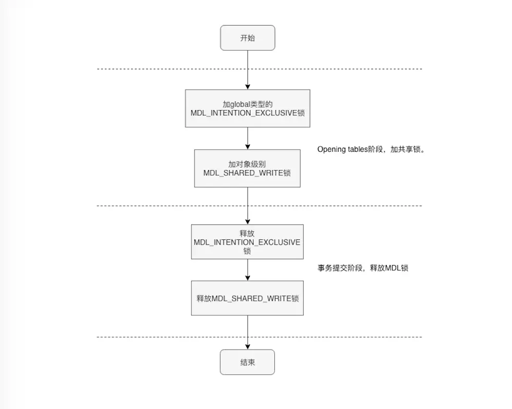
- 几种典型语句的加(释放)锁流程图
select语句操作MDL锁流程DML语句操作MDL锁流程alter操作MDL锁流程
- 几种典型语句的阻塞分析
注:
DML(UPDATE、INSERT、DELETE);DDL(CREATE、ALTER、DROP);DQL(SELECT)。
select与alter是否会相互阻塞
当执行
select语句时,只要select语句在获取MDL_SHARED_READ锁之前,alter没有执行到rename阶段,那么select获取MDL_SHARED_READ锁成功,后续有alter执行到rename阶段,请求MDL_EXCLUSIVE锁时,就会被阻塞。
DML与alter是否会相互阻塞
alter在opening阶段会将锁升级到MDL_SHARED_NO_WRITE,rename阶段再将升级为MDL_EXCLUSIVE,由于MDL_SHARED_NO_WRITE与MDL_SHARED_WRITE互斥,所以先执行alter或先执行DML语句,都会导致语句阻塞在opening tables阶段。
select与DML是否会相互阻塞
由于
MDL_SHARED_WRITE与MDL_SHARED_READ兼容,所以它们不会因为MDL而导致等待的情况。
按锁的范围划分
全局锁
- 全局锁(FTWRL)是对整个数据库实例加锁
- 加锁使用命令:
flush tables with read lock;- 释放锁:
unlock tables - 加锁流程:
- 上全局读锁(lock_global_read_lock):所有更新操作都会被堵塞
- 清理表缓存
- 关闭所有未使用的表对象
- 更新全局字典的版本号
- 对于在使用的表对象,逐一检查,若表还在使用中,调用MDL_wait::timed_wait进行等待
- 将等待对象关联到table_cache对象中
- 继续遍历使用的表对象
- 直到所有表都不再使用,则关闭成功。
- 上全局COMMIT锁(make_global_read_lock_block_commit):会堵塞活跃事务提交
全局锁的典型使用场景是,做全库逻辑备份。把整库每个表都select出来存成文本。如果不加锁会不会出现问题呢?
| 表数据变更状态 | 备份状态 |
|---|---|
| account表a用户有200元余额account(a,200) course表没有任何数据 |
|
| 备份account表 得到account(a,200) | |
| 用户买了一门Java课,花了100元。 | |
| account表a用户有100元余额 course表数据为course(a,java) |
|
| 这个时候我备份跑到course表了,那么备份结果就是course(a,java) |
得到最终备份结果便是account(a,200) course(a,java),这显然是不对的,因为不加锁的话中间有业务变更,所得数据是不一致。
- 按照上面说的,我们只需要备份开始,如果数据库的引擎是
InnoDB,隔离级别在RR下,开启个事务,就能拿到一致性视图。 MySQL官方提供的备份工具mysqldump
当
mysqldump使用参数–single-transaction的时候,导数据之前就会启动一个事务,来确保拿到一致性视图。
表级锁
MySQL里面表级别的锁有两种:一种是表锁,一种是MDL锁(TABLE范围)。
- 表锁的语法是
lock tables … read/write。与 FTWRL 类似,可以用unlock tables主动释放锁,也可以在客户端断开的时候自动释放。 MDL锁,当属性为TABLE,作用范围为表级别的时候,它也是一把表锁。正如我们上面几种典型语句的加(释放)锁分析的过程中那样。它不需要显示的使用,因为MySQL会根据你的执行语句来分析是否加锁和加何种锁。
行锁(Record Lock)
-
行锁的功与过
- 两阶段锁协议
两阶段锁协议:在
InnoDB事务中,行锁是需要时候才加锁,但不会不需要了就释放掉,而是等待事务提交结束时才释放。- 根据行锁的两阶段锁协议特性优化代码
如图多个用户都点击下单的时候,产生锁竞争的主要场所是影院账户余额新增票价,两阶段锁协议特性是事务结束才释放锁,那么将这步骤放在最后是锁暂用时间最短。
- 死锁问题
| 事务A | 事务B |
|---|---|
| update t set k = k+1 where id = 1; | |
| update t set k = k+3 where id = 2; | |
| update t set k = k+1 where id = 2; | |
| update t set k = k+5 where id = 1; |
上面会出现死锁,解决方式便是按顺序加锁来避免死锁。
| 事务A | 事务B |
|---|---|
| update t set k = k+1 where id = 1; | |
| update t set k = k+3 where id = 1; | |
| update t set k = k+1 where id = 2; | |
| update t set k = k+5 where id = 2; |
- 行锁的类别
- 读锁(S)
- 写锁(X)
- 行锁的加锁策略
对于
insert,update,delete操作,InnoDB会自动给涉及到的数据加排他锁,只有select需要我们手动设置加锁级别。
- 行锁的加锁语句
-- 读锁(S锁)
select * from t where id = 1 lock in share mode;
-- 写锁(X锁)
select * from t where id = 1 for update;
Record Lock、Gap Lock与Next-Key Lock加锁图析
- 回顾下
InnoDB的主键索引和辅助索引 主键索引(聚簇)
Record Lock加锁策略
对于主键索引,会在主键索引标上锁标记。对于普通索引,不只在普通索引标上锁标记,而且也会在主键索引标上。
Gap Lock加锁策略
间隙锁它锁的是索引与索引之间的间隙。
Next-Key Lock加锁策略
由图可以发现
Next-Key Lock等于Record Lock加上Gap Lock。左开右闭。
Next-Key Lock的需要知道的几个小事
- 两原则、两优化
原则1:加锁的基本单位是Next-Key Lock。 原则2:查找过程中访问到的对象才会加锁。 优化1:索引上的等值查询,给唯一索引加锁的时候,Next-Key Lock退化为行锁。 优化2:索引上的等值查询,向右遍历时且最后一个值不满足等值条件的时候,Next-Key Lock退化为间隙锁。
写到这,需要明确一个事儿,
Next-Key Lock是InnoDB RR隔离级别下的锁,是内置锁,是MySQL帮我解决某种场景锁引入的锁,那么这个场景是什么?其实它想解决的是某种情况下的幻读场景。
幻读场景分析
幻读仅专指“新插入的行”
- 当前读场景下的幻读 表t的结构与数据
| id | c | d(key) |
|---|---|---|
| 0 | 0 | 0 |
| 5 | 5 | 5 |
| 10 | 10 | 10 |
| 15 | 15 | 15 |
| 20 | 20 | 20 |
| 25 | 25 | 25 |
再看下面这个场景:
| session A | sessionB | |
|---|---|---|
| T1 | begin; update t set d=100 where d=5 |
|
| T2 | insert into t values(1,1,5); | |
| T3 | commit; |
- 为什么这种情况会被称为幻读,幻读有什么问题?
- 语义上问题:
select * from t where d = 5 for update
因为本想锁住d=5,这句话的语义被破坏了,“新插入”了一行新的d=5的数据(1,1,5)。
- 数据一致性的问题: 上面的情况执行结果:
| id | c | d(key) |
|---|---|---|
| 0 | 0 | 0 |
| 5 | 5 | 100 |
| 10 | 10 | 10 |
| 15 | 15 | 15 |
| 20 | 20 | 20 |
| 25 | 25 | 25 |
| 1 | 1 | 5 |
我们再分析下bin log中的记录内容
insert into t values(1,1,5);
update t set d=100 where d=5;
可以发现
bin log发生与原执行不同的结果,出现了数据不一致。为了解决这个问题,InnoDB RR级别下,行锁并不会阻止当前读情况下的幻读问题,才引入了上面所提到的Next-Key Lock。
写到这,还需要明确的一件事
Next-Key Lock只会阻止往当前范围的insert动作。而且间隙锁是内置锁,InnoDB RR级别的行锁默认加的。