OpenGL 深度测试(Depth-buffur)

1,889 阅读2分钟

深度: 像素点在3D世界中距离观察者的距离,也就是Z值 深度缓冲区: 是内存中的一块区域,这个区域专门存储每个像素点的深度信值信息。深度值越大,说明了该像素点距离观察者的位置越远。

深度测试所解决的问题

在不用深度测试的时候,如果我们先绘制一个距离比较近的物体,再绘制距离较远的物体,则距离远的位图因为后绘制,会把距离近的物体覆盖掉. 有了深度缓冲区后,绘制物体的顺序就不那么重要了. 实际上,只要存在深度缓冲区,OpenGL 都会把像素的深度值写入到缓冲区中. 除非调用 glDepthMask(GL_FALSE)来禁⽌止写⼊

深度测试

深度缓冲区颜色缓冲区是对应的,更改其中一个缓冲区像素点的信息,另一个缓冲区的对应像素点信息也会随着更新。颜色缓冲区存储着像素点的颜色信息,深度缓冲区存储着像素的深度信息。 深度测试在绘制一个物体表面时,先将表面对应的像素深度值与当前深度信息缓冲区的值进行比较,如果大于当前缓冲区的值,则舍弃,不更新该像素点深度信息。否则利用这个像素对应的深度值和颜色值.分别更新深度缓冲区和颜色缓存区. 这个过程称为深度测试 深度缓冲区,⼀一般由窗口管理系统,GLFW创建.深度值⼀一般由16位,24位,32位值表示. 通常是24位.位数越高,深度精确度更好

使用深度测试

开启深度测试
glEnable(GL_DEPTH_TEST);

在绘制场景前,清除颜色缓存区,深度缓冲
glClearColor(0.0f,0.0f,0.0f,1.0f);
glClear(GL_COLOR_BUFFER_BIT | GL_DEPTH_BUFFER_BIT);

清除深度缓冲区默认值为1.0,表示最大的深度值,深度值的范围为(0,1)之间. 值越小表示越靠近观察者,值越大表示 越远离观察者

打开阻断深度缓冲区写入
void glDepthMask(GLBool value);
value : GL_TURE 开启深度缓冲区写⼊入; GL_FALSE 关闭深度缓冲区写⼊入

/指定深度测试判断模式
void glDepthFunc(GLEnum mode);
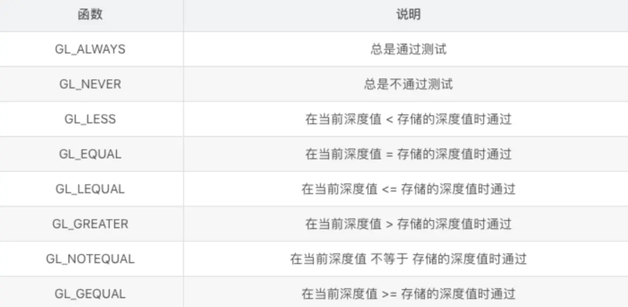
mode:GL_LESS(常用)   
其他模式如下图所示

深度测试判断模式